Сообщество - Сообщество Ремонтёров

Сообщество Ремонтёров

8 097 постов 44 151 подписчик

Популярные теги в сообществе:

22

Сообщество Ремонтёров! Нужна ваша помощь

Приветствую тебя пикабушник. Случилась у меня неприятность с ноутбуком. Перестал работать один сегмент в светодиодной подсветке матрицы. Ремонтные мастерские города обещали отремонтировать мой ноутбук полной заменой матрицы. На мое замечание что матрица мол целая нужно заменить лишь гибкий шлейф со светодиодами, мастера твердили мне что это нереально и вообще никто этим заниматься не будет. На просьбу подарить/продать за недорого битую матрицу с целой подсветкой был мягко послан на три буквы.

В общем взываю к силе пикабу. Необходима битая 13.3" матрица: B133XW01 v.1 с рабочей подсветкой. Если у кого-нибудь есть данная матрица и кому не жалко поделиться буду благодарен. По необходимости готов оплатить пересылку. Живу в Беларуси.

В случае успеха обещаю запилить пост про такой ремонт ноутбука.

Сообщество Ремонтёров! Нужна ваша помощь
165

Не включается ноутбук Dell Adamo Thirteen.

Принес мне в ремонтики, дорогой наш пикабушник @smg500, ноутбук, с просьбой починить.


Многие задают мне одни и те же вопросы, что я в постах своих писал. Я, естественно понимаю, что многие не видели моих постов. По-этому я просто буду оставлять ссылку на свои посты (внизу страницы можно переходить на предыдущие страницы с моими постами).

http://pikabu.ru/profile/gepka


Ноутбуки беру только из Питера, ну или вы сами, через кого-то передадите. Много возни с ними на почте... Курьерские службы тоже не прокатят, ибо они приносят тогда, когда им удобно, а не мне...


Вот письмо от него:

"Здравствуйте. Читаю Ваши посты на Пикабу про ремонт всякой техники.

Можно ли Вам привезти ноутбук на диагностику и возможно на ремонт?


Ноутбук Dell Adamo Thirteen. Не включается. При подключённом БП горит

лампочка зарядки. При нажатии кнопки питания на несколько секунд

загорается клавиатура и затем гаснет. Со снятой батареей происходит

тоже самое."

Вот такой ноут.

Вот такая у него батарейка.

Вот его потрАшки из интрернетов. Гребаный андроид сделал фотки в 0 Кб, зараза. По-этому потрАшки интернетовские.

Подсоединяем зарядку, нажимаем вкл. Ноут запускается секунды на 2 и вырубается. При прощупывании пальцем на материнке, на наличие чего-нибудь нагревающегося, было найдено, что вот эта хрень очень сильно греется.

По маркировке на корпусе понятно, что это банально диодная сборка.

Берем и меняем ее. Фотки опять же 0 Кб...


Теперь перестало греться.

Ноут все равно не стартовал, ну почти. Если крышку ноута чуть приподнять, то ноут стартует и нормально винда запускается. Стоит открыть ее больше чем на 90 градусов, ноут сразу вырубался и не запускался, пока крышку обратно не захлопнуть... Дело ясное, что дело в шлейфе матрицы, ну или плата отгибается и что то коротит...

Вот фотка потрАшков материнки с другой стороны.

Забавно, но заглушка петель крышки на магнитных фиксаторах.

Видно, что шлейф матрицы распотрАшился...

При открытии крышки, лохмотья замыкались либо между собой, либо на корпус. От чего ноут и вырубался.

Шлейф матрицы хрен где купишь, он продается, но в наличии нет... Хозяин говорил, что видел такой же ноут на раздербанку в Краснодаре за 7 тыров...

Берем и подложим бумажку... Шучу, конечно. Капельку супер клея в лохмотья нальем. Подождем пока отвердеет и проверим "на соплях". Работает. Соберем ноут окончательно.

Ноут уже пытались ранее разбирать в каком то СЦ. Экран приклеен и матрица склеена со стеклом клеем. Нужно было прогреть по периметру и только потом снять экран, но похоже, что просто его расковыряли и так... Теперь поможет либо прогреть клей и выдавить пузыри, либо полная переклейка матрицы со стеклом.

Все работает, все шуршит и ноут теперь стартует, и не вырубается, как бы по штатному не оттопырил крышку.


Напомню, уважаемые пикабушники, что я не в Сервисном Центре (СЦ) работаю. Это у меня хобби такое, ремонтить разные электронные штуки...

Показать полностью 13

Убираем многорежимность фонаря UltraFire

Привет. Наверное у многих есть данные фонари, у которых есть 3/5/100500 режимов, которые переключаются полунажатием?

Многие их ставят на велосипеды в качестве фар, но быстро снимают или не используют, так как на любых ямах/кочках/прыжках переключатся режим(хорошо, если их 3 и они просто переключают яркость). У меня была похожая проблема. Особенно бесит, когда с минимального режима переключается на стробоскоп, а потом на SOS.

Сегодня мы его "починим" и уберём лишние режимы, оставив максимальный.


Необходимый лвл паяния: начальный(уметь приложить паяльник к проводу)

Затраченное время: 5 минут

Что необходимо: паяльник, флюс, какие-нибудь зажимы(для удобства)


Сначала текст, потом картинка.

Первое, что необходимо - снять головку фонаря и разобрать её. В этом нет ничего сложного и поэтому данный этап я не фотографировал. Нам нужна плата, которая подцепляется за края какими-нибудь ножницами. Так она выглядит с завода:

У нас есть "LED+", "LED-" и некий контакт около резистора 10k.

Сначала отпаяем LED+:

Плата выглядит ужасно, потому что я тупил и пытался запаять LED- во все контакты и места, что я видел(даже к пружине с другой стороны). После я посмотрел на батарейку, которая в корпусе фонаря и всё понял. В частости я понял то, что я - чудак на букву М.

Следующим шагом необходимо его подпаять к другому контакту, который ведёт сразу на пружинку:

Получаем, что мы отпаялись от LED+ и впаялись в пружинку напрямую, минуя этот драйвер с его режимами.

Собираем назад голову:

Не забываем про большую пружинку. Забыв её, я удивился неработающему фонарю.

Всю эту байду вкручиваем назад:

Включаем и радуемся:

Как видно по аццкому затемнению всего вокруг - фонарь работает на всю и телефон скорректировал экспозицию по фонарю. Так же я имитировал кочки, "роняя" велосипед на пол. Фонарик всё равно теряет контакт("подмигивает"), но уже не переключает режимы, а просто светит в самом ярком режиме.


Но у этой конструкции и есть пара минусов:

1. Быстрее садится батарея. Придётся чаще заряжать.

2. Светодиод греется сильнее(хотя на улице это некритично. Он будет остывать обдуваемым воздухом)

Показать полностью 9
162

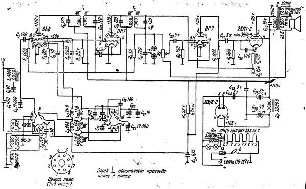
Реставрация и ремонт радиоприемника «Рекорд» 1945 года

Предыдущие выпуски:

Телевизор КВН-49 - по просьбам фанатов Fallout’a сделано видео


Всем привет! Поскольку после прошлого поста на меня подписалось достаточно много человек, я решил сделать серию постов, посвященных ремонту старинной техники самых разных эпох. Каждый пост будет содержать не только описание того, как я восстанавливал конкретный аппарат, но и обзор модели с акцентом на особенностях конструкции, эксплуатации, новшествах по сравнению с предыдущими моделями, ролью аппарата в истории. Кроме того, время от времени будут посты с рассказами о развитии отдельных видов комплектующих и других, связанных с бытовой техникой, вещей (например, грампластинок) – эти посты будут публиковаться не в сообществе, отдельно.


Сегодня на ремонте-обзоре ламповый радиоприемник «Рекорд» 1945 года выпуска, одна из первых моделей радиоприемников (а, возможно, и первая) послевоенного времени.

Первые предсерийные образцы этого типа имели более симпатичный корпус, но, по каким-то причинам, в серию он пошел не сразу, и первые несколько месяцев радиоприемник выпускался в сильно упрощенном, по сути, ящике, как у меня: сколоченный из кусочков простой листовой фанеры и тупо покрашенный зеленой краской. Лишь в 1946 году завод освоил производство корпусов, предполагавшихся изначально (фото из сети):

Несмотря на примитивнейший внешний вид, по своей конструкции и схеме радиоприемник «Рекорд» можно назвать шагом вперед для советской радиопромышленности, поскольку аналогов среди довоенных аппаратов ему не было. Все выпускавшиеся в СССР до войны радиоприемники можно разделить на две большие группы: производившиеся по лицензии точные копии американских и европейских моделей и модели собственной, советской разработки. Аппараты с американскими «корнями» были роскошными, громоздкими, сложными и, как следствие, неподъемными для кошелька простых граждан. Исконно советские же, наоборот, были недорогими, но примитивными и морально устаревшими.


Новый «Рекорд» получился дешевым, компактным, но при этом имел три диапазона (ДВ, СВ, КВ), был достаточно надежен и не на много отставал от дорогих довоенных «американцев» по качеству работы. Но полностью отечественной разработку назвать нельзя: компоновка и многие схемные решения были заимствованы у моделей фирм «Siemens» и «Tesla».


«Рекорд» образца 1945 года положил начало популярнейшей в стране линейке ламповых радиоприемников и радиол марки «Рекорд», выпускавшихся с учетом всех модернизаций до начала 1980-х годов. Однако, конкретно эта модель выпускалась недолго, до 1947 года, так как в силу своей "новизны" имела ряд недостатков, устраненных в последующих моделях. Всего было выпущено около 100 тысяч радиоприемников этого типа.  


Схема радиоприемника пятиламповая. Ручек управления три: громкость, совмещенная с выключателем питания, настройка и переключение диапазона.

Особенностью здесь является так называемое бестрансформаторное питание. Суть - в исключении ради экономии дефицитной меди сетевого трансформатора, формирующего анодное напряжение и напряжение накала ламп. Вместо этого, анодное напряжение бралось прямо из сети, а нити накала ламп соединялись последовательно вместе с лампочками подсветки шкалы и также включались прямо в сеть. Такое решение было очень популярно после войны в Западной Европе, но у нас не прижилось: кроме «Рекорда» по такой схеме была сделана лишь еще одна модель, «Москвич». Специально для них выпускались лампы 25П1С и 30Ц6С – с низким анодным напряжением и накалом 25-30 вольт. Также, из-за бестрансформаторного питания, «Рекорд» можно включать лишь в сеть с напряжением  127В. Что, впрочем, в 1945 году существенным недостатком не было, так как 220В в розетке тогда еще было редкостью.


Элементная база, на которой выполнен радиоприемник «Рекорд», идентична использовавшейся в последних довоенных радиоприемниках: бумажные конденсаторы БК, слюдяные конденсаторы «типа О», резисторы ТО, электролитические конденсаторы С, регулятор громкости ТК. Все они были скопированы с их американских аналогов.

Радиолампы - также копии американских ламп 30-х годов.


Что ж, перейдем к ремонту и начнем с корпуса. Состояние до реставрации было весьма плачевное. Долгое время он явно хранился в неотапливаемом помещении: фанера рассохлась, краска облупилась.

Но, благодаря простоте конструкции, корпус удалось полностью сохранить и восстановить в первозданном виде. Расслоившуюся фанеру я склеил обратно столярным клеем, а там, где это не удалось, обломал отслоившиеся слои и с помощью эпоксидного клея выровнял все образовавшиеся неровности. Затем - грунтовка и покраска.

Ткань тоже удалось сохранить оригинальную, просто постирал и покрасил.

Шкала настройки была утеряна, но, к счастью, в Луганске живет рукастый человек, изготавливающий в своей мастерской шкалы для радиоприемников на заказ. Он мне помог со шкалой.

Результат всех перечисленных трудов вы можете видеть на первой картинке поста)


Теперь – к «начинке». Так выглядело шасси до ремонта:

Снизу:

В целом, состояние шасси порадовало. Все его недостатки - это два более новых конденсатора КБГ-И, неродной электролитический конденсатор и неродные лампочки подсветки. Всё остальное полностью родное, сохранились все лампы, в том числе и редкие 30-вольтовые (на фото сняты).

Прозвонка тестером показала, что многие резисторы деградировали, их сопротивление выросло в несколько раз. К сожалению, это свойственно всем резисторам типа ТО. Для сохранения «аутентичности» я взял современные резисторы, вставил их в трубочки подходящего размера и покрасил в цветовую маркировку, соответствующую номиналу (кстати, система маркировки очень похожа на современную, но вскоре от нее отказались и стали писать номинал цифрами от руки).

Два «неродных» конденсатора КБГ-И я также заменил современными, замаскировав под тип БК.

Недостающие электролиты и лампочки подсветки нашел в своих запасах.

После всех описанных манипуляций и небольшой «чистки»:

Видеоролик, снятый сразу после восстановления работоспособности:

Всем спасибо за внимание, пока!


Специально для Pikabu.ru

Показать полностью 10 1
6

Прошу помощи с ремонтом флэшки

Была у меня флэшка (2 года назад), пока на одной вписке одно пьяное тело (не моё) не упало вдоль системного блока. Как результат: загнутый под градус абсента usb порт и оторванные площадки куда он крепился. Особо важной инфы там не было, да и флэшки нынче стоят не особо дорого, так что после недолгого тыканья паяльником пришло решение: Забить.

Так она и пролежала у меня на столе два года, периодически попадаясь на глаза. И вот, сегодняшним днём (во время подготовки к экзаменам) взгляд упал на неё. Как известно, в такое время, людям становится интересно разглядывать стены, не то что чинить старые флэшки. Так как опыта стало по-больше, смог восстановить площадки и припаять usb. Воткнул в комп и О, чудо! из порта не пошёл дым. Вместо этого, загорелся индикатор работы. К сожалению, просто загорелся (до этого подпаивал только питание и он не горел). В Диспетчере устройств она не определялась. Попытался переткнуть в другой порт, но индикатор больше не загорался не смотря на все мои потуги и даже перепаивание разъёма.

В данный момент я в полнейшем тупике, помогите советом, как можно заставить её работать


UDP0: она начала определяться как неизвестное устройство, индикатор всё равно не горит
UDP1: она опять перестала определяться совсем, чёрт её разберёт

Показать полностью
418

Рябит экран. "Никто в Тамбове не смог сделать" (с) хозяин аппарата.

Доброго времени суток, дорогие пикабушники!

Прислал мне в ремонтики, дорогой наш пикабушник, который является "свободным читателем" из Тамбова, с просьбой починить аппарат Jiayu G5S. Вот что он мне написал:

"добрый день пишу вам по поводу моей давней беды, год назад купил себе китайский телефон (очень понравился вид, сборка и конечно же цена) спустя три месяца стал плохо ловить сеть, отнес мастеру, он почистил контакты вроде помогло, но спустя еще какое то время перестал показывать экран, просто ребит и все, в итоге обошел практически все сервисные центры своего города и никто не берется его сделать, кто то руками разводит, говорит что все "хоккей" кто то вообще китайца смотреть не хочет, один парень посоветовал купить дисплей новый, а новый дисплей на него стоит огого, проще телефон купить новый, вот читаю ваши посты, пришла в голову идея попросить вас помочь мне с моей бедой..."

Да, экран в китайщине оригинальный стоит около 9,5 К рублей...

Вот посылочка пришла от него.

Вот так рябит экран. (фотка левая, забыл сфоткать)

ПотрАшка будут далее.

Если надавить на шлейф возле экрана, то становится вот таким.

Хехе, гифка вам в придачу.

Снимем экран от рамки.

РаспотрАшим экран. Снимем подсветку от матрицы экрана.

Красивая матрица под микроскопом...

-"и очень любопытно в чем же была причина?что не один мастер тамбова не смог починить" (с) хозяин аппарата.

Там, в одном месте, была трещина в проводнике на шлейфе. Пропаял (забыл сфоткать), проверил на соплях. GOOD.

Проклеиваем рамку скотчем 3М (три эм).

Собираем.

На всякий случай, в то место, где соединяется шлейф и стекло матрицы, я подложил бумажку, чтоб прижим был по-сильнее. Да, да. Куда же мы без бумажки то...

Вот потрАшка аппарата. И бумажка....

Теперь все работает как надо.

Снимаем со стеклянных накладок старую липкую ленту и проклеиваем скотчем ЗМ.

Наклеиваем и....

Написал хозяину:

-"Так... а кто вот это сделал? "(скинул фотки, которые ниже)

-"предполагаю эти хреновы мастера, которым носил в ремонт".


Выступ то я и не заметил, когда приклеивал. Вот стеклянная накладка и треснула...

Еще и антенну "порвали". Не порвали конечно, но надорвали. Не критично в общем.

Видно, что вскрывали ножом. Держали нож в левой ноге, так и пытались ногой вскрыть аппарат, лошары.

Все работает, все шуршит и экранчик теперь не колбасит.


Многие задают мне одни и те же вопросы, что я в постах своих писал. Я, естественно понимаю, что многие не видели моих постов. По-этому я просто буду оставлять ссылку на свои посты (внизу страницы можно переходить на предыдущие страницы с моими постами)

http://pikabu.ru/profile/gepka


Напомню, уважаемые пикабушники, что я не в Сервисном Центре (СЦ) работаю. Это у меня хобби такое, ремонтить разные электронные штуки...

Показать полностью 16
Отличная работа, все прочитано!