Обзор Академика на Tesla Model 3
От себя: довольно позитивный обзор (за некоторыми оговорками). С инфраструктурой в РФ пока проблемы, зарядные станции работают как-то откровенно криво. Но это дело времени.
От себя: довольно позитивный обзор (за некоторыми оговорками). С инфраструктурой в РФ пока проблемы, зарядные станции работают как-то откровенно криво. Но это дело времени.
Tesla объявила, что открывает новый завод, который будет называться Megafactory в Латропе, Калифорния. До сих пор Tesla производила аккумуляторы Powerwall, Powerpack и Megapack исключительно на Гигафабрике в Неваде. Но теперь компания собирается вывести географию производства на новый уровень.
Один блок Megapack имеет ёмкость до 3 МВтч, что примерно в 14 раз больше, чем у версии Powerpack (210 кВтч), применяющейся в качестве домашнего накопителя. Это, в свою очередь, обеспечивает возможность очень быстрого развёртывания. Благодаря этим батареям компания способна развернуть электростанцию на базе экологически чистых источников мощностью до 1 ГВт менее чем за 3 месяца. Это в 4 раза быстрее, чем требуется для возведения электростанций на базе ископаемого топлива аналогичной мощности.
Аккумуляторная система быстро стала чрезвычайно популярной для развертывания крупномасштабных проектов по хранению энергии, таких как проект по замене резервной газовой электростанции в округе Вентура и огромный проект мощностью 1 ГВт/ч в Северной Калифорнии. Сейчас компания завершает крупнейший в Великобритании проект по хранению энергии на 200 МВт•ч.
В прошлом месяце компания сообщила о доходах в размере $801 млн от своего энергетического бизнеса, включая солнечную энергию для домов и предприятий, что более чем на 60% больше, чем в прошлом квартале. Маск сообщал, что спрос Tesla на резервные батареи Powerwall для домов составил около 80 000. Он добавил, что компания сможет произвести в лучшем случае от 30 000 до 35 000 штук в течение третьего квартала и назвал причиной отставания нехватку чипов.
Подписывайтесь на сообщество Tesla, если вам интересны новости мира Tesla
Вот уже два года Tesla испытывает свои автомобили на немецкой трассе Нюрбургринг, но только сейчас Илон Маск впервые официально обнародовал результат заезда. Серийный трехмоторный электромобиль Tesla Model S Plaid (1020 л.с.) без каких-либо доработок («только с завода») проехал круг длиной 20,6 км за 7 минут и 30,909 секунды, показав среднюю скорость 166,32 км/ч. Это почти на 11 секунд быстрее седана Porsche Taycan Turbo (680 л.с.), который еще два года назад показал результат 7 минут и 42,34 секунды.
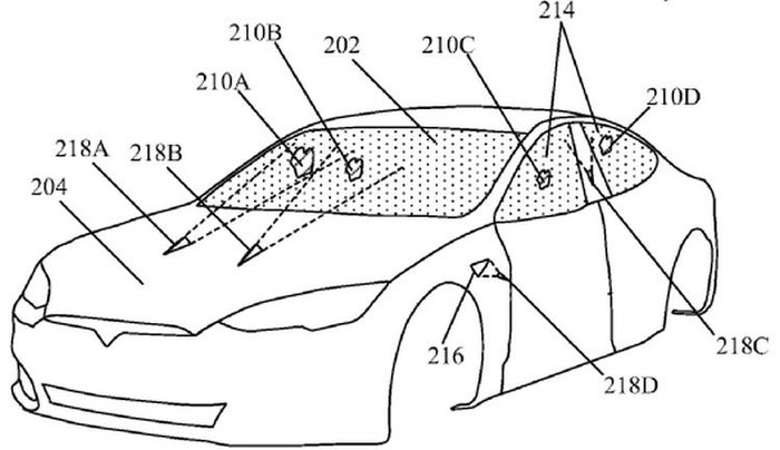
Стеклоочистители являются незаменимой, но довольно архаичной системой транспортных средств. Несомненно, они научились работать автоматически по команде датчика дождя, но в их конструкции мало что изменилось за последние десятилетия. Tesla пытается предложить инновационные методы очистки стёкол не только в автомобилях, но и в системах генерации электроэнергии при помощи солнечных панелей.
Соответствующий патент удалось обнаружить ресурсу Electrek в базе американского ведомства USPTO. Оно удовлетворило заявку Tesla на регистрацию патента, описывающего метод удаления загрязнений со стеклянной поверхности при помощи лазерных импульсов. Совокупность датчиков и излучателей, по замыслу американских инженеров, должна способствовать удалению загрязнений с отдельных областей ветрового стекла, посылая направленные импульсы лазерного излучения регулируемой мощности.
В патенте упоминаются и боковые стёкла электромобиля — нельзя исключать, что система очистки будет предусмотрена и для них. Одновременно Tesla предполагает использовать такую систему на солнечных панелях. Известно, что слой пыли и грязи способен существенно снизить эффективность работы солнечных батарей, поэтому в сфере энергетики описываемый патент может найти не менее актуальное применение.
Tesla также ранее подавала заявку на регистрацию патента, описывающего электромагнитный очиститель ветрового стекла в виде единой щётки, перемещающейся от левой стойки кузова к правой. У этой конструкции гораздо больше шансов на реализацию в серийных электромобилях, но Tesla привыкла удивлять публику смелыми техническими решениями, поэтому нельзя исключать, что и лазерной системе очистки найдётся достойное применение на практике. Кстати, это не первая попытка среди автопроизводителей заменить «дворники» более прогрессивными решениям. Ещё в прошлом веке компания Renault предлагала очищать стёкла автомобиля при помощи ультразвука.
via 3DNews
Подписывайтесь на сообщество Tesla, если вам интересны новости мира Tesla
Как сообщили во вторник местные СМИ, завод Tesla, который будет выпускать Supercharger V3 с высокой зарядной способностью (250 кВт) и возможностью восполнять 1600км дальности хода за час, в Шанхае был полностью завершен по состоянию на 20 августа 2021 года - на все работы потребовалось 7 месяцев. Предприятие, способное производить 10,000 станций Supercharger V3 в год, сыграет ключевую роль в активном расширении компанией своей сети быстрой зарядки.
Для сравнения, сеть Supercharger является крупнейшей сетью зарядных станций в мире с 25,000 пунктами для подзарядки. С заявленным производственным уровнем, только один этот завод сможет удвоить это значение уже к 2024г. И это при условии, что Tesla больше не будет строить заводы Supercharger V3. Если компания решится в какой-то момент расширить производство с аналогичными мощностями, то, скорее всего, это будет лишь вопрос времени, когда станции Tesla станут такими же распространенными, как заправочные станции сегодня.
Это было бы невероятно выгодно для компании, особенно с учетом того, что генеральный директор Илон Маск объявил, что Tesla откроет свою сеть для не-Tesla EV примерно в конце года. Чтобы избежать появления очередей на существующих точках, компания должна иметь возможность обеспечить постоянный прирост новых.
Следите за актуальными новостями в сообществе Tesla!
Во время недавней встречи генеральный директор Tesla Илон Маск представил некоторые обновления относительно одного из самых амбициозных автомобилей компании: компактного автомобиля стоимостью ~ $25,000. На встрече Маск пояснил, что предстоящее транспортное средство не будет называться “Model 2”, т.к. не было задумки так и Model 3 называть, но Ford в свое время запретил регистрировать товарный знак Model E. Сам автомобиль, который будет иметь к этому времени полный автопилот, должен производиться без рулевого колеса и педалей.
Также была названа довольно консервативная дата выпуска - 2023 год. Предыдущие отчеты из Китая намекают на то, что работа над доступной Tesla уже ведется. Ранее в этом году местные сообщения китайских СМИ указывали на то, что автомобиль, скорее всего, начнет свои испытания во второй половине года, т.к. первый прототип уже был завершен, и большинство поставщиков для предстоящего автомобиля были выбраны.
Доступная Tesla в Китае станет безусловным хитом среди покупателей бюджетных авто, которые хотят получить максимальную отдачу от покупки своего автомобиля. Автомобили Tesla, как правило, предлагают производительность, которая намного выше их ценовой категории. Это, наряду с удобством и предлагаемой крупнейшей сетью зарядных станций, позволит доступному автомобилю Tesla в Китае занять свою нишу на местном рынке страны.
Следите за актуальными новостями в сообществе Tesla!
