Автор: Барт Хендрикс, понедельник, 8 февраля 2021 г.
Первоисточник:
Спутник раннего обнаружения ракетных запусков «Тундра». Источник
В мае прошлого года Россия запустила четвертый из своих спутников раннего обнаружения запусков ракет нового поколения под названием «Тундра». Летая по высокоэллиптическим орбитам, они постоянно отслеживают регионы, из которых потенциально могут быть нанесены ракетные удары по территории России. Спутники «Тундра» являются частью Единой Космической Системы (EKС), в которую также войдут несколько спутников на геостационарной орбите (ГСО). Сообщается, что после четвертого запуска спутника «Тундра» ЕКС достигла минимальной базовой конфигурации. В этой статье делается попытка пролить новый свет на технические особенности и возможности системы с использованием различных открытых источников.
Предшественники ЕКС
Советский Союз начал работу над спутниками раннего предупреждения в начале 1960-х годов, но первоначальные планы относительно низкоорбитальных спутников были отложены в пользу группировки спутников на высокоэллиптических орбитах (ВЭО, разновидность HОО — низкой околоземной орбиты), первый запуск которых был осуществлен до 1972 года. Спутники (названные УС-KС) летали по орбитам, аналогичным тем, которые использовались спутниками связи СССР «Молния». Но эти орбиты сконфигурированы таким образом, чтобы они могли наблюдать за районами размещения межконтинентальных баллистических ракет в континентальной части Соединенных Штатов. Поскольку датчики советской эпохи не могли видеть ракетные шлейфы на фоне освещенной Земли, спутники УС-KС наблюдали районы размещения межконтинентальных баллистических ракет под скользящим углом со своих апогеев над северной частью Атлантического океана, что позволяло им обнаруживать ракеты на фоне космоса, как только они поднимались над горизонтом.
Спутники первого и второго поколения продолжала запускаться до начала прошлого десятилетия, в значительной степени полагаясь на запас, оставшийся с советских времен.
Одним из недостатков такой геометрии обзора было то, что спутники можно было ослепить светом заходящего Солнца. Это вызвало по крайней мере одну ложную тревогу о ракетном нападении в сентябре 1983 года. К счастью, это событие было признано ложным дежурным на советской наземной станции управления. Когда инцидент был раскрыт после окончания холодной войны, дежурный (Станислав Петров) получил несколько международных наград за свою роль в предотвращении ядерной катастрофы. Тем не менее, сигнал тревоги вполне мог быть отозван на более высоком уровне в цепочке командования при отсутствии подтверждающих данных с наземных радаров раннего предупреждения.
Второе поколение спутников раннего предупреждения (УС-KMO), представленное в 1991 году, было разработано для обеспечения глобального покрытия с геостационарной орбиты (ГЕО). Оснащенные модернизированными датчиками, они могли видеть запуски ракет на фоне Земли, в том числе баллистических ракет, запускаемых с подводных лодок. Однако многие спутники рано вышли из строя, и поступали сообщения о том, что их датчики работают ниже ожиданий.
Генеральным подрядчиком разработки первых двух поколений космических систем раннего предупреждения был ЦНИИ «Комета» (переименованный в «Корпорацию Комета» в 2012 году), который выполнял ту же роль в отношении советских спутников для разведки океана и противоспутниковых проектов. Фактическая интеграция спутников была в руках НПО Лавочкина, которое также построило все планетарные и лунные зонды в СССР. Полезными нагрузками служили инфракрасные сканирующие датчики Государственного оптического института им. Вавилова (ГОИ) и инфракрасные телекамеры (так называемые «датчики взгляда») Научно-исследовательского института телевидения (НИИТ). Датчики сканировали пространство с широким полем обзора для обнаружения пусков ракет, а более чувствительные узконаправленные датчики выделяли цели и определяли их траектории. [1]
Рождение ЕКС
Спутники первого и второго поколения продолжала запускаться до начала прошлого десятилетия, в основном полагаясь на запас, оставшийся с советских времен. Экономический кризис, охвативший Россию в 1990-е годы, не позволил стране начать какие-либо новые спутниковые проекты раннего предупреждения до начала века. В 1999 году было объявлено о планах создания новой группировки спутников раннего предупреждения, известной как Единая Космическая Система (EKС), которая будет состоять из спутников на орбитах НОО и ГЕО. «Комета» снова была назначена генеральным подрядчиком, получив контракт на ЕКС от Министерства обороны 15 марта 2002 года. Несколько компаний, похоже, боролись за роль производителя спутников, в том числе НПО Лавочкина и Центр Хруничева. Однако 18 марта 2004 года выбор «Кометы» пал на РКК «Энергия».
Система EKС также известна под военным индексом 14K032 и недавно также упоминалась некоторыми официальными лицами как система «Купол». Это названия всей системы, включающей не только спутники НОО и ГЕО, но также наземный сегмент управления, ракеты-носители и инфраструктуру космодромов. Спутники на HОО называются «Тундра» и имеют военный индекс 14Ф142. Названия или индексы спутников на ГЕО пока не указаны.
Спутники «Тундра»
Достаточно хорошее представление о конструкции спутников «Тундра» можно получить из ряда источников, некоторые из которых труднее найти, чем другие. «Комета» даже опубликовала одну фотографию и как минимум три чертежа спутника, и хотя они не были конкретно идентифицированы как относящиеся к «Тундре», проект явно имеет несколько более низкий уровень классификации, чем многие другие российские военно-космические проекты (то же самое, кстати, относится к американским спутники раннего предупреждения).
Единственный общедоступный снимок спутника «Тундра», опубликованный в статье «Комета» в 2017 году. Источник
Спутники «Тундра» выводятся на орбиты типа «Молния» ракета-носителями «Союз-2.1б» с разгонным блоком «Фрегат» с космодрома Плесецк на северо-западе России. Спутники построены на базе служебного модуля (или «автобуса»), который в публикациях РКК «Энергия» называется «Универсальная Космическая Платформа» (УКП) или «Виктория», производная от модуля, используемого на спутниках связи «Ямал». Это трехосная стабилизированная платформа, которая может быть адаптирована для полетов на солнечно-синхронных, высокоэллиптических и геостационарных орбитах, что, возможно, стало решающим фактором при выборе РКК «Энергия» в качестве производителя спутников. В отличие от советских спутников, в платформе УКП не используется герметичный отсек для обеспечения контролируемой среды для работы бортовой электроники. Сухая масса «автобуса» УКП колеблется от 950 до 1200 килограмм. Масса полезной нагрузки спутников на ВЭО HОО составляет от 500 до 1000 кг, а для спутников на ГЕО — от 250 до 300 кг. Расчетный срок службы составляет не менее 7,5 лет для спутников HОО и до 12,5 лет для спутников ГЕО. Вероятно, это связано с тем, что спутники на ВЭО регулярно проходят через радиационные пояса Ван Аллена [3].
В отличие от своих советских предшественников, спутники «Тундра» должны обладать достаточной вычислительной мощностью, чтобы выполнять большую часть обработки данных на борту, что позволит операторам на земле оперативно давать рекомендации руководству страны.
Мало что известно о конкретных изменениях, внесенных в служебный модуль спутников «Тундра». Он может иметь индекс 14С022, который появляется в некоторой документации, относящейся к EKС, и связан с «комбинированным двигателем» (термин, обычно используемый для системы жидкостного ракетного двигателя), звездными трекерами и гироскопами [4].
Гораздо больше информации доступно о модуле полезной нагрузки «Тундра» (известном под русской аббревиатурой МЦА). Два разобранных изображения модуля показывают общую компоновку его систем.
Изображение модуля полезной нагрузки «Тундры» в разобранном виде. Источник
Еще один разобранный вид модуля полезной нагрузки «Тундра». «Комета» в 2019 году.
Спутник состоит из двух модулей, обозначенных «A» (нижняя часть) и «B» (верхняя часть). Конструкционный каркас, сотовые панели и радиаторы предоставлены НПО им. Лавочкина [5]. В верхней части установлены по крайней мере две (а возможно, четыре) группы электрических двигателей. Известно, что это ионные двигатели на эффекте Холла СПД-100 (в русской терминологии называемые «стационарными плазменными двигателями») ОКБ «Факел», которые летают на многих российских и зарубежных спутниках. При весе 3,5 килограмма каждый из двигателей имеет тягу 83 мН и удельный импульс 1600 секунд [6]. Они, вероятно, помогают противостоять некоторым возмущениям, которым подвержены орбиты типа «Молния» из-за неравномерности притяжения Земли и гравитационных эффектов Луны и Солнца.
К секции полезной нагрузки прикрепляются ряд антенн, используемых для различных функций. Одна из них — комплект спутниковых навигационных антенн (АСН) производства Ярославского радиозавода, который должен помочь точно определять параметры орбиты спутников [7]. Также видны управляемые и фазированные антенные решетки бортовой системы радиосвязи (БРТК) и антенны с низким и большим усилением бортовой системы управления и передачи данных (БСУиПД). Эти системы, вероятно, используются для обработки данных, собранных полезной нагрузкой, и отправки их на Землю.
В отличие от своих советских предшественников, спутники «Тундра» должны обладать достаточной вычислительной мощностью, чтобы выполнять большую часть обработки данных на борту, что позволит операторам на земле оперативно давать рекомендации руководству страны о необходимости активировать системы противоракетной обороны или совершить ответный удар. Спутники также могут быть интегрированы в сеть связи, необходимую для обеспечения быстрого реагирования на ракетную атаку. Согласно некоторым источникам, полное название EKС на самом деле — «Единая космическая система обнаружения и управления боевыми действиями» (EKСOиБУ), потому что она объединяет функции обнаружения ракет, выполняемые спутниками раннего предупреждения, и некоторые из функций стратегической связи более ранней модели спутников связи «Молния». Ключевым игроком в разработке этих систем является НПО «Импульс», компании, основным направлением деятельности которой является поставка автоматизированных боевых систем управления для Ракетных войск стратегического назначения. 1 августа 2007 года НПО «Импульс» подписало контракт с компанией «Комета» на EKС, и в соответствующей документации есть ссылки на бортовые системы под названиями 15E1827, 14Р735 и 15Н1953, которые включают как минимум один специализированный компьютер. Некоторая часть работы, похоже, связана с защитой информации, передаваемой по нисходящей и/или восходящей линии связи [8].
Сама полезная нагрузка называется бортовым оборудованием обнаружения (БОО) и занимает обе секции модуля полезной нагрузки с солнцезащитным козырьком, установленным на верхней части, чтобы предотвратить попадание рассеянного света в телескоп. Официально ничего не было раскрыто о характере полезной нагрузки, но в одном документе, относящемся к EKС, упоминается система под названием «Иртыш-Э» с тем, что буквально называют «широкоугольным каналом» и «узкоугольным каналом» [9]. Это почти наверняка модифицированная версия двухканального «Иртышского инфракрасного телескопа», задуманного в институте НИИТ в конце 1980-х годов и аналогичного спутникам US-KMO второго поколения. На «Иртыше» были установлены криогенно охлаждаемые видеокамеры (видиконы) ЦНИИ «Электрон», которые были более чувствительны, чем неохлаждаемые видиконы на спутниках первого поколения.
Телескоп советского времени «Иртыш». Источник
Несмотря на быстрое развитие легких твердотельных датчиков получения изображения (особенно ПЗС), ясно, что планы разработки на «Иртыш» не были отменены даже на рубеже веков. В статье НИИТ, опубликованной в 2015 году, говорится, что его разработка затянулась на 30 лет, и это верный признак того, что в то время она все еще находилась в стадии разработки [10]. Кроме того, «Комета» и ЦНИИ «Электрон» подписали контракт на поставку видиконов для ЕКС 2 июля 2001 г., то есть еще до официального старта проекта. Видиконы имеют обозначение ЛИ489E и производятся совместными усилиями двух компаний, известных как «Катер-3Е». [11] ЛИ489E описан в одной статье ЦНИИ «Электрон» как основанный на так называемых полупроводниках A3B5 и способный работать на длинах волн до 3 микрон. [12] У него был предшественник под названием ЛИ489, который можно отнести к советской спутниковой программе раннего предупреждения 1980-х годов, основанной на докторской диссертации по инфракрасным видиконам, опубликованной в 2001 году [13]. Короче говоря, имеется достаточно свидетельств того, что «Иртыш-Э» и ЛИ489Е являются модернизированными версиями одноименного оборудования, разработанного в начале 1980-х годов, с добавленной буквой «Е», чтобы указать, что оно было адаптировано для системы EKС.
Есть веские основания полагать, что геостационарные спутники ЕКС будут оснащены новой полезной нагрузкой.
Так почему же русские решили придерживаться этой, казалось бы, устаревшей технологии? В вышеупомянутой докторской диссертации утверждается, что криогенно охлаждаемые инфракрасные видиконы по-прежнему обладают лучшими характеристиками, чем твердотельные датчики, дешевле в производстве и могут лучше противостоять излучению, и в качестве примера можно привести видикон ЛИ489. С другой стороны, в статье «Комета», опубликованной в 2016 году, говорилось, что дальнейшая разработка инфракрасных видиконов для «космических систем обнаружения» была прекращена, потому что они не отвечают сегодняшним требованиям к «надежности, массе и размеру», а также из-за их недостаточной чувствительности и небольшого количества используемых пикселей [14].
Два «канала» «Иртыш-Э» должны позволить телескопу работать как в широкоугольном, так и в узкоугольном режимах. Необходимые для этого оптические приборы предоставлены дочерним предприятием «Кометы» — Научно-исследовательским институтом оптического и электронного приборостроения (НИИ ОЭП). Фотографии этих инструментов до недавнего времени были доступны на сайте «Кометы».
Узкоугольная (слева) и широкоугольная оптические системы фотооборудования «Иртыш-Э». Источник: сайт «Комета».
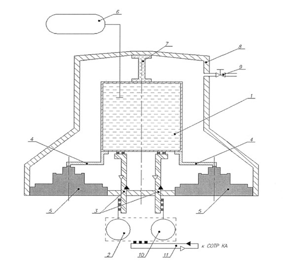
Полезная нагрузка оснащена криогенной системой охлаждения, разработанной Конструкторским бюро точного машиностроения Нудельмана (КБ «Точмаш»), также известным своим участием в нескольких противоспутниковых проектах. В пресс-релизе, появившемся на сайте компании в октябре 2017 года, отмечалось, что система успешно прошла испытания на втором спутнике «Тундра» [15]. В общедоступных годовых отчетах КБ «Точмаш» система именуется СГО-РФ. В патенте, поданном КБ «Точмаш» в 2016 году, описана космическая система охлаждения, которая почти наверняка предназначена для «Тундры». Она имеет два, так называемых, криогенных холодильника Стирлинга с замкнутым циклом, которые используют охлаждающий агент (аргон) для поддержки необходимой температуры. Два криокулера используются по очереди и активируются только тогда, когда телекамера не работает, так что любые вызываемые ими вибрации не мешают наблюдению. Каждый из них имеет расчетный срок службы 10 000 часов и должен гарантировать, что полезная нагрузка останется в рабочем состоянии в течение от семи до десяти лет [16]. Система охлаждения не видна в известной компоновочной схеме спутника, но должна быть установлена в нижней части модуля полезной нагрузки.
Схематическое изображение криогенной системы охлаждения «Тундра» из патента 2016 года. Два криохладителя Стирлинга находятся в позиции 2 и 10, криостат (содержащий аргон) - в позиции 1, а детекторы изображения - в позиции 5. Источник
Вторичная полезная нагрузка для спутника «Тундра» называется «Балка» и производится Научно-промышленной корпорацией «Системы точного измерения» (НПК СПП). Статья в корпоративном информационном бюллетене НПК СПП описывает его успешные испытания на первом спутнике «Тундра», но не раскрывает его цель [17]. Как можно определить из другого источника, от 1 июля 2000 г. (опять же, перед официальным запуском EKС) «Комета» заключила контракт на приобретение «Балки» (также именуемой «Продукт 16») с НПК СПП, и у прибора есть фотодетекторы под названием A -181A и A-181B, разработанные НПП «Пульсар» [18].
Те же детекторы также входят в состав полезных нагрузок НПК СПП на российских навигационных спутниках ГЛОНАСС, которые называются БАЛ-М (для Глонасс-М), БАЛ-К (для Глонасс-К) и БАЛ-К2 (для Глонасс-К2). Их основная цель — следить за соблюдением договоров о запрещении ядерных испытаний путем поиска признаков ядерных взрывов. Они выполняют ту же роль, что и система Nuclear Detection System установленная на американских спутниках GPS/Navstar, и спутниках раннего предупреждения Defense Support Program (DSP). Россия явно пошла по тому же пути, установив такие датчики как на своих спутниках навигации, так и на спутниках раннего предупреждения. Согласно одной статье, опубликованной НПК СПП, другая цель полезной нагрузки — наблюдение гамма-всплесков, космического и галактического излучения, корпускулярного излучения Солнца, молний, вулканической активности и «техногенных катастроф» [19].
Общее название системы обнаружения ядерных взрывов на базе ГЛОНАСС, которая также имеет наземный сегмент для приема информации, «Лира-М». Название системы на основе EKС может быть «Альтаир» [20]. В одном документе, опубликованном в 2013 году, говорилось, что эти две системы будут интегрированы с наземными системами обнаружения ядерных взрывов Ракетных войск стратегического назначения. Полезная нагрузка EKС должна включать в себя детектор гамма-излучения и два оптических детектора, работающих на разных длинах волн. Спутник будет использовать более эффективные каналы связи и будет более продвинутым, чем система на базе ГЛОНАСС, позволяя одному спутнику определять координаты ядерного взрыва с высокой точностью. В документе упоминались как спутники HОО, так и спутники ГСО, предполагая, что полезные нагрузки для обнаружения ядерного оружия будут нести оба спутника [21].
Геостационарные спутники
Запуск геостационарных спутников ЕКС с космодрома Плесецк будет осуществляться ракета-носителем «Ангара-А5». Разработка ракеты-носителя «Ангара» началась сразу после распада Советского Союза с целью замены устаревших ракет «Протон», которые могут стартовать только с Байконура в Казахстане. После многих лет задержек «Ангара-А5» совершил первый полет в декабре 2014 года, после чего потребовалось еще шесть лет, чтобы осуществить второй запуск. Обе ракеты выводили фиктивные полезные нагрузки напрямую на геостационарную орбиту с помощью разгонной ступени «Бриз-М» Центра им. Хруничева, в которой используется долгохранимое топливо. Однако геостационарные спутники раннего предупреждения потребуют использования новой разгонной ступени под названием 14С48 или «Персей», которая представляет собой модифицированную версию разгонной ступени «Блок-ДМ-03» РКК «Энергия», использующей жидкий кислород и керосин. Инфраструктура для «Ангары» в Плесецке была модифицирована для поддержки запусков геостационарных спутников раннего предупреждения с новой разгонной ступенью [22]. Один источник сообщил агентству ТАСС в мае 2016 года, что одна «Ангара-А5» может выводить «два-три» спутника раннего предупреждения, но два будут абсолютным пределом, учитывая грузоподъемность «Ангара-А5» из Плесецка [23].
Развертывание геостационарной группировки EKС потребует расширения наземной сети управления.
Есть веские основания полагать, что геостационарные спутники будут оснащены новой полезной нагрузкой. В отличие от датчика наблюдения на основе видикона, установленного на спутниках HОО, это будет система сканирования с инфракрасными детекторами нового поколения. Работа над новыми инфракрасными детекторами для EKС началась 1 августа 2012 года с подписания контракта между Министерством обороны и «Кометой» на научно-исследовательский проект под названием «Космос-ИК1» («ИК» — это русское сокращение от «инфракрасный»). Один документ связывает этот проект с «всей группировкой EKС», а также с «третьей фазой» проекта, которая в другой документации связана с геостационарными спутниками [24].
В результате исследовательской работы компания «Комета» подписала контракт на поставку новых детекторов (известных как «Гранат-128») 28 ноября 2016 года с НПО «Орион», которое также поставило инфракрасные детекторы для сканирующей полезной нагрузки системы раннего предупреждения спутников первого и второго поколений. Некоторые документы, относящиеся к этому контракту, относятся к «полной совокупности EKС». Детекторы «Гранат-128», по всей видимости, являются предметом нескольких технических публикаций НПО «Орион» (хотя они там не упоминаются по названию). Это детекторы на основе теллурида кадмия (HgCdTe) с матрицей 1024x10 пикселей. Спектральный диапазон указан как 1–3 мкм и 2–3 мкм [25].
Изображение того, что, вероятно, является инфракрасным датчиком Гранат-128. Источник
НПО «Орион» и компания «НПП Восток» также выступают субподрядчиками «Кометы» по производству инфракрасных детекторов с более крупными пиксельными матрицами в рамках исследовательских проектов «Прогресс» и «Комплект-1», которые были начаты в конце 2015 года. Однако это исследование было заказано не Министерством обороны, а Роскосмосом и, вероятно, не имеет отношения к EKС. Утверждается, что по крайней мере один из детекторов предназначен для обеспечения «глобального обзора Земли, околоземного космоса и далекого космоса», но на данный момент они не могут быть привязаны к каким-либо конкретным спутниковым проектам [26].
Оптическая часть сканирующей полезной нагрузки ЕКС, предположительно, описана в статье, написанной в 2016 году специалистами «Кометы», некоторые из которых являются ветеранами Государственного оптического института им. Вавилова (ГОИ), создавшего системы инфракрасного сканирования для советских спутников раннего предупреждения. В статье говорится, что сканирующая система предназначена для «мониторинга Земли в интересах национального наблюдения», и сравнивается ее со сканирующим датчиком, установленным на американских спутниках раннего предупреждения последнего поколения (SBIRS: Space-Based Infrared System). Это относится к статье об инфракрасных детекторах НПО «Орион 1024х10». В новой сканирующей полезной нагрузке используется метод считывания, называемый «интеграция с временной задержкой» (TDI), и бериллиевое зеркало, покрытое золотом для улучшения отражения в инфракрасном диапазоне. Он имеет глобальный обзор и может сканировать диск Земли за 4,2 секунды [27].
Полезная нагрузка инфракрасного сканирования для EKС. Сканирующее зеркало видно в позиции 3. Источник
Будущие спутники EKС могут также нести полезную нагрузку в ультрафиолетовом диапазоне, хотя неизвестно, предназначена ли она специально для геостационарных спутников. В нескольких статьях, опубликованных ЦНИИ «Электрон» в 2014–2016 годах, говорилось, что ЕКС была одной из нескольких программ, использующих УФ-фотоприемники, построенных компанией в рамках исследовательского проекта, известного как «Фотик-4». Фотоприемники на основе ПЗС (называемые ФПУ-4П и ФПУ-4А) имеют матрицы размером 768x580 и 1024x1024 пикселей и работают в ультрафиолетовой части ультрафиолетового спектра UVC, которая почти полностью поглощается озоновым слоем. Это означает, что такие датчики (также называемые «солнечными слепыми фотодетекторами») могут легко обнаруживать ракетные шлейфы из-за отсутствия наземной фоновой сигнатуры. В одной из статей также упоминается возможность их использования для обнаружения гиперзвуковых аппаратов. Проект «Фотик-4» разрабатывался с 2011 по 2014 год, но пока нет доказательств того, что его результаты были реализованы в проекте EKС. Другой ультрафиолетовый прибор с вероятной ролью обнаружения ракет был одновременно разработан в рамках секретного проекта Роскосмоса под названием УФИК, который, как известно, не имеет никакого отношения к EKС [28].
Другая работа, связанная с третьей фазой EKС, называется ЛСС-ГСО и включает систему под названием 15E1818, разработанную совместно НПО «Импульс» и НПК СПП [29]. Это вполне может быть лазерная система связи, которая будет использоваться для межспутниковых линий и/или высокоскоростной передачи данных по нисходящей линии связи (где «ЛСС» и «ГСО» - вероятные русские сокращения для «лазерной системы связи» и «геостационарной орбиты»). НПК СПП не новичок в этой области, поскольку уже построил лазерную систему связи для передачи данных со спутников оптической разведки «Персона» на военные спутники ретрансляции данных «Гейзер». Одним из возможных вариантов использования системы может быть быстрый обмен между спутниками данными, полученными их полезными нагрузками для обнаружения ядерных взрывов.
Развертывание геостационарной группировки EKС потребует расширения наземной сети управления. В настоящее время она базируется на наземном пункте управления возле населенного пункта Курилово, примерно в 70 км к юго-западу от Москвы. Построенный еще в советские времена, он известен как «Западный пункт управления» (ЗМКП), а место, где он расположен, также известно как «Серпухов-15». Фактически центр состоит из двух наземных станций управления, расположенных примерно в километре друг от друга. Один (названный «Объект 455») изначально был сконструирован для отслеживания спутников HОО, когда они достигают своего апогея над Атлантикой, а другой (названный «Объект 455I») — для управления спутниками на ГСО, размещенными над Атлантикой. Оба были модернизированы в последние несколько лет для поддержки программы EKС и вместе именуются «Объект 455/ E» [30].
Два наземных пункта управления «Объекта 455» в «Серпухове-15», каждый из которых имеет несколько куполов. Сайт справа был первоначально построен для советских спутников раннего предупреждения HОО, а площадка слева — для спутников ГСО. Источник: Google Earth.
Геостационарная группировка также должна включать один или несколько спутников, чтобы следить за Тихоокеанским регионом, который является важной зоной патрулирования американских подводных лодок с баллистическими ракетами Trident II. Эти спутники не будут видны с «Серпухова-15», и им придется полагаться на Восточную станцию управления (ВМКП), также известную как «Объект 485», недалеко от Гейтера в Хабаровском крае на Дальнем Востоке России. Он был построен для поддержки геостационарных спутников второго поколения, но в то время никогда не использовался на полную мощность. Работы по модификации объекта для EKС (под названием «Объект 485/E») были заказаны в 2013 году, но недавно опубликованная документация указывает на то, что они еще не завершены [31].
Продолжение: Часть 2