Серия «Чернобыль»

480

Чернобыль ч.1. РБМК-1000

Авария на Чернобыльской атомной электростанции, произошедшая в 1 час 23 минуты 47 секунд 26 апреля 1986 года, стала одной из крупнейших техногенных катастроф в истории человечества. Порядка 115 тысяч человек было выселено из зоны отчуждения. Более 600 тысяч человек приняли участие в ликвидации аварии. Загрязнено более 200 тысяч квадратных километров, из оборота были выведены 5 миллионов гектаров земель. Значительному загрязнению подверглись территории Украины, Белоруссии (по некоторым данным, загрязнению подверглось 20% площади этой страны), России. Кроме того, чернобыльская радиация была обнаружена в северной и западной Европе, а также у берегов Северной Америки. Масштабы аварии повергают в шок.

Записано множество воспоминаний, издано огромное количество книг, многие из них описывают чуть ли не поминутно последний день четвёртого энергоблока ЧАЭС. И тем не менее далеко не все готовы изучать или систематизировать огромный объём информации о том, что же происходило в те жуткие весенние дни, а также на протяжении следующих нескольких лет. Прошло уже много лет с момента аварии, а потому мне кажется, что стоит собрать всю имеющуюся информацию в едином цикле, дабы позволить читателю ознакомиться с хронологией тех уже почти забытых событий, а также с их контекстом.


Кратко о цепной атомной реакции


И ядерное оружие, и атомная энергетика базируются на цепной ядерной реакции деления. Бывает ещё ядерная реакция синтеза, но о ней в другой раз.


Итак, в силу своих свойств ряд тяжёлых элементов стремится к радиоактивному распаду, то есть изменению состава или внутреннего строения атомного ядра. Для выработки энергии необходимо, чтобы при распаде производилось больше энергии, чем раньше. При распаде ядро испускает некоторое количество нейтронов, которые при этом получают кинетическую энергию и летят в разные стороны. При этом нейтроны могут выделяться как сразу после начала деления (мгновенные нейтроны), так и с задержкой от нескольких миллисекунд до нескольких секунд (запаздывающие нейтроны). Как только они сталкиваются с другим ядром, происходит инициация реакции деления, и ядро испускает нейтроны.

Примерно так это и работает, да


Важно, чтобы эффективный коэффициент размножения нейтронов (проще говоря, количество нейтронов, вызывающих новую реакцию деления, отделяющихся за один акт деления ядра) был больше или равен единице, иначе наша реакция затухнет. Несмотря на малую долю в общем количестве выделяемых нейтронов (менее 1%), запаздывающие нейтроны позволяют существенно продлить время жизни нейтронов одного поколения, позволяя управлять цепной реакцией. Состояние, при котором коэффициент равен единице, называется критическим. Соответственно, если значение коэффициента <1, то состояние подкритичное, а если значение коэффициента >1, то состояние надкритичное. В надкритичном состоянии мощность реакции возрастает экспоненциально, то есть скорость роста мощности тем выше, чем выше мощность. Для ядерного оружия это хорошо, а вот для ядерного реактора – не очень, его рост мощности нужно регулировать, не давая достигнуть слишком высоких значений мощности. Ясное дело, что работы по постановке ядерной реакции под контроль были почти столь же приоритетны, как и работы по достижению максимально быстрого роста мощности и достижению максимума мощности.


Краткая история мирного атома в СССР


Первая в мире атомная электростанция была пущена в 1954 году в городе Обнинске Калужской области. Она успешно и безаварийно проработала вплоть до 29 апреля 2002 года, то есть 48 лет (на 30 лет больше запланированного). Реактор вобрал в себя все имевшиеся на тот момент наработки в области создания и использования реакторов двойного назначения. Например, на заводе Маяк реактор не только производил оружейный плутоний, но также электроэнергию и тепло для близлежащих городов. АМ-1 (Атом Мирный – именно такой индекс получил реактор на станции) представлял собой уран-графитовый реактор с водой в качестве охладителя и теплоносителя. Электрическая мощность реактора составляла 5 МВт

Частично открытый АМ-1 и реакторный зал. Фото Варламова из 2009 года


Изначально предполагалось построить несколько различных типов экспериментальных реакторов, которые должны были в будущем развиться в реакторы для различных нужд, в том числе для подводных лодок, кораблей и судов. Конкретно АМ-1 для этих целей не подошёл - слишком уж громоздкий из-за схемы расположения тепловыделяющих элементов в графитовой кладке.


Спустя 10 лет в работу были пущены реакторы типа АМБ (Атом Мирный Большой) в составе Белоярской АЭС. Это уже были реакторы электрической мощностью 100 МВт. В целом реакторы показали себя не очень надёжными, на всём протяжении их эксплуатации неоднократно происходили различные аварии, причём нередко – достаточно серьёзные. Например, в течение первых десяти лет эксплуатации не один раз происходило разрушение тепловыделяющих сборок на первом энергоблоке. Тем не менее, первый и второй блок доработали до полной выработки ресурса, после чего были выведены из эксплуатации. На данный момент ведётся разборка этих реакторов. Сейчас на Белоярской АЭС эксплуатируются два реактора на быстрых нейтронах.

БАЭС


Одновременно с запуском в эксплуатацию БАЭС началось проектирование нового мощного реактора канального типа. Работы велись в Научно-исследовательском и Конструкторском Институте ЭнергоТехники (НИКИЭТ) под руководством академика Николая Антоновича Доллежаля. Научной частью заведовал Институт Атомной Энергии (ИАЭ) им. Курчатова (директор – академик Анатолий Петрович Александров). Вообще, работа в области атомной энергетики в частности и атомной промышленности велась и управлялась ведущими советскими учёными. Тот же Александров в 1975 году стал президентом Академии наук СССР.

Доллежаль

Александров


Анатомия гиганта


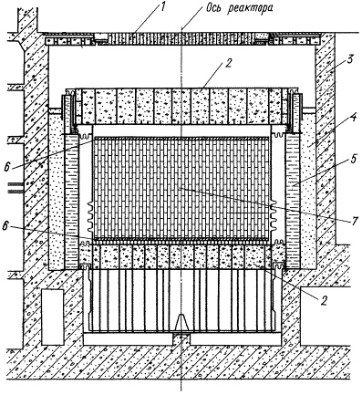
Что же представлял из себя новый реактор, получивший поначалу обозначение Э-7? Театр начинается с вешалки, а реактор – с тепловыделяющего элемента (ТВЭЛ). ТВЭЛ – это трубка из циркониевого сплава, толщина которой 0.9 мм, а диаметр – 13.6 мм. Оставшиеся 11.5 мм занимают спрессованные таблетки диоксида урана UO2. Изначально степень обогащения урана-235 составляла 2%, однако по мере модернизации реакторов её увеличивали. 18 таких ТВЭЛов объединены в тепловыделяющую сборку (ТВС). Внутри неё помимо самих ТВЭЛов находится несущий стержень из оксида ниобия NbO2, крепёжные детали из циркониевого сплава, а также каналы для теплоносителя, то есть воды. Высота одной сборки – 3.5 метра. Последовательное соединение двух ТВС называется тепловыделяющей кассетой (ТВК), её высота – 7 метров. Высота ТВК соответствует высоте всей активной зоны.

ТВС РБМК-1000: 1 — подвеска; 2 — переходник; 3 — хвостовик; 4 — твэл; 5 — несущий стержень; 6 — втулка; 7 — наконечник; 8 — гайка


Сама активная зона представляет из себя графитовую кладку, состоящую из графитовых колонн. Каждая колонна собрана из прямоугольных блоков, длина и ширина которых составляет по 250 мм, а высота может составлять 200, 300, 500 или 600 мм. Всего колонн 2488, в каждой просверлен канал диаметром 114 мм. В этом канале может размещаться одна из 1693 топливных кассет либо один из 179 стержней Системы управления и защиты реактора (СУЗ). Остальные колонны являются боковыми отражателями нейтронов, защищающими окружающую среду от этих самых нейтронов. Размеры кладки: эквивалентный диаметр – 13.8 метра, из которых на активную зону приходится 11.8 метра, а толщина отражателя – 1 метр; высота кладки – 8 метров, из которых 7 – активная зона, а ещё по полметра сверху и снизу – отражатель. Благодаря такой схеме реактор и получил наименование РБМК – Реактор Большой Мощности Канальный.

1 - плитный настил (тяжелый бетон, 4 т/м3);

2 - засыпка серпентинита (1,7 т/м3);

3 - обычный бетон (2,2 т/м3);

4 - песок (1,3 т/м3);

5 - бак водяной защиты;

6 - стальные защитные блоки;

7 - графитовая кладка.


Всё это добро уютно расположилось в шахте размерами 21.6х21.6х25.5 метров. В самом низу шахты находится бетонное основание. На нём покоится крестообразная металлоконструкция (схема С), соединяющая бетонное основание с нижней плитой реактора (схемой ОР). Толщина этой плиты – 2 метра, диаметр – 14.5 метров. Она состоит из цилиндрической обечайки, заполненной серпентинитом и проходками для топливных каналов и каналов управления, а также двух листов, в которые вварены герметично эти каналы.


Сверху расположена аналогичная по конструкции плита (схема Е), только её размеры иные – толщина 3 метра, диаметр – 17.5 метров. Она установлена на кольцевом баке с водой (схема Л), исполняющем роль боковой биологической защиты. Внешний диаметр бака – 19 метров, а внутренний на высоте 11 метров – 16.6 метров. Бак от бетона боковых стен отделяет засыпка песка. Между внутренней стенкой и активной зоной находится герметичный кожух реактора, имеющий также обозначение «схема КЖ» (металлопрокат, толщина – 16 мм), соединяющий верхнюю и нижнюю плиты. Между кожухом и внутренней стенкой бака присутствует полость, заполненная азотом под давлением более высоким, чем давление азотно-гелиевой смеси внутри кожуха. Таким образом, исключается утечка газа из полости реактора. Азотно-гелиевая смесь предотвращает выгорание гелия.


На полу реакторного зала лежит плитный настил, который вместе с дополнительной биологической защитой (схема Г) обеспечивает высокий общий уровень биологической защиты. По этому настилу можно ходить во время работы реактора, он же обеспечивает перегрузку (то есть замену топлива) реактора. Такая конструкция реактора позволяет перегружать тепловыделяющие кассеты без остановки реактора с помощью разгрузочно-загрузочной машины.

Плитный настил, кажется на ЛАЭС. Мерные люди на фоне


Итак, как же работает реактор РБМК? С помощью главных циркуляционных насосов (ГЦН) вода через трубопроводы подаётся непосредственно в ТВК. В них за счёт повышенного давления (7 МПа или 70 атмосфер) температура кипения воды повышается до 284 градусов по Цельсию. Проходя через них, она нагревается и частично испаряется. Сверху (вода подаётся в активную зону снизу) находятся трубопроводы, подводящие образовавшуюся пароводяную смесь к барабан-сепараторам. Их задача – отделить пар, содержание которого в смеси в среднем 14.5% от воды. Пар идёт на турбины, а вода снова подаётся в реактор. Таким образом, реактор РБМК является одноконтурным по теплоносителю.


Однако на деле не всё так однозначно, так как на самом деле структура единственного контура РБМК напоминает восьмёрку. Дело в том, что в верхней части этой восьмёрки (нижняя часть — это контур многократной принудительной циркуляции (КМПЦ), его я только что и описал) есть ещё ряд систем. Этот ряд включает в себя турбину, генератор, конденсатор, насос и барабан-сепаратор. Пришедшая из реактора в барабан-сепаратор пароводяная смесь разделяется на воду и пар. Пар температурой 284 градуса под давлением в 7 МПа приходит на турбину и вращает её, преобразуя тепловую энергию в кинетическую. Эту энергию турбина передаёт на генератор, вырабатывающий электроэнергию. Из турбины сильно охладившийся пар (до 30 градусов при давлении в 0.004 МПа или 0.04 атмосферы) попадает в конденсатор. Там пар передаёт свою тепловую энергию воде, забираемой из пруда-охладителя станции. На выходе из конденсатора мы получаем воду, с параметрами близким к параметрам пара, которая является "холодным" теплоносителем для второго теплового контура. Эта вода, пройдя через несколько вспомогательных устройств, становится питательной водой и с помощью питательного насоса подается в барабан-сепаратор. Там она смешивается с водой из пароводяной смеси, пришедшей из активной зоны, после чего уходит в реактор. Так замыкается восьмёрка.

Разрез блока с РБМК. Надеюсь, читабельная.

А это схема работы РБМК


Общая тепловая мощность реактора РБМК-1000 – 3200 МВт, из которых только 1000 МВт – электрическая мощность, остальное тратится на обогрев атмосферы и пруда-охладителя. На случай, если нужно уменьшить мощность, заглушить реактор или же что-то пойдёт не так, предусмотрен целый ряд систем защиты, ведущую роль в котором играют Стержни Управления и Защиты (СУЗ), запомните их, они нам вспомнятся ещё не раз. В первых реакторах стержней было 179, позже их стало 211. По своему назначению они делятся на стержни аварийной защиты (24 штуки), стержни автоматического регулирования (12), стержни локального автоматического регулирования (12), стержни ручного регулирования (131) и 32 укороченных стержня-поглотителя (УСП), предназначенные для локального регулирования мощности (появились после аварии на ЛАЭС в 1975 году). При необходимости, стержни вводятся в активную зону или выводятся из неё, тем самым уменьшая или увеличивая мощность соответственно. Введение всех стержней глушит реактор. Все стержни за исключением УСП, вводятся в реактор сверху.


Что из себя по конструкции представлял стержень-поглотитель реактора РБМК? При полностью выведенном из реактора стержне в активной зоне оставался графитовый вытеснитель длиной 4.5 м, а также по 1.25 м воды сверху и снизу. При подаче сигнала на введение в активную зону вытеснитель вытесняет воду снизу и выходит из зоны, а его место занимает соединённый с ним «телескопом» стержень-поглотитель из бора. Его задача – поглотить нейтроны, инициирующие цепную ядерную реакцию.

Отличий в конструкции РБМК от конструкции другого широко распространённого в России реактора типа ВВЭР много, но ключевых два. Во-первых, из-за циклопических размеров РБМК невозможно «запаковать» в герметичный корпус, который бы защитил окружающую среду в случае взрыва реактора. Во-вторых, в реакторе типа ВВЭР два герметичных контура теплоносителя, которые изолированы друг от друга. Первый – вода под высоким давлением, идущая непосредственно в активную зону. Там она нагревается и идёт в теплообменник, передавая свою тепловую энергию воде второго контура, которая в виде пара уже вращает турбину.


В принципе, реактор ВВЭР безопаснее, чем РБМК, однако РБМК давал весьма заметные экономические выгоды. Во-первых, в нём можно использовать менее обогащённое топливо (на ранних этапах считалось, что канальный реактор спокойно может работать на топливе со степенью обогащения 2%, в то время как корпусный требовал степени обогащения 4-5%). Более того, РБМК может работать на отработанном топливе реактора ВВЭР. При этом выгорание топлива в РБМК более равномерное, то есть реактор расходует его более экономно. Во-вторых, как уже говорилось, в РБМК можно менять топливные кассеты без остановки реактора, в то время как для перегрузки топлива реактор типа ВВЭР подвергается разгерметизации корпуса, что сопряжено с большим объёмом работы. В-третьих, при всех своих огромных размерах РБМК проще в строительстве, так как не требует трудоёмкого создания герметичного корпуса, что облегчает как производство, так и установку реактора на месте.

РБМК распространяется


Строительство первой атомной станции, оснащённой реактором РБМК-1000 (то есть Реактор Большой Мощности Канальный электрической мощностью 1000 МВт) началось в 1967 году в 4 км от посёлка Сосновый бор, что в 70 км от исторического центра Санкт-Петербурга. В 1974 году в эксплуатацию ввели первый энергоблок, спустя два года – второй. Здесь нужно отметить, что реально реактор подключают к сети раньше, чем официально вводят в эксплуатацию.

ЛАЭС сейчас


И первая очередь ЛАЭС «порадовала» своих создателей ещё до этой даты – зимой 1974 года, с разницей в месяц, произошло два серьёзных инцидента – взрыв водорода в газгольдере, где выдерживались газообразные радиоактивные отходы, а также разрыв промежуточного контура с утечкой высокоактивной воды. В результате погибли три человека. Однако это были лишь первые звоночки, а первый гром грянул 30 ноября 1975 года. Подробнее об этой аварии мы поговорим позже, а пока скажем лишь, что результатом аварии стало разрушение одного топливного канала, а общее загрязнение составило примерно 1.5 млн Кюри, что, мягко говоря, немало.


После этого реакторы РБМК были дооснащены дополнительными поглощающими стержнями (добавилось 32 укороченных стрежня), целым рядом систем, направленных на повышение безопасности реактора (например, системой аварийного охлаждения реактора (САОР), системой локальной автоматической защиты (ЛАЗ) и системой локального автоматического регулирования мощности реактора (ЛАР)), повысили степень обогащения урана до 2.4%, а также были внесены множественные уточнения в инструкции персонала и проекты будущих энергоблоков.


От аварии, аналогичной по масштабам чернобыльской, ЛАЭС спасли умелые действия персонала. Сама станция находилась в ведении министерства среднего машиностроения, которое в СССР занималось атомным оружием, атомной промышленностью и атомной энергетикой. Однако все последующие станции строились для нужд министерства энергетики и электрификации. Там всё было куда хуже и с персоналом, и с заводами. Вспоминает Анатолий Дятлов:

Ленинградская АЭС, подведомственная Министерству среднего машиностроения, проектировалась его организациями, под его заводы, оснащенные современным оборудованием. Курская и Чернобыльская станции принадлежали Министерству энергетики и электрификации. В правительственном Постановлении было указано, что нестандартное оборудование для четырех блоков первых очередей этих станций будет изготовлено теми же заводами, что и для Ленинградской. Но для Минсредмаша правительственное Постановление не указ даже и в то время, когда еще немного слушались правительства. Говорят, у вас есть свои заводы, вот и делайте, чертежи дадим. Был я на некоторых заводах вспомогательного оборудования Минэнерго — оснащение на уровне плохоньких мастерских. Поручать им изготовление оборудования для реакторного цеха все равно, что плотника заставлять делать работу столяра. Так и мучились с изготовлением на каждый блок. Что-то удавалось сделать, чего-то так и не было. Характерно, вот уж поистине застой, Минэнерго за несколько лет так ни одного своего завода и не модернизировало, чтобы был способен изготавливать не столь уж сложное оборудование.

Между тем, продолжалось строительство энергоблоков с реакторами РБМК-1000 первого поколения. К ним также относились 1 и 2 блоки Курской (начало строительства – 1972 и 1973 года, ввод в эксплуатацию – 1977 и 1979 года соответственно) и Чернобыльской АЭС (начало строительства – 1970 и 1973, ввод в эксплуатацию – 1978 и 1979 года соответственно). А дальше началось проектирование и строительство энергоблоков с реакторами РБМК второго поколения.


В чём отличия от поколений 1 и 1+? Во-первых, увеличенный барабан-сепаратор. Во-вторых, трёхканальная САОР, которая теперь снабжала аварийный реактор водой не только из гидробаллонов, но и через питательные насосы. В-третьих, теперь для локализации радиоактивных веществ, выброс которых нельзя было допустить в атмосферу в случае аварии, были предусмотрены двухэтажные бассейны-локализаторы, которые должны были эти радиоактивные вещества аккумулировать. Ну и наконец, теперь реакторные отделения строились дубль-блоком, иными словами, они составляли одно здание, хотя блоки и были разделены. Ранее каждый реактор строился в своём здании.

Панорама Курской АЭС, вид со стороны машзала. Видны и два первых блока (ближние, с кучей труб), и третий с четвёртым, размещённые в дубль-блоке (дальние, с большой трубой как на ЧАЭС)


К реакторам нового типа с повышенным уровнем безопасности относились энергоблоки 3 и 4 Курской АЭС (начало строительства – 1978 и 1981 года, ввод в эксплуатацию – 1984 и 1986 соответственно), 3 и 4 Чернобыльской АЭС (начало строительства – 1972 и 1971 года, ввод в эксплуатацию – 1982 и 1984 соответственно), 1 и 2 Смоленской АЭС (начало строительства – 1975 и 1976 года, ввод в эксплуатацию – 1983 и 1985 соответственно). Кроме того, сюда же относят и 3 и 4 энергоблоки Ленинградской АЭС (начало строительства – 1973 и 1975 года, ввод в эксплуатацию – 1980 и 1981 соответственно), но они были промежуточными, отличаясь устройством ряда систем как от более ранних, так и более поздних энергоблоков.

Игналинская АЭС


Отдельно следует упомянуть об Игналинской АЭС. Её оснастили модифицированной версией реактора – РБМК-1500. Как можно догадаться из индекса, электрическая мощность данного реактора составляла 1500 МВт. Достигалось увеличение путём интенсификации теплообмена в ТВК при сохранении размеров реактора. Однако реальная мощность составляла 1300 МВт, так как на номинале и повышенной мощности происходило неравномерное выгорание топлива и растрескивание оболочек ТВЭлов. До аварии на ЧАЭС в 1986 году успели сдать в эксплуатацию один блок (начало строительства – 1975, ввод в эксплуатацию – 1984 год). Ещё один блок должны были пустить в 1986 году, однако из-за аварии на ЧАЭС пуск и ввод в эксплуатацию перенесли на год (начало строительства – 1978, ввод в эксплуатацию – 1987 год). Также после аварии заработал третий блок Смоленской АЭС с реактором РБМК-1000 (начало строительства – 1984, ввод в эксплуатацию – 1990 год). Все остальные достраивавшиеся блоки (КАЭС-5 (строительство остановлено в 2012 на степени готовности 85%), ЧАЭС-5 и 6 (строительство остановлено в 1986 году), САЭС-4 (строительство остановлено в 1993 году), ИАЭС-3 (строительство остановлено в 1988 году)) были законсервированы.


В дальнейшем планировалось ещё увеличить мощность реактора за счёт увеличения диаметра топливных каналов и других ухищрений с топливными кассетами (РБМК-2000 и РБМК-3600), использования перегретого пара (проекты РБМКП-2400 и РБМКП-4800). Кроме того, существовал более поздний проект МКЭР, который предполагалось оснащать двойной защитной оболочкой, четырёхконтурной системой принудительной циркуляции воды против двухконтурной у РБМК, а также рядом новшеств, направленных на снижение расхода топлива и повышение КПД. Тем не менее, ни один из этих проектов дальнейшего развития не получил.


Подводя итог. Реактор большой мощности канальный электрической мощностью 1000 МВт (или РБМК-1000) представляет из себя циклопическое сооружение, которое массово распространилось по АЭС Советского союза и на протяжении многих лет являлось флагманом отечественной атомной индустрии. При этом большинство энергоблоков с этим реактором до сих эксплуатируются, хоть и с условием постоянной модернизации для повышения безопасности. О недостатках машины (в том числе и критических) мы поговорим в одной из следующих частей цикла (причём ближе к концу). А в следующей части — о ЧАЭС, Припяти и Чернобыльском крае.


Источник: https://vk.com/wall-162479647_42266

Автор: Александр Старостин. Альбом автора: https://vk.com/album-162479647_257670646

Личный хештег автора в ВК - #Старостин@catx2, а это Оглавление Cat_Cat (31.12.2019)

Показать полностью 16
267

Чернобыль ч.2. Чернобыльский край

Автор: Александр Старостин.

В предыдущих сериях:

Чернобыль ч.1. РБМК-1000


Продолжаем выставлять декорации к аварии. На сей раз два слова о местности, которую задело аварией. Прошу простить за поверхностность, но всё-таки про Полесье можно говорить бесконечно. Здесь же сосредоточимся на небольшом (относительно) куске региона, который имел длинную историю, которую изменил 1966 год (и нет, это не опечатка).

Какие тут красивые места!

Сергей Мирный. «Живая сила. Дневник ликвидатора»

До ЧАЭС


На всём протяжении украинско-белорусской границы, от Польши до России раскинулся весьма специфичный и интересный Полесский край. Историю он имеет долгую. Считается, что вдоль реки Припять около 3.5 тысяч лет назад проходила северная граница восточношинецкой археологической культуры, которая, как предполагают учёные, стала истоком праславянского этноса. Первые упоминания о том, что в этом регионе проживают люди, есть у Геродота, который называет их «неврами». Позже местность нередко упоминалась в различных летописях и стала свидетелем становления Руси. Национальный состав здесь тоже был пёстрым, так как в регионе обитали племена древлян, полян и дреговичей.

Ну для общего представления

И ещё вариант


Первые упоминания Чернобыля относятся к XII веку. В 1127 году город назывался Стрежев. Позднее город засветился в Ипатьевской летописи, согласно которой в этом районе в 1193 году охотился сын Киевского князя Рюрика Ростиславича, от которого (сына в смысле) и получил своё нынешнее название. В XIII веке неподалёку от устья Припяти произошло сражение, в котором, по мнению некоторых историков, монголы потерпели первое крупное поражение на Руси. В дальнейшем регион перешёл сначала под литовскую, а затем, в XV столетии, польскую власть. В эти времена рядом с городом был построен замок, реконструированный затем в крепость.


С польским периодом связана одна интересная история. В Чернобыле в 1768 году на свет появилась Розалия Ходкевич-Любомирская. Малоизвестная у нас, она успела отметиться своими достаточно яркими политическими действиями в разделяемой Речи Посполитой и Франции. Девушка, как считалось, была хорошо знакома с Марией-Антуанеттой, да и вообще открыто поддерживала роялистов, что в якобинской Франции хорошо кончиться не могло. Розалию гильотинировали 21 июня 1794 года. Как Розалия Чернобыльская она упоминалась в записях современников и потомков.

Розалия Любомирская-Ходкевич ака Чернобыльская. На любителя.


В середине XVIII веке, незадолго до перехода города в состав Российской империи (1793 год), город стал центром хасидизма – течения иудаизма, широко распространённого среди еврейских подданных Речи Посполитой. Тогда была основана чернобыльская хасидская династия. В ходе революций и гражданской войны еврейское население, составляющее большинство жителей города (из 10800 человек евреев было 7200 по состоянию на 1898 год), серьёзно пострадало от погромов, после чего 1920 году чернобыльская династия покинула город. Оставшихся евреев уничтожили в годы ВОВ. В ходе Советско-польской войны на какое-то время Чернобыль перешёл в руки поляков, однако был отбит Красной армией, после чего включён в УССР.

Менахем Нахум Тверский, основатель чернобыльской династии хасидов. Считается, что именно Тверские, выходцы из Чернобыля, вплоть до революции занимали главенствующее положение среди украинского еврейства


Географически Полесская низменность представляет из себя болотистые леса. Если взглянуть на карту в районе Припяти, то можно увидеть, что река постоянно петляет, образуя множество стариц. Такие условия обусловили удобство действий партизан (тяжёлой технике здесь не проехать). Кроме того, именно обилие лесов и болот позволило до сегодняшнего дня сохранить уникальную полесскую культуру. Местные жители больше жили охотой, рыбалкой и собирательством. Легенда о вовкулаке, то есть об оборотне, пришла через Куприна в классическую литературу. Полесские оборотни отличались от своих западноевропейских собратьев меньшей жестокостью, а также рядом других особенностей. Здесь и в двадцатом веке сохранились дохристианские обычаи, например, обряд «изгнания русалки».

Суть этого обряда опирается на древние верования в то, что души умерших невинных девушек блуждают в нашем мире, и только на Русальной неделе (на Троицу) они получают возможность попасть на «тот свет». Чтобы проводить «русалок», специально ряженную девушку в венках поздним вечером водили сначала по селу, затем по ржаному полю, а после приводили на кладбище, где венки срывали и бросали на землю.


Сергей Паскевич, Денис Вишневский. «Чернобыль. Реальный мир.»

Русалки по мнению художника Константина Маковского


Вполне естественно, что Полесье серьёзно пострадало в ходе Великой Отечественной войны. В 1941 году здесь развернулась битва за Киев, закончившаяся Киевским котлом. Очень быстро начали организовываться партизанские отряды, самым знаменитым из которых был, конечно, отряд Сидора Ковпака. Восточное Полесье превратилось в самый настоящий партизанский край.

Лесопилка в селе Вильча. От АЭС оно удалено на 50 км, сейчас расселено.


АЭС


После войны в соответствии с планом Совмина в 1966 году начался выбор площадки для будущей первой АЭС на территории Украины. В результате было выбрано место в 4 километрах от села Копачи. Причин тому было несколько. Во-первых, местность была признана малопродуктивной для сельского хозяйства. Во-вторых, рядом находилось несколько крупных магистралей – это и Припять с Днепром, и железная дорога Чернигов-Овруч со станцией Янов прямо рядом с будущей АЭС. Следующие несколько лет были потрачены на создание техзадания, уточнение плана и прочие формальности. В итоге 14 декабря 1970 года, когда уже началось строительство первого энергоблока и города атомщиков, Совет министров СССР утвердил (спустя полтора года) совместное постановление Минэнерго и Минсредмаша об использовании на станции реактора типа РБМК-1000. Причин выбора именно этого реактора было две: во-первых, страна не могла обеспечить серийного производства необходимого количества корпусов для реакторов ВВЭР, которые, во-вторых, тогда не могли обеспечить мощность в 1000 МВт, требуемую от каждого блока станции. Именно поэтому для быстрого роста количества вырабатываемой энергии РБМК казался наиболее удобным вариантом. Более того, его мощность можно было относительно легко и быстро увеличить. В мае 1970 года началась разметка будущего энергоблока, а 4 февраля были начаты работы по постройке города атомщиков – Припяти. Директором станции был назначен Виктор Брюханов.


При строительстве АЭС и Припяти с карты исчезли три населённых пункта - села Нагорцы и Семиходы и хутор Подлесный. Первый и последний были затоплены при строительстве пруда-охладителя АЭС, а Семиходы были съедены городом атомщиков. Впрочем, от них осталась память - сейчас сотрудники АЭС приезжают на одноимённую ж/д станцию.


Строительство ожидаемо столкнулось с проблемами в виде нехватки материалов и постановки невыполнимых планов. Доходило до того, что первый секретарь ЦК Компартии Украины Владимир Щербицкий подал докладную записку председателю Совмина СССР Алексею Косыгину после срыва плана по запуску первого энергоблока ЧАЭС в 1975 году.

Не раз встречал в печати и по Чернобыльской АЭС, что из-за досрочной сдачи — низкое качество строительства и монтажа. Не знаю. Я приехал на станцию в сентябре 1973 г. На здании столовой - лозунг о пуске первого блока в 1975 г. Прошел срок — пятерку переписали на шестерку. Фактически первый энергоблок ЧАЭС был запущен 26 сентября 1977 г. Второй блок - в декабре 1978 г., но, надо полагать, срок его был сдвинут из-за задержки пуска первого. Также и два последующие блока. О досрочной сдаче говорить не приходится. Интересно, что до 31 декабря говорить вслух о невозможности пуска в этом году нельзя. Потом приезжает эмиссар и начинается составление новых нереальных планов и графиков. Составили, подписали, уехал эмиссар. И тут в первое время начинается нервотрепка из-за жесткого контроля выполнения графика, невыполнимого с момента составления. Жесткие оперативные совещания, ночные вызовы на работу. Неизбежное отставание увеличивается, контроль спадает, начинается нормальная работа. До следующего приезда руководителя…


А графики. Их, оказывается, можно составлять по всяким разным поводам, и все это без обоснования обеспечения рабочими, материалами и оборудованием. Только исходя из срока, названного приехавшим начальником. Нечего и говорить, что они не соблюдались. Кроме второго блока, на остальные штук по десять было графиков сдачи помещений. Приезжает начальник «Главатомэнерго» Невский и появляется график сдачи систем трубопроводов. График составляется в июне, а в августе, исходя из назначенного срока пуска, уже идет промывка КМПЦ первого контура. Трубы контура диаметром 800 мм, сварка ответственная, аттестовано всего несколько сварщиков. На каждое сварное соединение по технологии уходит семь дней. И что интересно: Невский, в недавнем прошлом монтажник, не мог не видеть нереальности сроков. Приезжает работник ЦК Марьин, кажется, в прошлом электромонтажник, и график уже составляется другой — наладки электрифицированных задвижек. И так далее.


Анатолий Дятлов.

Параллельно начали вести обоснования по расширению станции до четырёх блоков и повышению её мощности до 4000 МВт. Между тем 14 декабря 1977 года был подписан акт приёмки первого энергоблока, хотя реально на полную мощность он вышел только 24 мая 1978 года. Спустя год и 4 дня на проектную мощность вышел уже второй блок, а 5 октября 1979 года оба блока были полностью выведены на номинальную мощность К этому моменту станция уже успела выработать больше 10 миллиардов кВт·ч. Третий блок полную мощность в 1000 МВт освоил 9 июня 1982 года, а его брат-близнец четвёртый — 28 марта следующего года. Уже в августе того же года ЧАЭС преодолела рубеж в 100 миллиардов кВт·ч. Параллельно велось строительство пятого (начало строительства – 1 января 1981 года, ожидаемый пуск в 1986 году) и шестого блока (начало строительства – 1 января 1983 года). По итогам одиннадцатой пятилетки (1981-1985) ЧАЭС была представлена к получению ордена Ленина.


Не достигший совершеннолетия


Словом, строительство шло быстрыми темпами. Вместе со станцией развивался и атомоград. Первый колышек и первый ковш для фундамента первого здания был извлечён 4 февраля 1970 года. Строительство было провозглашено Всесоюзной ударной стройкой. Первыми жителями стали те самые комсомольцы-строители, а также работники станции. Находясь на перекрестье целого ряда транспортных путей, а также являясь городом-спутником самой большой АЭС в Европе, город был обречён на стремительный рост и превращение в витрину социализма.

Припять, Проспект Строителей. До аварии закончить не успели.


Припять застраивалась по так называемому «треугольному типу застройки». Согласно этому принципу, внутри микрорайонов, имевших треугольную форму, здания должны были иметь чередующуюся этажность. Крупные магистрали должны были пересекаться с помощью круговых развязок, а не перекрёстков. Такая схема, как считалось, помогала сделать дорожные заторы невозможными даже при максимальной проектной численности населения в 80-90 тыс. чел. По аналогичной схеме строились и микрорайоны в, например, Тольятти и Волгодонске. Припять активно украшали различными панно, даже неоновыми вывесками. Строители и проектанты пытались гармонично вписать в город каждый кустик и деревце, благодаря чему населённый пункт изобиловал красивыми местами.

А это строительство 1-го и 2-го микрорайонов города, Проспект Ленина


Не забывали и о культурной части. В городе были построены дом культуры, гостиница, кинотеатр, дом книги, целый ряд образовательных и медицинских сооружений. Всё это привело к тому, что Припять активно заселяла молодёжь – средний возраст жителей на момент аварии составлял примерно 26 лет. К 26 апреля 1986 года в Припяти жило менее 50 тыс. человек в 5 микрорайонах, так что жители чувствовали себя вольготно, несмотря на постоянный прирост населения - шутка ли, каждый год в городе рождалось больше тысячи младенцев. Город готовился к расширению для приёма будущих работников третьей очереди АЭС – на момент аварии уже была готова площадка под шестой микрорайон. К маю 1986 года собирались открыть колесо обозрения в парке культуры и отдыха. Обилие интеллигентной молодёжи, связанной риском потерять престижную работу, накладывало особый отпечаток на городскую жизнь. В Припяти было в целом спокойнее, чем в других провинциальных городках СССР. Преступлений совершалось немного, жители даже позволяли себе отпускать детей гулять одних и не запирать квартиры, хотя периодически происходили кражи личного имущества. Совершались и убийства, за одно из которых в ходе показательного процесса убийца получил смертный приговор. По городу ходили самопальные распечатки диссидентов.

По вечерам публика гуляла по местному Бродвею - улице Ленина, устраивала посиделки в кафе «Припять» и культурно выпивала на берегу реки у пристани. Молодежь рвалась на легендарную дискотеку «Эдисон-2» Александра Демидова, проходившую в местном ДК «Энергетик». Билетов частенько не хватало, и тогда несчастный дворец подвергался настоящему штурму разгоряченных любителей танцев. Эта дискотека пережила Припять на целую пятилетку, собираясь уже в новом Славутиче.


Артур Шигапов. «Чернобыль, Припять, далее нигде…»

Припять располагалась в 2 км от станции, Чернобыль – в 18 км. А практически между ними, завершая треугольник, в 9 км от ЧАЭС расположилась загоризонтная радиолокационная станция Дуга. Её задачей было обнаружение массированного старта американских межконтинентальных баллистических ракет. В 60 км, под городом Любеч, располагался передатчик, посылавший радиолучи в стан вероятного противника. Комплекс, расположившийся в закрытом городке Чернобыль-2, был лишь принимающим. Представлял он собой связку из двух гигантских антенн, видимых со всей Зоны отчуждения – низкочастотной (высота мачт от 135 до 150 метров, длина — от 300 до 500 метров) и высокочастотной (порядка 250 метров в длину и до 100 метров в высоту). А рядом располагалась ещё одна РЛС, предназначенная для слежения за стратегическими бомбардировщиками вероятного противника. Все радары использовали принцип фазированной антенной решётки. В 1985 году Дуга встала на боевое дежурство ПВО СССР, однако не прошла испытания. Основной причиной стало совпадение частот работы РЛС с гражданскими частотами. Дуга их заглушала характерным звуком, за который её прозвали русским дятлом. К 1986 году станция прошла полную модернизацию и готовилась выйти на госиспытания. А рядом расположился малюсенький ПГТ с единственной улицей Курчатова – Чернобыль-2.


Информация собрана с бору по сосенке, часть источников указана внутри статьи, часть уже не восстановлю за давностью подготовки текста, но отдельное спасибо вот этим ребятам за фотки Припяти: https://vk.com/chernobyl_world


Источник: https://vk.com/wall-162479647_42890

Автор: Александр Старостин. Альбом автора: https://vk.com/album-162479647_257670646

Личный хештег автора в ВК - #Старостин@catx2, а это наше Оглавление Cat_Cat (31.12.2019)

Показать полностью 8
160

Чернобыль. ч.3. Терминологическая справка

Автор: Александр Старостин.

Предыдущая часть: Чернобыль ч.2. Чернобыльский край

Эта часть больше для технарей, хотя я как гуманитарий очень старался определить простым языком несколько важных терминов, понимание которых необходимо в дальнейшем. Плюс внутри ещё парочка вводных, которые позволят углубиться в понимание процессов, которые привели к аварии на ЧАЭС. Ну и до кучи в двух словах о программе рокового эксперимента.

Всё, декорации расставлены, пролог закончен, со следующей части приступаем к первому акту чернобыльской драмы.


Несколько важных терминов


При разговоре об авариях на реакторах РБМК часто упоминается ряд профессиональных терминов, которые ни о чём не говорят человеку, далёкому как минимум от ядерной физики. Однако без их понимания невозможно и объяснение произошедшего в 1975 и 1986 годах выше уровня обывателя.


Итак, первый термин – реактивность. Реактивность – это величина, характеризующая поведение цепной реакции. Попросту говоря, это степень отклонения реактора от его критического состояния. При реактивности равной нулю реакция идёт с постоянной скоростью (критическое состояние), при реактивности большей нуля реакция ускоряется (надкритическое состояние), а при реактивности меньшей нуля – замедляется (подкритическое состояние). Выражаться она, будучи безразмерной величиной, может в различных относительных и условных единицах, чаще всего в процентах.


С реактивностью связано ещё несколько важных терминов – оперативный запас реактивности (ОЗР), паровой и мощностной коэффициенты реактивности (ПКР и МКР), а также йодная яма. Для начала определимся с ОЗР.


Итак, при выводе из активной зоны реактора стержней управления и защиты реакция начинает развиваться, высвобождается некая положительная реактивность, то есть, попросту говоря, энергия. Если из реактора вывести сразу все стержни, то высвободившаяся при этом величина положительной реактивности называется общим запасом реактивности. При работе реактора на постоянной мощности изменения реактивности должны нарастать медленно, однако на деле это не так вследствие быстрого развития ряда процессов. Поэтому необходимо, чтобы хотя бы какую-то часть общего запаса реактивности операторы реактора могли контролировать. Собственно говоря, эта часть, компенсируемая подвижными поглотителями нейтронов, и называется оперативным запасом реактивности (ОЗР).


ОЗР – тоже безразмерная величина, однако для удобства работы её могут измерять в неких условных единицах. В нашем случае (так принято делать в работе с реакторами РБМК) такой величиной является эффективное количество полностью погруженных стержней ручного регулирования системы управления и защиты. Выраженный в стержнях ОЗР показывает запас, имеющийся у оператора для увеличения мощности, то есть, грубо говоря, количество стержней, которое можно вывести из активной зоны. Однако тут нужно понимать, что ОЗР в стержнях – показатель относительный, потому что если вывести половину стержней наполовину, а вторую половину – на четверть, то результат может равняться, например, 15 выведенным полностью стержням, в то время как остальные полностью введены (значения взяты с потолка, в реальности они абсолютно иные – прим. А.С.). Для реакторов благоприятным является низкий ОЗР. Во-первых, снижается количество поглощённых нейтронов, которые можно было бы использовать для производства энергии. Во-вторых, при низком ОЗР уменьшается вносимая за раз при случайном (или специальном) извлечении стержня СУЗ положительная реактивность, что не позволяет реактору мгновенно развить очень высокую мощность.


Паровой коэффициент реактивности (ПКР) – это величина, обозначающая степень влияния паросодержания на реактивность. Вода, проходя через активную зону, греется и частично испаряется, образовывая пузырьки (с точки зрения терминологии - пустоты). Доля пустот в теплоносителе называется паросодержанием. В зависимости от ряда условий пар может служить как для замедления реактора (тогда ПКР отрицательный), так и для разгона (ПКР положительный).


Мощностной коэффициент реактивности (МКР) – это величина, которая характеризует изменение реактивности реактора при изменении мощности. Соответственно МКР может быть как положительным (реактивность повышается при повышении мощности реактора), так и отрицательным (реактивность снижается). В правильно спроектированном реакторе МКР отрицательный, то есть реактор не может саморазогнаться.


Состояние, при котором йод-135 или ксенон-135 образуются в реакторе в большом количестве, в результате чего операторы вынуждены снижать ОЗР (то есть увеличивать количество извлечённых стержней) для поддержки реакции, а выход реактора на проектную мощность на протяжении 1-2 суток делается практически невозможным, называется йодной ямой или ксеноновым отравлением реактора. Своё название явление получило из-за графика зависимости реактивности от концентрации ксенона-135 в реакторе, представляющего из себя яму с минимальным значением реактивности при максимальной концентрации изотопа.

Вот поэтому она и яма (см. красную линию)


При работе атомного реактора в активной зоне происходит множество различных событий и реакций, распадаются и появляются различные элементы. Одним из таких элементов является короткоживущий изотоп йода - 135I. Период полураспада этого элемента – примерно шесть с половиной часов, при этом одним из его продуктов является изотоп ксенона 135Xe, период полураспада которого больше – девять с небольшим часов. При работе реактора на полной мощности проблем с этим нет, так как оба эти изотопа как бы выгорают в плотном потоке нейтронов. А вот на малых мощностях, например при снижении или при выходе на мощность после пуска, нейтронный поток ещё не столь силён, а значит, не способен препятствовать обильному образованию йода-135 и, как следствие, ксенона-135.


Вспомним конструкцию стержней СУЗ. Они состоят из графитового вытеснителя длиной 4.5 метра, соединённого с семиметровым поглотителем из карбида бора. Под и над вытеснителем находился столб воды, которая, в отличие от графита, хорошо поглощает нейтроны. При поступлении команды на ввод поглотителя, вытеснитель начинает идти вниз, вытесняя воду и вводя тем самым положительную реактивность в этой зоне. Ведь графит поглощает нейтроны куда хуже, а значит, они начинают работать на разгон реактора. Такой ввод положительной реактивности называют концевым эффектом или положительным выбегом реактивности.

Игналинская АЭС


Впервые его обнаружили при физических пусках (то есть первых пусках после постройки реакторов) на Игналинской АЭС и на второй очереди ЧАЭС. Тогда выяснилось, что сам по себе положительный выбег реактивности невелик и легко компенсируется наличием достаточно большого количества введённых хотя бы наполовину стержней СУЗ. Тем не менее, на ЧАЭС было принято решение отделить вытеснители от стержней автоматического регулирования, оставив их лишь на стержнях ручного регулирования. Кроме того, на все АЭС были разосланы два письма. Одно от НИКИЭТ – конструкторов реактора, другое от Научного руководителя (ИАЭ им. Курчатова). Тем не менее, письма, хоть и содержавшие определённые предложения по исправлению ситуации (отрезание вытеснителей, например), были положены руководствами станций под сукно до востребования и получения дальнейших инструкций, так как их тон был в целом благостный, не дающий серьёзных причин для беспокойства. Никаких упоминаний (кроме нижнего ограничения ОЗР в 15 стержней ручного регулирования) в регламентах об эффекте не было. Запомните этот момент, он нам понадобится дальше.


Предвестники


Авария 1986 года была не первым серьёзным инцидентом с реакторами РБМК. До неё произошло ещё две крупных аварии, закончившихся выбросом радиоактивных веществ за пределы предназначенных для этого зон. Однако вторая – авария 1982 года на ЧАЭС - была следствием брака при изготовлении канальной трубы. В результате был разрушен один из технологических каналов. Она нам малоинтересна.


А вот первая – авария на Ленинградской АЭС 30 ноября 1975 года. Тогда фактически шли ещё натурные испытания первого реактора типа РБМК, хотя первый (и пока ещё единственный официально введённый в эксплуатацию) энергоблок уже работал год.


В тот день на плановый ремонт выводился один из турбогенераторов. Его разгрузили, но по ошибке старший инженер управления реактором отключает не его, а второй, оставленный в работе ТГ. Сработала система защиты, реактор был заглушен. При этом реактор был отравлен йодом-135. Реактор и турбогенератор необходимо было быстро вернуть в работу. В условиях резко снизившегося из-за йодной ямы ОЗР операторам пришлось пойти на нарушение регламента и извлечь практически все стержни ручного регулирования, дабы как можно скорее вывести мощность на минимально контролируемый уровень. Тем не менее, первая попытка персонала не удалась – сработала автоматическая защита, обнаружившая несимметричность мощности в разных частях реактора. Персонал начал снова выводить реактор на минимально контролируемый уровень мощности. И вот тут началась авария.


Дело в том, что из-за огромных размеров самой активной зоны, в ней могут образовываться «локальные реакторы», в которых мощность отличается от «средней по больнице». Одной из таких зон стал канал, примыкающий к тепловыделяющей кассете 13-33. Она оказалась разотравлена, в отличии всей остальной активной зоны. В результате, пока операторы выводили из йодной ямы весь реактор, ТК 13-33 начала перегреваться и разрушаться. В итоге из неё прямо на графит попали вода и топливо. Датчики в блоке щитового управления, где находились операторы, это показали. Реактор был аварийно заглушен.


Результат - разрушено 32 тепловыделяющих сборки и один технологический канал. В контур многократной принудительной циркуляции (КМПЦ – трубы, по которым вода проходила по замкнутому маршруту реактор-турбина-реактор) и графитовую кладку попало большое количество радиоактивных веществ. Система фильтрации не справилась с количеством этих веществ во время очистки оборудования, а потому они были выброшены за пределы станции. Загрязнение коснулось Ленинградской области, а также стран Скандинавского полуострова. Оценки общей активности, выброшенной за пределы ЛАЭС колеблются от 137 тысяч до 1.5 миллиона Кюри. Авария была мгновенно засекречена, так как проходила в ведомости лишь одного министерства – среднего машиностроения, отвечавшего за всю советскую атомную программу, а также эксплуатацию ЛАЭС. По итогам расследования аварии была произведена серьёзная модернизация изначального проекта реактора РБМК – увеличили количество стержней СУЗ, ввели системы локального автоматического регулирования (ЛАР) и локальной автоматической защиты (ЛАЗ), ограничили минимальны ОЗР 15 стержнями, закрепив это регламентом.


В статье инженера-физика Виталия Абакумова, присутствовавшего при аварии на ЛАЭС и являвшегося непосредственным участником событий, хорошо описаны причины, толкнувшие персонал на нарушение регламента, приведшее в итоге к аварии.

ЗНСС (заместитель начальника смены станции) и СИУР (старший инженер управления реактором) без колебаний идут на нарушение технологического регламента, стремясь минимизировать последствия ошибки оператора при отключении ТГ (турбогенератора) и отработать доминирующую установку того времени на выполнение плана по выработке электроэнергии. Разумеется, и в те времена нарушения технологического регламента официально не приветствовались. Однако нарушения технологического регламента, связанные с нарушением нижнего предела ОЗР, не осознавались тогда, как опасные, и руководители всех уровней закрывали глаза на подобные нарушения в ситуациях, когда эти нарушения были направлены на выполнение плана и не имели последствий. Поэтому нарушения по нижнему регламентному пределу величины ОЗР были на ЛАЭС привычной практикой, негласно воспринимались как свидетельства особого мастерства СИУРа и лояльности установкам руководства и, соответственно, мотивировались. <…> По мнению опытных НСС (начальников смены станции) с сибирским опытом «Карраск слишком быстро «тянул» мощность». «А иначе бы меня обвинили в неоперативности» - парировал М.П. Карраск. (Михаил Карраск – старший инженер управления реактором в ту ночную смену. Прим. А.С.)

В конечном итоге Карраск и его коллеги получили выговор.

Молодой Карраск. Питерцы, запомните это лицо — он спас вас от Чернобыля в Ленобласти


Именно такая порочная практика позже сыграла свою роль и на ЧАЭС, да и вообще много где.


Рабочая программа испытаний турбогенератора № 8 Чернобыльской АЭС в режимах совместного выбега с нагрузкой собственных нужд


За сложным названием скрывается простая в принципе идея. Если в результате аварии станция будет отключена от сети, а реактор нужно будет заглушить, то необходимо будет обеспечить электроснабжение защитных систем на самом опасном этапе расхолаживания (охлаждения) реактора, когда он ещё на высокой мощности. Энергию предполагалось брать из выбегающего генератора. Дело в том, что вращение турбины, а значит, генерация энергии прекращается не сразу после отключения реактора, ведь у турбины большая инерция. Это называется выбегом. Соответственно, предполагалось, что обеспечиваться системы охлаждения реактора будут от выбегающего генератора. Идея выдвигалась в том числе и главным конструктором, и научным руководителем. Формально эксперимент проводился по заявке предприятия Донтехэнерго.


Впервые эксперимент был проведён в 1982 году на третьем энергоблоке ЧАЭС. Тогда потребовалось доработать ряд систем турбогенератора. В 1984 и 1985 годах снова проводились такие испытания, их не смогли завершить по техническим причинам. Нужно отметить, что постепенно эксперименты усложнялись. Так, начиная с 1984 года, для проведения эксперимента выводилась из работы система аварийного охлаждения реактора (САОР), а начиная с 1985 – к сети подключали два главных циркуляционных насоса (ГЦН). 26 апреля 1986 года эксперимент до конца довести смогли и записали все необходимые параметры. После этого была отдана роковая команда глушить реактор.


Нужно отметить, что очень часто блокировку САОР ставят в вину персоналу, в том числе и первая советская комиссия. Однако все последующие комиссии, а в частности, комиссия Госпроматомэнергонадзора 1991 года во главе с Н.А. Штейнбергом, прямо заявляли:

…отключение САОР не повлияло на возникновение и развитие аварии, поскольку хронология основных событий, предшествовавших аварии, и хронология развития самой аварии, показали, что не было зафиксировано сигналов на автоматическое включение САОР. Таким образом, "возможность снижения масштаба аварии" из-за отключения САОР была не потеряна, а в принципе отсутствовала в конкретных условиях 26 апреля 1986 г.

Источник: https://vk.com/wall-162479647_43052

Автор: Александр Старостин. Альбом автора: https://vk.com/album-162479647_257670646

Личный хештег автора в ВК - #Старостин@catx2, а это наше Оглавление Cat_Cat (31.12.2019)

Показать полностью 3
352

Чернобыль ч.4. Авария

Автор: Александр Старостин.

Предыдущие части:

Чернобыль ч.1. РБМК-1000

Чернобыль ч.2. Чернобыльский край

Чернобыль. ч.3. Терминологическая справка

В один час двадцать три минуты сорок семь секунд реактор разрушился в результате теплового взрыва, вызванного разгоном мощности на мгновенных нейтронах. Это крах, предельная катастрофа, которая может быть на энергетическом реакторе. Ее не осмысливали, к ней не готовились, никаких технических мероприятий по локализации на блоке и станции не предусмотрено. Нет и организационных мер.

Растерянность, недоумение и полное непонимание, что и как это случилось, недолго владели нами. Навалились совершенно неотложные дела, выполнение которых вытеснило из головы все другие мысли.

Оглядываясь в прошлое, не знаю как и сказать - давнее (прошло больше пяти лет) или недавнее: все и до сих пор стоит перед глазами - с полным основанием констатирую, что тогда мы сделали все возможное в той экстремальной обстановке. Больше сделать полезного ничего было нельзя. Никакой паники, никакого психоза я не наблюдал. Ни один человек самовольно не покинул блок, уходили только по распоряжению. Все мы вышли из этого испытания с тяжкими повреждениями здоровья, для многих — роковыми.


Анатолий Дятлов, бывший заместитель главного инженера по эксплуатации ЧАЭС

***

…Ведь что такое авария? Это в какой-то степени объяснимое, вероятное явление. Её возможность всегда учитывается при разработке любого технического проекта. В том числе и проекта реактора. Точнее сказать, учитывается вероятность разного рода аварий… Другое дело – катастрофа, событие непредсказуемое, которое предвидеть нельзя.


Николай Антонович Доллежаль, академик АН СССР и России, обладатель множества государственных наград, главный конструктор советских канальных реакторов, в частности реакторов типа РБМК

Они работали по инструкциям


Итак, 25 апреля 1986 года в 1 час 6 минут реактор РБМК-1000 4 энергоблока Чернобыльской АЭС начал разгружаться для вывода на плановый ремонт. Обычно в ходе плановых заглушений реактора проводились различные эксперименты. Так было и в этот раз. На 4 энергоблоке в тот день должно было пройти в общей сложности 4 эксперимента, в том числе и эксперимент на выбег турбогенератора №8. К 3 часам 47 минутам мощность реактора достигла половины номинальной (1600 МВт тепловых). Спустя двадцать минут начались вибрационные эксперименты на турбогенераторах под руководством начальника смены блока Александра Акимова. В 8 часов утра смену принял Игорь Казачков. Изначально предполагалось, что эксперимент с выбегом должен был быть проведён именно на его смене. Реактор уже начали готовить – в час дня отключили турбогенератор №7, в работе остался ТГ №8. К двум часам было начато выполнение программы – отключили систему аварийного охлаждения реактора (САОР).

Готовясь к эксперименту, я действовал в соответствии с программой. Единственным отклонением в этой программе от действующих инструкций было выведение системы безопасности. Я на своей смене вывел систему безопасности. Это все было напечатано в программе. Я смотрел на каждый пункт - сделать то, сделать то-то. Смотрю от начала и до конца. И по этим пунктам всем я не вижу, чтобы они от нас требовали чего-то запрещенного инструкцией. Повторяю - единственное, это вывод САОР - системы аварийного охлаждения реактора.


Опять-таки: почему я это сделал… Эта система безопасности создана на случай, если произойдет разрыв трубопровода большого диаметра. Но это, естественно, очень маленькая вероятность. Я думаю, не больше, чем упадет самолет на голову. Да, я предполагал, что через час-два блок будет остановлен. Но почему в эти час-два, которые впереди, произойдет разрыв? Нет, не должен был произойти.


Игорь Иванович Казачков, начальник смены блока №4 25 апреля 1986 года с 8 до 16 часов, цитируется по документальной повести Ю.Щербака «Чернобыль»

Но в это же время дальнейшее заглушение блока, а как следствие и проведение эксперимента, было запрещено диспетчером Киевэнерго. Дело в том, что на одной из тепловых станций начались проблемы, а потому возникло проседание общего количества вырабатываемой энергии, которое нужно было по требованию плана компенсировать. 4 блок ещё вырабатывал около 500 МВт электрических, а потому мог закрыть обнаружившееся проседание.

Всегда очень трудно с диспетчерами… там куча пререканий… и с другой стороны, может, так и надо: все-таки блок-миллионник - и его остановка для энергосистемы может иметь серьезные последствия. Частота может упасть до аварийной…


Юрий Трегуб, начальник смены блока №4 25 апреля 1986 года с 16 до 00 часов, цитируется по документальной повести Ю.Щербака «Чернобыль»

Ещё в семь утра началось ксеноновое отравление, и оперативный запас реактивности (ОЗР) снизился до значения в 13.2 стержня, что было нарушением регламента, запрещавшего эксплуатацию реактора при ОЗР менее 15 стержней ручного регулирования. Однако, по словам Дятлова, всё было не совсем так. Он говорит о том, что компьютер в силу сбоя не учёл тот факт, что 12 стержней, которые находились в промежуточных положениях внутри активной зоны, с запасом компенсировали недостающие 1.8 стержня.


Так или иначе, но по данным оперативного журнала к половине четвёртого ОЗР уже повысился до 16.8 стержня, а к моменту получения разрешения диспетчера Киевэнерго на дальнейшее разрешение мощности (23 часа 10 минут) ОЗР составлял 26 стержней.


Это уже была заканчивающаяся смена Юрия Трегуба. Практически всю свою смену он занимался изучением программы испытаний.

Связаться с руководством я не мог, потому что в 5 часов уже никого не было, а желание с ними поговорить у меня появилось не сразу. Только после того, как я внимательно ознакомился с программой, только тогда у меня появилась куча вопросов к программе. <…> Программа мне не понравилась своей неконкретностью. Видно было, что ее составлял электрик - Метленко или кто там составлял из Донтехэнерго


Юрий Трегуб

Разрешения на начало эксперимента Трегуб не получил, начальство в лице главинженера станции Фомина и его зама Дятлова требовало от него дождаться Дятлова. К моменту передачи Трегубом смены Александру Акимову он уже присутствовал на блочном щите управления четвёртым блоком (БЩУ-4). На этом этапе мощность реактора составляла 720 МВт тепловых. Спустя 25 минут произошло одно из главных событий той ночи.


Акимов (чаще публикуется его фото в очках), Топтунов и Дятлов (фото с суда). Фотографии Трегуба и Казачкова найти не удалось, увы

Комиссия Госпроматомэнергонадзора 1991 года во главе с Н.А.Штейнбергом

Рисунок взрывов за авторством Константина Чечерова (почитайте — очень интересный человек) из книги Николая Карпана «Чернобыль. Месть мирного атома». Для понимания — схема ОР — дно активной зоны, схема С — опора реактора, схема Е — крышка реактора (её масса по разным оценкам составляет от 500 до 2000 тонн).

https://vk.com/video233919356_456239065

А это из богомерзкого фильма от Discovery «Секунды до катастрофы» про аварию на ЧАЭС. Фильм старый, изобилует фактическими ошибками (в том числе в фамилиях!). В первые секунды видео — кадры из интервью Александра Ювченко (пожалуй, единственная хорошая сторона «документалки») — инженера-механика на ЧАЭС в тот день. Аварию он пережил, но умер в 2008 году в возрасте 47 лет.


https://vk.com/video226518720_456239022

Ну и напоследок — отрывок из фильма «Мотыльки». Явный вымысел, конечно, но красиво. За качество не скажу — не смотрел. А смотревшей на кусок графитовой сборки девушке (а прилетевшая к ней штука - это именно она) явно не поздоровилось.

Кудрявцев и Проскуряков

В коридоре пыль, дым. Я вернулся на БЩУ и приказал включить вентиляторы дымоудаления. А сам через другой выход пошел в машинный зал.

Там картина, достойная пера великого Данте! Часть кровли зала обрушилась. Сколько? Не знаю, метров триста - четыреста квадратных. Плиты обрушились и повредили масляные и питательные трубопроводы. Завалы.

С двенадцатой отметки взглянул вниз в проем, там на пятой отметке находились питательные насосы. Из поврежденных труб в разные стороны бьют струи горячей воды, попадают на электрооборудование. Кругом пар. И раздаются резкие, как выстрел, щелчки коротких замыканий в электрических цепях.

В районе седьмого ТГ загорелось масло, вытекшее из поврежденных труб, туда бежали операторы с огнетушителями и разматывали пожарные шланги.

На кровле через образовавшиеся проемы видны сполохи пожара.


<…>


Ушел с БЩУ с намерением посмотреть обстановку в реакторном зале, куда выходит верх реактора. Не дошел. Встретил операторов газового контура И.Симоненко и В.Семикопова и операторов центрального зала О. Генриха и А.Кургуза. Толя Кургуз был страшно обожжён, кожа лица и рук свисает клочьями. Что под одеждой - не видно. Сказал им быстро идти в медпункт, куда уже должна прийти машина скорой помощи. Игорь Симоненко сказал, что здание реакторного цеха разрушено. Быстро прошел еще несколько метров по коридору на десятой отметке, выглянул из окна и увидел... точнее не увидел, ее не было — стены здания. По всей высоте от семидесятой до двенадцатой отметки стена обрушилась. Что еще - в темноте не видно. Дальше по коридору, вниз по лестнице и из здания наружу. Медленно иду вокруг здания реакторов четвертого, затем третьего блоков. Смотрю вверх. Есть на что посмотреть, но, как говорится, глаза бы мои не глядели... на такое зрелище. Несмотря на ночь и плохое освещение, видно достаточно. Кровли и двух стен цеха как не бывало. В помещениях через проемы отсутствующих стен видны местами потоки воды, вспышки коротких замыканий на электрооборудовании, несколько очагов огня. Помещение газобаллонной разрушено, баллоны стоят наперекосяк. Ни о каком доступе к задвижкам речи быть не может, прав В. Перевозченко. На кровле третьего блока и химцеха несколько очагов, пока еще небольших. Видимо, возгорание происходило от крупных фрагментов топлива, выброшенных взрывом из активной зоны. Может и от графита, хотя при мощности 200 МВт графит имел температуру не больше 350° С и, пролетев по воздуху, должен был охладиться. Но диспергированное (иначе говоря, гранулированное или порошкообразное – прим. А.С.) топливо могло внедриться в графит и тогда он разогревался после вылета из зоны. Правда, это сомнительно. Я не видел на земле светящихся кусков графита. И несветящихся не видел, хотя еще раз позднее обходил по улице оба блока. Но вниз я не смотрел, крупных кусков под ноги не попалось, так что не споткнулся ни разу.


Анатолий Дятлов

Кургуз и Перевозченко


Я вернулся, доложил, что помещение запарено. Здесь появился начальник смены Перевозченко. Схватил меня и говорит: "Пошли на улицу, увидишь, гидробаллоны развалились". Я выскочил на улицу, реально помню, что рядом были Юрченко и Перевозченко. Вижу: эти гидробаллоны огромные - как спички, валяются внизу…


Как только я это доложил, СИУБ кричит, что отказала арматура на технологических конденсаторах. Ну, опять я - я ведь свободен. Надо было в машзал… Нашел старшего оператора… но тут, конечно, что я увидел… В машзал нельзя было проскочить через дверь. Я открываю дверь - здесь обломки, похоже, мне придется быть альпинистом, крупные обломки валяются, крыши нет… Кровля машзала упала - наверно, на нее что-то обрушилось… вижу в этих дырах небо и звезды, вижу, что под ногами куски крыши и черный битум, такой… пылевой. Думаю - ничего себе… откуда эта чернота? Такая мысль. Это что - на солнце так высох битум, покрытие? Или изоляция так высохла, что в пыль превратилась? Потом я понял. Это был графит. <…>


Встречаю Проскурякова в коридоре. Он говорит: "Ты помнишь свечение, что было на улице?" - "Помню". - "А почему ж ничего не делается? Наверно, расплавилась зона…" Я говорю: "Я тоже так думаю. Если в барабан-сепараторе нет воды, то это, наверно, схема "Е" накалилась, и от нее такой свет зловещий". <…>


Я подошел к Дятлову и еще раз на этот момент ему указал. Он говорит: "Пошли".


И мы пошли по коридору дальше. Вышли на улицу и пошли мимо четвертого блока… определить. Под ногами - черная какая-то копоть, скользкая. Кто-то еще был с нами. Впереди Дятлов, я за ним, а третий увязался за нами - по-моему, кто-то из испытателей, из посторонних людей, любопытных. Я его чуть матом не отсылал, чтобы он не лез. Мне уже стало ясно, что здесь… Но он шел за нами… Если человек хочет…


Прошли возле завала… я показал на это сияние… показал под ноги. Сказал Дятлову: "Это Хиросима". Он долго молчал… шли мы дальше… Потом он сказал: "Такое мне даже в страшном сне не снилось". Он, видимо, был… ну что там говорить… Авария огромных размеров".


Юрий Трегуб

***

"Дозик" снова возвращается. Меряет. По роже видно, что хочется поскорей отсюда "свалить" Называет цифры. Ого! Прибор в зашкале! Фонит явно с коридора. За бетонными колоннами БЩУ дозы меньше. А "дозик" удрал тем временем. Шакал!


Выглянул в коридор. На улице ясное солнечное утро. Навстречу Орлов. Машет рукой. Из коридора заходим в небольшую комнату. В комнате щиты, пульты. Стекла на окнах разбиты. Не высовываясь из окна, осторожно смотрим вниз.


Видим торец 4-го блока… Везде груды обломков, сорванные плиты, стенные панели, на проводах висят искореженные кондиционеры… Из разорванных пожарных магистралей хлещет вода… Заметно сразу - везде мрачная темно-серая пыль. Под нашими окнами тоже полно обломков. Заметно выделяются обломки правильного квадратного сечения. Орлов именно потому меня и позвал, чтобы я посмотрел на эти обломки. Это же реакторный графит!


Дальше уже некуда.


Еще не успели оценить все последствия, возвращаемся на БЩУ-4. Увиденное так страшно, что боимся сказать вслух. Зовем посмотреть заместителя главного инженера станции по науке Лютова. Лютов смотрит туда, куда мы показываем. Молчит. Орлов говорит:


- Это же реакторный графит!


- Да ну, мужики, какой это графит, это "сборка-одиннадцать".


По форме она тоже квадрат. Весит около 80 кг! Даже если это "сборка-одиннадцать", хрен редьки не слаще. Она не святым духом слетела с "пятака" реактора и оказалась на улице. Но это, к сожалению, не сборка, уважаемый Михаил Алексеевич! Как заместителю по науке, вам это надо знать не хуже нас. Но Лютов не хочет верить своим глазам, Орлов спрашивает стоящего рядом Смагина:


- Может, у вас до этого здесь графит лежал? (Цепляемся и мы за соломинку.)


- Да нет, все субботники уже прошли. Здесь была чистота и порядок, ни одного графитного блока до сегодняшней ночи здесь не было.


Все стало на свои места.


Приплыли.


А над этими развалинами, над этой страшной, невидимой опасностью сияет щедрое весеннее солнце. Разум отказывается верить, что случилось самое страшное, что могло произойти. Но это уже реальность, факт.


Взрыв реактора. 190 тонн топлива, полностью или частично, с продуктами деления, с реакторным графитом, реакторными материалами выбросило из шахты реактора, и где сейчас эта гадость, где она осела, где оседает - никто пока не знает!


Аркадий Усков, старший инженер по эксплуатации первого энергоблока, цитируется по документальной повести Ю. Щербака «Чернобыль». Это запись из его дневника, в которой описывается работа на станции уже утром.

Ходемчук и Шашенок


Вообще в первичных действиях по ликвидации аварии роль зама старшего инженера станции огромна. Это не удивительно, так как он был старшим по должности среди находившихся в ту ночь на блоке. По его словам, присутствовал ещё начальник смены станции Борис Рогожкин, однако участия он практически никакого не принимал. Он оставался на БЩУ-3.


Дальше необходимо было обесточить как можно больше электроцепей, которые, будучи повреждёнными, постоянно создавали короткие замыкания, провоцируя пожары. Эта задача выпала на плечи работников БЩУ-4 во главе с Акимовым. Параллельно сливали в аварийные цистерны турбинное масло и замещали взрывоопасный водород азотом в электрогенераторах работники турбинного и электрического цехов во главе с Р.Давлетбаевым и А.Лелеченко. Также было принято решение о глушении третьего блока в условиях пожара на крыше (напомню, она была общей с уже не существовавшей крышей четвёртого). Да и остальные блоки необходимо было глушить.

Лелеченко и Давлетбаев. Первый умер ещё в 1986, второй — в 2017.

Что операция вредная - это выяснилось через несколько часов подачи воды. Вода из-за разрушения трубных коммуникаций до реактора (да и не было его - реактора) не доходила и начала растекаться по помещениям четвертого и других блоков, разнося радиоактивную грязь. Конечно, прекратили.

Но операция эта нескольким людям стоила тяжких телесных повреждений, а Л.Топтунову, А.Акимову и А.Ситникову стоила жизни. А.Ситников после осмотра блока, где он, конечно, получил большую дозу, но отнюдь не смертельную, конечно, понял, что реактор разрушен. О чем и доложил. На крыше он не был и на реактор сверху не глядел. Была у них попытка выйти на крышу, но металлическая дверь оказалась на замке. Не смогли. А то бы и А.Коваленко с В.Чугуновым постигла та же горькая участь.

Ситников

Слева-направо: Брюханов, Дятлов и главный инженер ЧАЭС Фомин на вынесении приговора


Отдельно нужно сказать о работе начальства и гражданской обороны ЧАЭС в ту ночь. Все описывавшие происходившее тогда в бункере гражданской обороны говорили прямо – все, в том числе и директор ЧАЭС Виктор Брюханов, были подавлены, никто поначалу не понимал, что реактор взорвался, а те же, кто понимали (Ситников Дятлов), отказывались в это верить, ведь согласно уверениям высшего научного начальства, такого быть не могло. Поэтому нередко большая часть информации, в том числе данные о высочайших полях радиационного заражения за пределами станции (в те часы регистрировали 200 Р/ч, что – внимание – В ДЕСЯТОК МИЛЛИОНОВ РАЗ выше естественного, природного уровня радиации) фильтровалась как неправдоподобная или задерживалась у Брюханова. Слово Сергею Парашину, тогда секретарю парткома ЧАЭС (цитируется по документальной повести Ю. Щербака «Чернобыль»):

Когда мы попали в кабинет, Брюханов тут же сказал, что переходим на управление в бункер. Он, видимо, понял, что произошел взрыв, и потому дал такую команду. Так положено по инструкции гражданской обороны. Брюханов был в подавленном состоянии. Я спросил его: "Что произошло?" - "Не знаю". Он вообще был немногословным и в обычное время, а в ту ночь… Я думаю, он был в состоянии шока, заторможен. Я сам был в состоянии шока почти полгода после аварии. И еще год - в полном упадке.


Мы перешли в бункер, находящийся здесь же, под зданием АБК-1. Это низкое помещение, заставленное канцелярскими столами со стульями. Один стол с телефонными аппаратами и небольшой пульт. За этот стол сел Брюханов. Стол неудачно поставлен - рядом с входной дверью. И Брюханов был как бы изолирован от нас. Все время мимо него люди ходили, хлопала входная дверь. Да еще шум вентилятора. Начали стекаться все начальники цехов и смен, их заместители. Пришли Чугунов, Ситников.


Из разговора с Брюхановым я понял, что он звонил в обком. Сказал: есть обрушение, но пока непонятно, что произошло. Там разбирается Дятлов… Через три часа пришел Дятлов, поговорил с Брюхановым, потом я его посадил за стол и начал спрашивать. "Не знаю, ничего не понимаю".


Я боюсь, что директору так никто и не доложил о том, что реактор взорван. Формулировку "реактор взорван" не дал ни один заместитель главного инженера. И не дал ее главный инженер Фомин. Брюханов сам ездил в район четвертого блока - и тоже не понял этого. Вот парадокс. Люди не верили в возможность взрыва реактора, они вырабатывали свои собственные версии и подчинялись им...


<…>


А до этого была такая неприятная штука. Мне сейчас ее трудно объяснить. Начальник гражданской обороны Воробьев, с которым мы приехали, через пару часов подошел ко мне и доложил: он объехал станцию и обнаружил возле четвертого блока очень большие поля радиации, порядка 200 рентген Почему я ему не поверил? Воробьев по натуре своей очень эмоциональный человек, и, когда он это говорил, на него было страшно смотреть… И я не поверил. Я сказал ему: "Иди, доказывай директору". А потом я спросил Брюханова: "Как?" - "Плохо". К сожалению, я не довел разговор с директором до конца, не потребовал от него детального ответа.

А это уже замначальника ядерно-физической лаборатории Николай Карпан (цитируется по документальной повести Ю.Щербака «Чернобыль»):

Первое, с чем я столкнулся в бункере и что мне показалось очень странным, - нам ничего о случившемся, о подробностях аварии, никто ничего не рассказал. Да, произошел какой-то взрыв. А о людях и их действиях, совершенных в ту ночь, мы не имели ни малейшего представления. Хотя работы по локализации аварии шли с самого момента взрыва. Потом, позднее, в то же утро я сам попытался восстановить картину. Стал расспрашивать людей.


Но тогда, в бункере, нам ничего не было сказано о том, что творится в центральном зале, в машзале, кто из людей там был, сколько человек эвакуировано в медсанчасть, какие там, хотя бы предположительно, дозы…


Все присутствующие в бункере разделились на две части. Люди, пребывавшие в ступоре, - явно в шоке были директор, главный инженер. И те, кто пытался как-то повлиять на обстановку, активно на нее воздействовать. Изменить ее в лучшую сторону. Таких было меньше.

Возможно, что именно замкнутость Брюханова стала одним из тех факторов, что сыграли роль в задержке эвакуации Припяти и близлежащих регионов.


Теперь вернёмся назад, примерно в полвторого ночи, когда на станцию прибыла первая пожарная команда – караул военно-пожарной части №2 – 17 человек во главе с начальником караула Владимиром Правиком. Они получили сигнал сразу же после аварии – в 1:23-24 – и выехали на место аварии. Тут же вызвали начальника ВПЧ-2 Леонида Телятникова, а также дали сигнал о высочайшей сложности и опасности пожара всем частям Киевской области, что означало, что срочно должны прибыть на АЭС части с близлежащих населённых пунктов.

Телятников, Правик, Кибенок, Василий Игнатенко, Владимир Тишура, Николай Тытенок, Николай Ващук. Все они, кроме Телятникова, умрут через несколько дней в Москве.


Пока пожарные из отдалённых посёлков и городков спешили на АЭС, караулы Правика и Виктора Кибенка (начальника караула припятской пожарной части) уже приступили к тушению. Правик начал свою работу с машзала, где его караул тушил разгоравшееся масло. Затем, когда пожар был ликвидирован, караул остался возле машзала, так как риск повторного возгорания оставался, а сам Правик пошёл на крышу. Туда уже пошла городская часть Припяти. Никто тогда не знал, какой радиационный фон на станции, а уж тем более на крыше. Но потушить крышу, на которой в нескольких местах горел битум, было необходимо. Если бы она обрушилась на третий реактор, то последствия были бы непредсказуемы. Кроме того, нужно было проверить, насколько высока опасность пожара внутри разрушенного блока – что там с кабелями, как себя чувствует БЩУ-4 и так далее. Занимался этим Леонид Телятников, а консультировали его сотрудники АЭС.

Из нашего караула погиб только Правик. Остальные пять человек, что погибли, - это были ребята из шестой городской части. Так получилось, что они первыми начали тушить на реакторе. Там было наиболее опасно. С точки зрения радиоактивной опасности, конечно. С точки зрения пожарной - на машинном зале, поэтому там наш караул и действовал в начальный момент аварии.


Леонид Телятников, цитируется по документальной повести Ю. Щербака «Чернобыль»

Телятников проживёт до 2004 года, при этом сможет попасть на приём к Маргарет Тетчер. Поподробнее — здесь.

А я мимо АБК-1 на ту сторону переехал, машину поставили возле машзала, а сами вместе с Володей Прищепой на крышу [машзала] поднялись по наружной лестнице. Увидели очаги пожара. Как раз разгорелось. Ну, мы давай тушить.<...>


Старались сбивать пламя брезентовыми рукавами. На крыше противопожарное водоснабжение, и там рукава лежали в ящиках, вот этими рукавами мы и сбивали… В крыше были дырки, если бы мы воду начали лить, могло бы и "коротнуть" и… Рукавами сбивали пламя и ногами затаптывали. Очаги не сильные были, но было много загораний. <…>


Температура большая была, дышать тяжело, мы порасхристаны, каски сняли, положили. <…>


Ну, мы посмеялись и давай снова прохаживаться по крыше - она снова начала загораться, а мы снова сбивали. Водой так и не пользовались. Ходить было трудно, битум на крыше расплавился. Жарища такая… Чуть малейшее что, битум сразу же загорался от температуры. Это еще повезло, что быстро сработали, что нас туда направили… если бы разгорелась крыша - это бы ужас был. Представить невозможно. Вся станция полетела бы. Наступишь - ногу нельзя переставить, сапоги вырывает. Ну, словом, расплавленная масса. Дыры были на крыше - она была пробита полностью, плиты падали, летели с семьдесят второй отметки. И вся крыша усеяна какими-то кусками, светящимися, серебристыми. Ну, их отшвыривали в сторону. Вроде лежит, и вдруг раз - воспламенился.


Леонид Шаврей, старший пожарного караула ВПЧ-2 в ту ночь, цитируется по документальной повести Ю. Щербака «Чернобыль»

По словам Л.Шаврея, пожарных работать в условиях сильного радиационного заражения не учили. Они даже не умели толком обращаться с респиратором. Многие пожарные в ту страшную ночь получили огромные дозы облучения, а шестеро из них умерли в течение трёх недель, но только один из них принадлежал станционной части. Двое – Правик и Кибенок – получили посмертно Героев Советского Союза.


А вместе с пожарными на станцию прибыли и врачи припятской медсанчасти №126, в том числе и Валентин Белоконь. На станцию, за неимением информации, он отправился без спецодежды – в одном халате да чепчике. Когда он прибыл, уже отправили в город Владимира Шашенка, а бойцы пожарной части №6 уже получили большие дозы облучения, что выражалось в тошноте.

Еще я сказал Печерице (своему прямому начальнику – прим. А.С.), что пока пораженных нет, но пожарные говорят, что подташнивает. Начал вспоминать военную гигиену, вспоминать институт. Всплыли какие-то знания, хотя казалось, что все забыл. Ведь как у нас считали? Кому она нужна - радиационная гигиена? Хиросима, Нагасаки - все это так далеко от нас.


Печерица сказал: "Оставайся пока на месте, минут через пятнадцать - двадцать перезвонишь, мы скажем тебе, что делать. Не волнуйся, мы на город дадим своего врача, вызовем". И буквально тут же ко мне подошли трое, по-моему командированные, привели парня лет восемнадцати. Парень жаловался на тошноту, резкие головные боли, рвота у него началась. Они работали на третьем блоке и, кажется, зашли на четвертый… Я спрашиваю - что ел, когда, как вечер провел, мало ли от чего может тошнить? Замерил давление, там сто сорок или сто пятьдесят на девяносто, немного повышенное, подскочило, и парень немного не в себе, какой-то такой… Завел его в салон "скорой". В вестибюле нет ничего, там даже посадить не на что, только два автомата с газированной водой, а здравпункт закрыт. А он "заплывает" у меня на глазах, хотя и возбужден, и в то же время такие симптомы - спутанная психика, не может говорить, начал как-то заплетаться, вроде принял хорошую дозу спиртного, но ни запаха, ничего… Бледный. А те, что выбежали из блока, только восклицали: "Ужас, ужас". Психика у них была уже нарушена. Потом ребята сказали, что приборы зашкаливают. Но это позже было.

В условиях непонимания ситуации, врачи в первую очередь в ту ночь лечили симтоматику – противорвотные, успокоительные, обезболивающие от ожогов. Только несколько позже стало понятно, что нужен калий-йод (хотя уже в процессе облучения он бесполезен), да и вообще другие методы лечения


Такая ситуация сложилась на ЧАЭС на утро 26 апреля 1986 года. Впереди было ещё несколько страшных недель, когда остатки реактора не затухли, однако той ночью были сделаны основные шаги по недопущению распространения аварии на остальные блоки. Работали на износ, не жалея себя, в условиях высочайшего, а часто просто смертельного радиационного фона. Работали, понимая, что от их действий зависит очень многое, если не всё. Несомненно, персонал станции, пожарные, врачи – все они заслуживают того, чтобы называться первыми ликвидаторами.


З.ы. К сожалению, удалось найти фотографии далеко не всех людей, упомянутых в этой статье. Скорее всего, в будущем будет также. По ощущениям, не все даже упомянуты в Книге памяти участников ликвидации и жертв аварии на сайте ЧАЭС (к таким относится, например, Усков). Многие фото сотрудников взяты оттуда же, и если они где-то и есть в интернете, то найти их мне не удалось. Большая просьба - если сможете найти — скиньте ссылки в комментарии. То же касается неточностей и ошибок.

Источник: https://vk.com/wall-162479647_44771

Автор: Александр Старостин. Альбом автора: https://vk.com/album-162479647_257670646

Личный хештег автора в ВК - #Старостин@catx2, а это наш Архив постов. Январь 2020

Показать полностью 25
235

Чернобыль ч.5. Вне АЭС

Автор: Александр Старостин.

В предыдущих сериях:

Чернобыль ч.1. РБМК-1000

Чернобыль ч.2. Чернобыльский край

Чернобыль. ч.3. Терминологическая справка

Чернобыль ч.4. Авария

Мы, конечно, не совсем знали, что делать. Это, как говорится, пока жареный петух не клюнет. Я вообще считаю, что у нас гражданская оборона оказалась не на уровне.


Александр Эсаулов, тогда зампредседателя горисполкома Припяти

Хроника исчезающих поселений


В припятском горисполкоме об аварии узнали примерно в четвёртом часу ночи. Уже к четырём часам утра на ногах были все – от председателя горисполкома до начальника гражданской обороны. Необходимо было решать, что делать. Решать было непросто – опыта как такового у городского начальства не было: зачастую, учения гражданской обороны не выходили дальше кабинетов, к тому же на всех уровнях прямо заявлялось о невозможности подобной аварии.


Первым, самым очевидным решением стала мойка города. Однако машин было очень мало – всего четыре, а ввиду срочности первую машину привёз водитель, который управлять ей не умел. Тем не менее, помывку, ставшую, по сути, первой процедурой пылеподавления, организовали.


Утро и день прошли в состоянии полнейшей неопределённости. О радиационном фоне в городе и произошедшем на станции ничего известно толком не было, по городу циркулировали различные слухи. Однако мероприятия не отменялись – школьники учились, причём уроки физкультуры проводились на улице в том числе. О произошедшем и мерах безопасности жителям Припяти и других близлежащих городков и сёл ничего не сообщили, дабы избежать паники. Впрочем, в школах детям раздали йод, учителя, да и родители позакрывали в домах, школах и детсадах окна.


К четырём часам вечера 26 апреля было принято решение о перевозке пострадавших из медсанчасти, которая к тому моменту оказалась переполнена, не готова к лечению людей со столь серьёзными дозами, а к тому же начинала «светить», в Москву. Прибывший утром в Припять второй секретарь киевского обкома В.Маломуж поручил возглавить выполнение этой задачи зампреду горисполкома города атомщиков Александру Эсаулову. Сначала приняли решение перевезти самых тяжёлых – пожарных и операторов, работавших на блоке ночью. При этом столкнулись с огромным количеством трудностей. Необходимо было подготовить все документы, истории болезней, личные дела. При этом многое, в том числе важные печати, осталось на станции. В итоге выехали в одиннадцать вечера, а в киевский аэропорт Борисполь прибыли только ночью.

Приехали. Ворота закрыты. Это было ночью, часа в три, начале четвертого. Гудим. Наконец - зрелище, достойное богов. Выходит некто в тапочках, галифе, без ремня и открывает ворота. Мы проехали прямо на поле, к самолету. Там уже экипаж прогревал мотор.


И еще один эпизод ударил мне прямо в сердце. Подошел ко мне пилот. И говорит: "Сколько эти ребята получили?" Спрашиваю: "Чего?" - "Рентген". Я говорю: "Достаточно. А в принципе - в чем дело?" А он мне: "Вот я тоже хочу жить, я не хочу получать лишние рентгены, у меня жена, у меня дети".


Александр Эсаулов, цитируется по документальной повести Юрия Щербака «Чернобыль».

А.Эсаулов


К утру 27 числа Эсаулов вернулся в Припять, встретив по пути огромную колонну автобусов, предназначавшихся для эвакуации Припяти, и попал из огня да в полымя. Теперь нужно было вывезти остальных поражённых. Маломуж требовал от него совершенно дикой скорости – уже в двенадцать дня больные должны были быть в Борисполе, при том, что разговор об этом шёл в десять утра. В итоге в двенадцать-таки уехали в Борисполь. Пока собирались, поступили ещё несколько человек, поэтому вместо трёх автобусов поехало четыре. Отдельной проблемой стали провожающие:

Мы уезжали в автобусах 27-го в двенадцатом часу. Объявили посадку и заголосили провожавшие женщины. Я сказал: «Бабы, рано нас хороните». По всем симптомам я осознавал серьезность нашего положения, но, откровенно говорю, думал - жить будем. Не для всех мой оптимизм оправдался.


Удивительно четко работает «сарафанное радио». Сразу за Чернобылем село Залесское, вдоль улицы стоят, подперев ладонью щеку, женщины с жалостью в глазах. А тут казус - Виктору Смагину стало плохо, а врач в другом автобусе, пришлось останавливаться. И быстро у автобуса - толпа женщин, причитают, глядя на нас в больничной одежде.


Анатолий Дятлов

***

А.Эсаулов:


Собрали мы эту всю "делегацию", все оформили и выехали аж в двенадцать часов дня. Было три автобуса, четвертый резервный. "Икарусы". Тут жены стоят, прощаются, плачут, хлопцы все ходячие, в пижамах, я умоляю: "Хлопцы, не расходитесь, чтобы я вас не искал". Один автобус укомплектовал, второй, третий, вот уже все садятся, я бегу в машину сопровождения, теперь ГАИ сработало четко, сажусь, жду пять минут, десять, пятнадцать - нет третьего автобуса!


Оказывается, еще трое пораженных поступили, потом еще…


Наконец поехали. Была остановка в Залесье. Договорились, если что - фарами мигать. Едем по Залесью - раз! Водитель резко тормозит. Автобусы стали. Последний автобус от первых - метрах в восьмидесяти или девяноста. Остановился последний автобус. Вылетает оттуда медсестра - и к первому автобусу. Получилось так, что во всех автобусах медработники были, но медикаменты везли только в первом. Подбегает: "Больному плохо!" И вот единственный раз я тогда видел Белоконя. Правда, тогда еще не знал его фамилии. Мне потом сказали, что это Белоконь. Сам в пижаме, он побежал с сумкой оказывать помощь.


В. Белоконь:


"Первая партия пораженных уехала двадцать шестого вечером, часов в одиннадцать вечера, прямиком на Киев. Операторов вывезли, Правика, Кибенка, Телятникова. А мы остались на ночь. Двадцать седьмого утром мой врач говорит: "Ты не волнуйся, полетишь в Москву. Получили указание к обеду вывезти". Нас когда на автобусах везли, я чувствовал себя ничего. Даже останавливались где-то за Чернобылем, поплохело кому-то, я выбегал еще и пытался помочь медсестре"


А. Эсаулов:


"Белоконь побежал, его там за руки хватали. "Куда ж ты, ты больной". Он же пораженный был… Помчался с сумкой Причем самое интересное, что, когда начали копаться в этом мешке, никак не найдут нашатырного спирта. Я тут у этих гаишников из сопровождения спрашиваю: "У вас в аптечке есть нашатырный спирт?" - "Есть". Мы разворачиваемся, к автобусу подскакиваем, Белоконь тому парню раз ампулу - под нос. Легче стало.


И еще один момент в Залесье запомнился. Больные вышли из автобусов - кто перекурить, размяться, тыры-пыры, и вдруг бежит женщина с диким криком и гамом. В этом автобусе едет ее сын. Это же надо? Такая вот стыковка… Ты понимаешь?.. Откуда она появилась? - я так и не понял. Он ей "мамо", "мамо", успокаивает ее.


Александр Эсаулов и Валентин Белоконь, из повести «Чернобыль»

Но всё же и их привезли в Борисполь, встретив на обратном пути эвакуационную колонну из Припяти.


Вернёмся обратно в 26 апреля. В 16:00 началось совещание в горисполкоме, руководил Маломуж. Приняли решение проводить все мероприятия в субботу обычном режиме. Кроме того, в доме культуры Энергетик уже с утра начали собираться члены правительственной комиссии по ликвидации аварии. По ходу дебатов было высказано предложение начинать засыпать реактор различными материалами, в том числе песком. Для сбора песка мобилизовали достаточно много народа. Не хватало мешков, а также верёвок для переязки этих мешков. В ход пошёл даже кумач.


А в это время народ готовился к праздникам и отдыхал – суббота же. Дети гуляли по улице, дачники отправились на дачи, в том числе на так называемые «нахаловки» - самовольно захваченные участки, расположившиеся у хвойного леска, отделявшего Припять от АЭС. Этот лесок уже в первую ночь набрал много радиации и впоследствии порыжел, став одной из самых известных в фольклоре достопримечательностей Зоны.


А в час ночи приняли решение об эвакуации города в 14:00. Работникам горисполкома пришлось в авральном режиме готовить документы. Позже они так и назовут этот период – война. Из Киева к городу потянулась огромная колонна из тысячи с лишним автобусов, обрекая столицу УССР на транспортный коллапс.

Уже эвакуированная Припять, кадр весны-лета 86. В верхнем правом углу фото виднеется стадион Авангард


Кто-то из жителей уехал ещё двадцать шестого апреля, кто-то утром двадцать седьмого. Кто-то окольными путями узнал об эвакуации ночью и начал собираться заранее. Однако в остальном жизнь города пока ещё не омрачилась. Доходило до сюрреализма:


На воскресенье был запланирован пробег "Здоровье". Педагоги не знали - будет он или не будет. Одна из учительниц звонила в горком: "Я утром детей всех собираю в школу" И когда ей сказали, что уже об эвакуации все кричат, она воскликнула: "Какая эвакуация, ребята? Ведь у нас сегодня пробег "Здоровье"!"


Представьте: до эвакуации остается полтора часа. В кафе нашем детском, в большом торговом центре, полно родителей с детьми, едят мороженое. Выходной день, все хорошо, все спокойно. С собачками люди прогуливались по городу. А когда мы подходили и объясняли народу - реакция была бурной и недоверчивой: это не ваше дело, мол, что я хожу. Хочу - гуляю. И все. Люди так воспринимали.


Не знаю, верили нам, не верили. В магазинах много всяких продуктов, праздники на носу, люди закупают продукты, у каждого свои планы - тот на дачу едет, тот туда…


Помню, Саша Сергиенко, наш второй секретарь, возмущался: "Видел только что - ребенок сидит на песке, а папа его СИУР - старший инженер управления реактором. Ну как он, зная, что авария на атомной станции, мог позволить ребенку сидеть, ковыряться в песке? А улица граничит с этим леском". Он "Рыжий лес" имел в виду…


Анелия Перковская, секретарь припятского горкома комсомола. Цитируется по документальной повести Юрия Щербака «Чернобыль».

По городу знаменитое объявление об эвакуации 27 апреля в 14:00 на три дня прошло четырежды. Сама эвакуация Припяти прошла организованно, без серьёзных проблем, хотя и не без накладок. Где-то чуть не забыли бабушку, где-то за три часа до эвакуации умер человек, где-то кто-то решил спрятаться и остаться в городе. Таких уклонистов нашлось 20 человек.

Можете послушать сами


В течение всего утра работников милиции и других должностных лиц инструктировали о порядке проведения эвакуации. Сама эвакуация началась в 14:00, а завершилась в 16:30, в течение которых колонны по 20 автобусов и 5 грузовиков в сопровождении ГАИ забирали людей от подъездов и домов и отвозили в различные сборные пункты. Жители в целом вели себя адекватно и спокойно, хотя и не всегда соблюдали требования должностных лиц, пытаясь забрать коляски и другие громоздкие вещи, выпуская детей на улицы из подъездов вопреки требованиям и предупреждениям: «В подъезде жарко. Попробуйте часами постоять в подъезде».

Достаточно известное фото колонны автобусов с эвакуированными. И на втором фото судя по всему та же колонна.

27 апреля эвакуировали и Чернобыль-2.

Чернобыль-2 до аварии


В целом эвакуация Припяти прошла не идеально, но хорошо. А вот об эвакуации окружающих сёл этого не скажешь. Тому есть ряд причин. Во-первых, возрастное различие. Припять была заселена в основном молодёжью, которая хоть и пустила корни в городе, но всё же легче на подъём, не привязана к скоту (не берём в расчёт домашних животных, коих, кстати, забирать не разрешали). А вот сельчане и жители Чернобыля были куда старше, в основном старики. Им идти некуда, они в своих домах прожили всю жизнь, в этих же домах жили предки – словом, корни были слишком сильны. Во-вторых, и это вытекает из во-первых, припятчане были куда образованнее, они понимали всю опасность складывавшейся ситуации. А вот селяне нередко руководствовались принципом «радиации не видно – значит её нет». Иные пытались лечиться водкой, самогоном и другими народными способами обойти сухой закон. Ну и в-третьих, уровень обеспечения информацией горожан и сельчан не то что кардинально отличался, он был словно с другой планеты.

А вот локацию этого фото установить не удалось. Есть ощущение, что это эвакуация со станции Янов, а значит это скорее всего на фото жители близлежащих населённых пунктов. Однако точно сказать я не могу.


Если Припять, находившуюся в паре километров от станции, и Чернобыль-2, являвшийся стратегическим объектом, эвакуировали и законсервировали 27 апреля, то сельчане (к ним я буду относить и жителей Чернобыля, который хоть и ПГТ, но всё-таки состоял большей частью из частной застройки) в десятикилометровой зоне (то есть окружности радиусом в 10 км с центром на ЧАЭС) ждали своей очереди неделю. При этом многие сёла, например Копачи или Чистогаловка, попали под первый выброс и оказались сильно заражены. Сельчане плохо понимали, что же произошло, но в силу более низкого уровня образования придавали этому меньше значения. Однако всячески помогали уже обустраивающимся военным в первых мероприятиях ликвидации – сборе песка для забрасывания в реактор. Многие тогда ходили в храмы в Чернобыле и селе Красное. Они молились Господу за благополучие, за то, чтобы помог избавиться от новой напасти, пришедшей на их землю.

Копачи до аварии и их остатки (на фото детсад) спустя много лет после

А 2 мая грянул гром – появились первые сообщения о грядущей эвакуации. Если до этого царили простое напряжённое ожидание и надежда на «пронесёт», то после в сердцах селян поселились тревога и страх. Нахлынули воспоминания о страшном 41-м годе, по сёлам прокатилось отчётливое «война!». Положение осложнялось высоким средним возрастом селян - многие старики были уже несколько лет лежачими. Власти, дабы сдержать панику, твердили об отъезде на короткое время, пресловутые три дня. В ночь на 3 мая начали забирать скот. Записывали вес, количество животных – и увозили. А утром уже начали собираться люди. В тот день разом эвакуировали 15 сёл, всего десять тысяч человек. Люди больше туда никогда не вернулись, а самые заражённые вскоре захоронят. В следующие четыре дня эвакуировали Чернобыль и ещё множество сёл (всего 43 населённых пункта), всего 28 500 человек. В некоторые из них уже скоро вернутся самосёлы.


Чернобыль до аварии. На первом фото, возможно, 7 ноября, а на 4 фото — центр города. Фото 2 — раритетное, 1929 года. Это еврейское кладбище. А на третьем фото — Ильинский храм. Фото 5 — чернобыльский речной вокзал.

Нашлись и отказники. Так в селе Чистогаловка в десятикилометровой зоне, попавшем по самый первый выброс, где фон был в тысячу раз больше нормального, до самого разрушения села проживал пожилой мужчина. Он надеялся пережить месяц-два в глубоком подполье до улучшения обстановки. И он был не единственным.


Самый яркий пример – белорусская деревня Ковшиловка, находившаяся в 43 км от АЭС на западе. Она попала под один из первых выбросов и была жутко заражена как для населённого пункта – фон там был выше, чем в Чернобыле, что в 17 км от АЭС. При нижней границе среднего фона, требующей отселения, в 0.7 миллирентгена/ч (в ~30 раз больше природного) Ковшиловка жила с фоном в 5 миллирентген (данные июля 1986 года). Местные жители отправили детей к родственникам, но сами выселяться отказались. Это обстоятельство привело прибывших туда радиационных разведчиков в шок:

Словно в какой-то заморской оранжерее — ПРОЦВЕТАЛА в палисадничках Ковшиловки утонченно-благоуханная плоть… А у нас перед глазами еще стоят обычные наши ландшафты: развороченная АЭС, черный пролом реактора, уродливо-огромные машины, робы хаки и других безобразных колеров, военный строй, палатки лагеря — все угловатое, затертое, серое…


И за ЦВЕТАМИ этими, только-только с наших обычных рабочих уровней в зоне — рентгены, сотни миллирентген в час, — мы как-то не сразу сообразили, что мы, собственно говоря, меряем… уже намеряли.


В Ковшиловке было 5 миллирентген в час!


5 мР/ч. — в живом селе! — где люди живут!!! нормальная жизнь идет!!! Когда выселяют уже при 0,7, а в самом Чернобыле-городе (по которому ходят только люди в робах, а некоторые особо перепуганные даже в респираторах) — максимум было 3 (три) миллирентгена в час! — и Чернобыль давным-давно уже — это 30-километровая выселенная закрытая зона, за одно только пребывание в которой зарплату удваивают!..


А тут — далеко от зоны, от самой АЭС километрах почти в полусотне — уровень 5 мР/ч.! А в селе идет обычная жизнь: люди в нормальной одежде, кто-то на огороде возится, ходят по улицам, покупают еду в магазине, едят, пьют, спят… На 5 миллирентгенах в час! без никаких респираторов!.. Да автомобили этого села ПУСО «Рудня Вересня» не выпустило б! И «Рудня Beресня» — это ж еще не последнее ПУСО до выезда из зоны!


5 миллирентген в час! В живом селе!..


Мы ошизели. Почему они живут? Как?…


Сергей Мирный, участник ликвидации последствий аварии, командир взвода радиационной разведки. Живая сила. Дневник Ликвидатора.

Тем не менее, Ковшиловку всё-таки выселили. Отселение и эвакуация были жуткой трагедией для припятчан, но их страдания не идут ни в какое сравнение с селянами, покидавшими дома, помнившие поколения их предков. Многие не хотели уезжать.

Мне старики, которым лет по семьдесят пять - восемьдесят, говорят: "Остаемся, батюшка, здесь. Не поедем никуда. Все равно помирать". Я говорю: "Дорогие, вы знаете, ваш день смерти еще не пришел. Зачем же оставаться? Раз нас везут отсюда - значит, надо сделать то, что положено. Ведь мы вскоре назад вернемся". Мы рассчитывали на то, что, может, на месяц, не больше мы едем… Вещей особых никто с собой не брал. Я лично свои вещи оставил - ризы, рясу - все в Красном оставил. <…> И вот вы знаете, когда с людьми по душам поговоришь, они соглашаются. Говорю: «У вас же есть дети, внуки, невестки… Надо вместе ехать, зачем же расставаться?»


Отец Леонид, тогда священник села Красное. Цитируется по документальной повести Юрия Щербака «Чернобыль».

Эвакуированных поначалу размещали в близлежащих сёлах, где радиационная обстановка ещё не успела испортиться. Однако по мере продолжения выбросов приходилось отселять и эти сёла и перевалочные лагеря. Сергей Мирный рассказывает о том, как мерил белорусское село Плоское. Тогда, в июле, решалась судьба села – отселять или нет. Осложнялась ситуация тем, что в Плоском помимо его жителей разместились ещё два села, эвакуированных сюда ранее. Новое жильё эвакуированные получат ещё не скоро. А пока драма эвакуации консервировалась внутри временных мест проживания. Люди в целом пережили её достойно, особенно, как ни странно, эвакуированные. Анелия Перковская вспоминает о том, как общалась с родственником одного из работников АЭС:

Разное было в те дни. Вот мне запомнился один человек. Хочется, чтобы прочитал эти мои слова тот человек, чтобы совесть в нем заговорила. Это было первого мая. Пришла я утром в информационный центр. Еще никого из наших не было. Стоит мужчина лет сорока восьми и говорит: "Ах, так это вы от Припятского горкома партии?" - "Да, это я". - "Дайте мне списки погибших". Я говорю: "Погибло два человека. Шашенок и Ходемчук". - "Неправда". Я говорю: "На каком основании вы со мной так разговариваете?" А он кричит: "Конечно, вы тут красивая, цветущая (а я стою в чужой одежде), вы такая спокойная, потому что вывезли все из Припяти. Вы думаете, мы не знаем? Мы знаем все!"


Мне в этот момент захотелось одного: посадить этого человека в машину, завезти в мою квартиру и там с ним поговорить…


Его сын работал на атомной станции. Поэтому я говорю: "Судя по всему, он находится в пионерлагере "Сказочный" А он опять кричит: "Как вы со мной разговариваете, я шахтер, я заслуженный человек". Я его спрашиваю: "Откуда вы приехали?" Он отвечает: "Из Одессы".


Дали мы ему машину, он поехал в "Сказочный", нашел там сына, как я ему и говорила, потом благодарности огромные, но это все уже не воспринималось. Меня его поведение так выбило из колеи, что я пару часов не могла прийти в себя.

А между тем, на фоне трагедии эвакуации развернулись другие события, которые очень не хочется видеть в реальности.


Когда гласность ещё не пришла


28 апреля работники шведской АЭС Форсмарк, что в 100 км от Стокгольма, не смогли попасть на работу – их одежда была слишком сильно заражена. Всех сотрудников немедленно эвакуировали со станции. Спустя несколько часов выяснилось, что фон поднялся в 100 раз по всей Швеции, а характер загрязнения однозначно указывал на аварию на АЭС в районе советской Прибалтики. Так мир узнал об аварии на ЧАЭС. Ещё до остальных жителей СССР. Если ранее последствия радиационных аварий в СССР за пределы страны не выходили, что позволяло советскому руководству о них молчать, то теперь пришлось говорить.


А теперь отправимся в Киев тридцатого апреля. Ночью ветер поменял направление, выбросы с ЧАЭС пошли на юг, и в столице УССР начал повышаться радиационный фон. Об аварии в городе узнали ещё 27 числа, но информации было предельно мало, земля полнилась слухами, большинство было вообще не в курсе происходящего. И вот 30 апреля в городе начинает оседать радиоактивная пыль. Среди высших должностных лиц началась тихая паника. С одной стороны над ними висело самое высокое начальство, да и общее понимание ситуации не позволяло им решиться на широкое информирование населения – это, с их точки зрения, грозило паникой, которая в такой взрывоопасной (во всех смыслах) обстановке могла привести к апокалипсису в масштабах как минимум одного из самых больших городов СССР. С другой же стороны присутствовали и чисто человеческие чувства – все мы всё-таки люди. Многие должностные лица различных уровней имели конкретные предложения по информированию населения об аварии, о мерах профилактики, о мерах предосторожности. Однако высшее начальство их отметало. Произойди авария в другое время, может быть (подчёркиваю, может быть), всё сложилось бы иначе. Но завтра первое мая, там запланирован парад. А шестого мая – велогонка Мира. Да и девятое мая не за горами.


Но кроме обилия дат был и другой, куда более важный фактор – маниакальное стремление номенклатуры сохранять лицо посредством утаивания всего плохого. Советские СМИ об аварии хранили практически тотальное молчание. Первое официальное сообщение появилось лишь 28 апреля в программе «Время». Зато «вражьи голоса» активно гнали в эфир различную информацию об аварии, известную за границей. Да что там «вражьи голоса», даже братская Польша открыто говорила по радио о том, какие меры предосторожности нужно применять, какой где фон. Одним словом, в Киеве царил информационный вакуум, заполняемый слухами и обрывочной информацией. Первомайский парад таки провели, но заметно ограничили количество принявших в нём участие людей (практически вдвое). Отменили ряд мероприятий, сопровождавших велогонку.

В.Щербицкий, крайний справа


С парадом вообще связано много нехорошего. Высшие должностные лица, в частности, первый секретарь ЦК КПУ Владимир Щербицкий, были против его проведения. Однако над любым высшим начальством есть кто-то ещё выше. Москва требовала парад провести, дабы не создавать панику в городе. Щербицкий отдал приказ горисполкому и партийцам высшего уровня привести и усадить на трибуны детей, в том числе своего внука Володю. И тем не менее сам председатель ЦК КПУ до конца продолжал бороться за свою точку зрения. Проблем было несколько – 1 мая в городе был зарегистрирован самый высокий фон за всё время наблюдения (это, правда, выяснится позже); принесённая в город ветром пыль содержала в себе очень опасные элементы, в том числе йод, отрицательно влияющий на организм; конфигурация города была такова, что ветер нёс всю эту гадость с Днепра прямо на Крещатик, где всё это концентрировалось и оседало.

В 10 часов должны были открывать парад, остается каких-то минут десять, самый ответственный момент, а Щербицкого все нет! Члены политбюро и правительства нервничают, открывать парад должно первое лицо, кроме Щербицкого никто не имел права этого делать. И тут со стороны улицы Городецкого появился автомобиль Владимира Васильевича. Машина не ехала, а летела как пуля. Щербицкий выскочил из нее весь красный от возбуждения. Как он бранился! «Я ему говорю, что нельзя проводить парад на Крещатике, это не Красная площадь, это яр, здесь скапливается радиация! А он мне: я тебя сгною, попробуй только не провести! Да черт с ним, пойдемте открывать парад». Всем стало ясно, что Щербицкий только что говорил по телефону с Горбачевым.


Председатель киевского горисполкома Валентин Згурский, цитируется по статье газеты Комсомольская правда в Украине от 26 апреля 2011 года

Киевский контраст. Первомайская демострация и очередь за бланками на проверку на радиоактивное заражение

И только шестого мая по республиканскому телевидению к населению обратился министр здравоохранения УССР Романенко с рекомендациями для населения. Рекомендации эти были, безусловно, правильные, хотя и самые простейшие – закрывать окна, так как радиация распространяется в том числе в виде пыли и аэрозолей, по максимум ограничить пребывание на улице, особенно это касалось детей, которых вообще следовало бы вывезти. Вакуум прорвался различными передачами и статьями, да только вот времени прошло слишком много. И произвели эти рекомендации эффект разорвавшейся бомбы – люди погрузились если не в панику, то в очень сильное напряжение. Оно и неудивительно, радиофобия культивировалась среди населения в условиях Холодной войны очень активно. А ведь до Киева доходили слухи о том, что реактор может взорваться ещё раз, что Киев готовятся эвакуировать (и эвакуация реально обсуждалась, хотя пока никакой необходимости в ней не было).


Шпиономания и секретность вокруг чернобыльской аварии были сколь огромными, столь же и вредными, и в то же самое время бесполезными – на Западе об аварии знали хоть и меньше, чем в СССР, но тоже немало. Только вот там из этого секрета не делали, а сообщали населению. Больше того, вечером 26 апреля спутниковые снимки 4 реактора уже легли на стол Рейгану, который запросил информацию у СССР об аварии через линию связи глав двух государств и не получил ответа.


У нас же творился подлинный бардак. Население не получало никакой информации о произошедшем, что в зоне привело к излишнему переоблучению в том числе детей. В Припяти, на секудочку, 26 апреля не было объявлено толком ни о каких мерах безопасности, дети ходили на улицу на физкультуру, игрались в песочницах, люди гуляли вместо того, чтобы по максимуму загерметизироваться в квартирах и ждать эвакуации. Понятен мотив – сразу эвакуировать людей было невозможно, а панику поднимать было невероятно рискованно. Это понимали все, даже эвакуированные припятчане подмечали, что если бы им не сказали, что эвакуация «на три дня», то так организовано её бы не провели. В Киеве хоть фон и был всё равно невысоким, но ведь и минимально безопасных доз не бывает, просто чем меньше фон, тем дольше будет копиться реально опасная доза, тем меньше вероятность получить лучевую болезнь, однако даже природный фон может быть опасен. Но совершенно никакого оправдания нет столь длительной задержке эвакуации окружающих сёл и городков. А даже если она была и невозможно, то необходимо было в понятной форме донести до населения все возможные опасности. Простите, 26 и 27 апреля в 500-700 метрах от развороченного реактора ходили поезда, в которых были открыты окна. Люди работали на грядках, дети гуляли и играли.


Не хочу умалить работу тех, кто организовывал эвакуацию, она была проведена практически образцово. Но в остальном работа ГО была полностью провалена. И это в стране, которая готовилась участвовать в самой настоящей ядерной войне.


Отмечу, пожалуй, что у меня нет и не может быть абсолютно всей информации о тех днях. Я могу судить по достаточно ограниченному, хоть и широкому объёму воспоминаний и литературы. Поэтому я могу быть неправ в своих оценках и мнении.


Источник: https://vk.com/wall-162479647_46009

Автор: Александр Старостин. Альбом автора: https://vk.com/album-162479647_257670646

Личный хештег автора в ВК - #Старостин@catx2, а это наш Архив постов. Январь 2020

Показать полностью 13 1
387

Чернобыль ч.6.1. Горячий расплав против холодной логики

Автор: Александр Старостин.

В предыдущих сериях:

Чернобыль ч.1. РБМК-1000

Чернобыль ч.2. Чернобыльский край

Чернобыль. ч.3. Терминологическая справка

Чернобыль ч.4. Авария

Чернобыль ч.5. Вне АЭС


Пришла, наконец, пора поговорить об активной фазе ликвидации аварии, а именно о битве с расплавившимся реактором. Смертельная радиация, оборона по двум направлениям, героизм полезный и глупый - всё это в новой части.


Воздух


Теперь нам снова прямая дорога обратно в 26 апреля 1986 года.


В Институте атомной энергии им. Игоря Курчатова об аварии узнали ещё ночью. После этого в экстренном порядке началось формирование первой делегации на станцию от ИАЭ, да и вообще правительственной комиссии по ликвидации последствий аварии (ЛПА) на ЧАЭС (далее ПК). Возглавил её заместитель председателя Совмина СССР Б.Е.Щербина, в её составе также работали и министр энергетики А.И.Майорец, в чьём ведении находилась станция, и замминистра здравоохранения Воробьёв, и делегация от ИАЭ в составе первого замдиректора ИАЭ В.А.Легасова и В.А.Сидоренко, тогда зампредседатель Госпроматомнадзора. Что называется, опосредованно, в работе ПК участвовал весь ИАЭ, который был, по сути, старшим подрядчиком всех работ по ликвидации. ПК прибыла в Припять уже днём и разместилась в горкоме Партии.


Пока ПК размещалась в Припяти, в ИАЭ сформировался своего рода «мозговой центр», где активно работали с поступающими данными, анализировали их и, исходя из этого, предлагали дальнейшие действия по ЛПА и размышляли о причинах произошедшего. Руководил этим директор института и, по совместительству, президент АН СССР академик Анатолий Александров.


Однако самые первые действия начались ещё ранним утром в штабе Киевского военного округа. В 8 утра командующему ВВС Киевского военного округа (КВО) генерал-лейтенанту Н.П.Крюкову позвонил оперативный дежурный и сообщил, что на ЧАЭС необходим вертолёт с экипажем и специалистом по защите от ОМП. Задание поручили экипажу капитана Володина. В 9:00 Ми-8Т 255-й отдельной смешанной авиаэскадрильи поднялся в воздух с аэропорта Борисполь и взял курс на аэропорт Жуляны, где подобрал майора ГО, вручившего экипажу индивидуальные дозиметры, так как штатные было невозможно зарядить. Основной рабочий дозиметр ДП-3В был активен.

Командир экипажа вертолета Ми-8Т капитан С.И. Володин, начальник штаба ВВС КВО генерал-майор Н.Т. Антошкин, летчик-штурман старший лейтенант В.Н. Бушков и борттехник капитанн А.В. Паньков. 1986 г.


Из Жулян машина пошла прямиком к ЧАЭС. Когда вертолёт приблизился к аварийной станции, Володин отдал приказ отслеживать дозиметром радиационную обстановку. По мере приближения к аварийному блоку она ухудшалась, пока не достигла значения в 25 Р/ч на высоте, что соответствовало 300 Р/ч на земле. Вертолёт ушёл в сторону Припяти и сел на окраине города. Майор ГО ушёл в город, доложил начальству результаты, после чего вернулся с новой задачей: облететь Припять и разведать радиационную обстановку, нанести на карту места с наибольшим уровнем загрязнения. Машина поднялась на малую высоту, после чего произвела облёт города, а зачем повернула на ЧАЭС. Машина подошла к реактору.

Когда Ми-8 оказался поблизости от шлейфа белого дыма, выходящего из разрушенного реактора, на остеклении кабины появились крупные капли, которые медленно растекались по стеклу, оставляя соляной след. Наклонившись над приборной доской, Володин посмотрел вверх. «Прямо над нами тянулся тот самый белесый дым, местами почти прозрачный, местами плотный, почти как облака. Взглянул на приборы – скорость 200 км/ч, высота 100 м, крен 15'. Кажется, все в норме». Вдруг борттехник выпалил: «Командир, ДП-3 зашкалил на последнем диапазоне!! Более 500 рентген!!» Как потом станет известно, внутри этого ядерного следа уровни достигали 1500 Р/ч. «Мы попали в самую «десятку». Немедленно приняли решение выходить из этой зоны. Со снижением и набором скорости начал отворачивать влево…» В кабину вбежал майор: «Командир, ты убийца! Ты что ж наделал? Мы же все покойники. У меня на приборе все зашкалило. Мы же все сильно облучились и, скорее всего, нам хана!» Майора пришлось выгнать из кабины.


Сергей Дроздов, статья «Воздушная битва за Чернобыль», «Авиация и время», №2, 3, 4, 5 за 2011 год

После этого вертолёт вернулся в Припять. Майор унёс свеженанесённые на карту данные начальству, но вскоре вернулся с фотографом и двумя работниками станции, уже получившими, судя по виду, солидную дозу. Экипаж успел выпить йод, пока их ожидал, но сильно лётчикам он помочь уже не мог – его надо принимать до похода в заражённую область. В 16:00, попав под моросивший дождь, вертолёт снова отправился к станции. Пассажиры сфотографировали блок, и вскоре Ми-8 снова сел на площадке в Припяти. После высадки пассажиров вертушка отправилась домой в Борисполь. Экипаж Володина отправился на отдых, а спустя пару дней в госпиталь. В следующий раз они поднимутся в воздух лишь в конце мая.


А на земле и вокруг начиналась лихорадочная работа. Ночью приняли ряд решений – о полной остановке всех трёх оставшихся блоков, об эвакуации, а также о забрасывании в реактор различных материалов. Делили эти материалы на несколько категорий, в соответствии с типом опасности, против которой было направлено использование тех или иных веществ. Так соединения бора являлись поглотителями и не давали развиться самоподдерживающейся цепной реакции, обеспечивая тем самым ядерную безопасность. Другие – доломит, песок и глина – должны были уменьшать радиационную опасность, то есть создать фильтрующий слой на пути выходящих из реактора радиоактивных материалов. Третьи – свинец, например – должны были поглощать тепло, предотвращая расплавление активной зоны и препятствуя развитию «китайского синдрома», то есть проплавлению топливосодержащей лавой элементов конструкции фундамента и попаданию этой лавой в заполненные в ходе попыток охлаждения реактора водой нижние помещения, а через них – в грунт. Эта опасность называлась тепловой. Само закидывание называли общим термином «тампонирование».

Для тех, кто не знает английский: группа Ми-6 доставляет в зону ЧАЭС груз свинца из аэропорта Борисполь. 1986 г.


Но как всё это добро доставить в реактор? Нужны вертолёты, много вертолётов. Уже в 22:00 по приказу командира ВВС КВО Крюкова по тревоге подняли 51-й отдельный гвардейский вертолётный полк. В течение ночи он перебазировался на аэродром Певцы под Черниговом. Первоначально оттуда выполнялась часть вылетов вертолётов в сторону зоны, однако из-за постоянно проводившейся дезактивации чернобыльских вертолётов фон начал расти, создавая помехи Черниговскому лётному училищу. Вертушки оттуда перебазировали, в Певцах остались лишь самолёты радиационной разведки Ан-24РР и разведывательные самолёты Су-24МР, фотографировавшие зону. Кроме того, именно в Певцы прилетали высокопоставленные чиновники и военные. Часть вертолётов базировалась под Овручем, но там базировались только относительно лёгкие Ми-8 и Ми-24РР. Для тяжёлых Ми-6 и Ми-26 родным домом стали сначала Певцы, а потом аэродром Малейки. С этих площадок вертолёты прилетали в зону и садились на спешно организованные площадки, которым присвоили обозначения «Кубок» (в Чернобыле), «Кубок-1», «Кубок-2» и «Кубок-3» (между Чернобылем и Рассохой). Первая площадка предназначалась для начальства, остальные же были оптимизированы каждая под свой тип вертолёта, что было вызвано различиями в техниках погрузки и захода на посадку. Кроме того, оборудовали и несколько промежуточных площадок погрузки рядом с местами сбора грунта – в пока ещё не покинутых сёлах, а также в Припяти, в том числе на центральной площади города. На всех основных площадках были организованы системы радиолокационной помощи при посадке, появились руководители полётов – словом, для максимально возможной эффективности было сделано всё.

За одно только 27 апреля удалось сосредоточить 80-90 вертолётов в районе ЧАЭС, в дальнейшем количество машин и экипажей заметно выросло. Всего в зоне довелось работать лётчикам из 48 частей со всего СССР, многие из них недавно прибыли из Афганистана. На местах всей этой противорадиационной мощью командовал генерал-майор Т.Н.Антошкин, а непосредственно сбросом руководили из припятской гостиницы «Полесье», с которой открывался отличный вид на разрушенный блок.


Первые мешки с глиной и песком упали в разрушенное здание уже в 10:00 27 апреля. За этот день сбросили 80 мешков, а требовалось, по первым оценкам, 50000 в общей сложности за всё время. Впрочем, основные тяжеловесы ещё не подключились. Однако технологию срочно требовалось улучшать.

Около открытой входной двери уложили максимальное количество мешков, которые должен был сбрасывать бортовой техник по моей команде. Сбрасывал он их визуально, на глазок; никакой прицельной аппаратуры для точного попадания в цель у нас не было, и все зависело от его глазомера и слетанности экипажа.<…> На скорости 70-60 км/ч по команде «Сброс!» он самостоятельно прицеливается, и 2-3 мешка летят вниз; после чего докладывает: «Груз сброшен». Приступаю к разгону поступательной скорости и выполнению нового захода на цель.


Замком ВВС КВО по армейской авиации полковник Б.Нестеров, цитируется по статье Сергея Дроздова «Воздушная битва за Чернобыль»

Заместитель командующего ВВС КВО по армейской авиации полковник Б.Нестеров после очередного полета над ЧАЭС. Май 1986 г.


А вот ещё один вариант:

Штурман вывел машину на цель с применением прицела для бомбометания, после чего подал команду «Давай». Шесть мешков были уложены предварительно на один из концов доски перед открытой дверью в борту. Двое других членов экипажа взялись за свободный конец доски и начали его приподнимать, пытаясь сдвинуть мешки одним махом в открытую дверь. Каждый мешок весил килограммов 50, т. е. всего было около 300 кг. Ребят было двое, им было тяжеловато. Я бросился им на помощь. Наконец мешки неохотно поползли вниз. Проследив за их полетом, я увидел стопроцентное непопадание.


Участник ЛПА на ЧАЭС Е.Игнатенко, цитируется по статье Сергея Дроздова «Воздушная битва за Чернобыль»

Столь низкая эффективность никого не устраивала. Лётчикам пришлось придумывать на местах. Сначала сделали какие-то ковши, ящики, чтобы груз выпадал сам, однако результата это не добавило. Тогда решили возить груз в парашютах на внешней подвеске. Для этого пришлось реквизировать у частей ВДВ около 19 тысяч парашютов различных типов. По другим данным применяли и тормозные парашюты реактивных истребителей. Применение новой технологии позволило сбрасывать за один заход с Ми-8 по 3 т грузов, с Ми-6 до 8 т, а с Ми-26 до 15 т.

Засыпали в мешки слои песка, затем несколько свинцовых болванок, далее снова слои песка и т.д. Затем расстилался парашют, предварительно отрезали парашютную систему с ранцем. Отрезали одну стропу. Расстилали парашют, складывали туда эти тяжелейшие, по 100 кг мешки с песком и свинцом, и чтобы этот гигантский мешок не болтался в полете, его обвязывали этой стропой. Подлетал очередной вертолет от реактора, садился. Рабочий подлезал под брюхо вертолета, передавал борттехнику в люк связанный «конец» парашюта с мешками. Тот прикреплял за ДП-63 (замок внешней подвески). После этого производили взлет на реактор.


Полковник В.Алимов, герой РФ, Участник ЛПА на ЧАЭС, цитируется по статье Сергея Дроздова «Воздушная битва за Чернобыль»

Выгрузка свинцовой дроби. Конец апреля 1986 г.


Поначалу парашюты падали в реактор вместе с грузом, однако потом, потеряв примерно половину, придумали, как использовать их много раз. Теперь подвеска стала многоточечной, а экипаж над реактором отвязывал два конца, и груз вываливался из импровизированного кармана под действием своей собственной массы.


В воздухе вокруг АЭС постоянно находилось 30-40 вертолётов, каждый из них сбрасывал в аварийный блок свой груз с интервалом в 2 минуты. Из-за такой загруженности связь работала на двух частотах – одна для управления на боевом заходе, другая для управления на этапе загрузки. Сброс осложнялся, во-первых, высокой температурой, резко снижавшей тягу двигателей, отчего вертолёты проваливались на 20-30 метров вниз, а во-вторых, наличием рядом трубы высотой 140 м, за которую цепляться было самоубийством. Сброс проводился на скорости 100-120 км/ч с высоты в 200 м.


Эффективность этих полётов нарастала с каждым днём. За 27 апреля сбросили примерно 150 тонн, за 28 апреля – 300 тонн, а 29 апреля уже 750 тонн. Но тут возникла серьёзная проблема. Температура реактора под слоем песка снова начала расти, а потому приняли решение сбрасывать в жерло материалы с более низкой температурой плавления, задачей которых было охлаждение реактора. Ми-6 полетели за свинцом и ружейной дробью в Борисполь, откуда вернулись той же ночью. Сброс металла начался уже на утро 30 апреля и доставил проблем. Дело в том, что груз представлял из себя комплект брусков весом 40-50 кг каждый. Мало того, что из-за возросшей инертности металл куда активнее раскачивался сам и опасно раскачивал вертолёт, так он ещё и резал парашютную ткань, ведь с брусков никто не стачивал заусенцы. Пришлось снова переделывать технологию – теперь груз ехал не в корзинке из парашюта, а в своеобразной авоське. Парашют цеплялся к узлу подвески вертолёта, а груз висел снизу на стропах. Очевидцы описывали загруженные таким образом машины как обвешанные гроздьями свинца. Тем не менее, несмотря на все злоключения, 30 апреля продолжили бить рекорды: за этот день сбросили 1500 тонн грузов, а в светлый праздник первомай – 1900 тонн. На тот момент было совершено 1113 вылетов. Эта цифра стала в итоге максимальной – от военных потребовали уменьшить интенсивность из-за опасений, что конструкции реакторного помещения могли не выдержать значительно возросшей нагрузки. В этом случае вся масса грозилась рухнуть в бассейны-барботёры, наполненные водой. Последствия были бы непредсказуемыми.


Впрочем, столь высокая интенсивность уже не была нужна - 30 апреля радиоактивный шлейф, исходивший из реактора, практически сошёл на нет, а к 11 часам первого мая удалось погасить горящее пятно внутри реактора. Графит потух. К 6 мая выбросы заметно уменьшились. Активные сбросы проводились до 10 мая. Всего в период с 27 апреля по 10 мая по данным МАГАТЭ было выполнено более 1800 вертолето-вылетов, в ходе которых на реактор удалось сбросить 1800 т песка и глины, 2400 т свинца, 800 т доломита и 40 т карбида бора. Последние сбросы осуществили 12 мая, когда во время очередного облёта обнаружили яркое пятно внутри реактора, что свидетельствовало о пожаре. В жерло ушло ещё 80 тонн свинца.

Разрушенный 4-й энергоблок, снятый с рабочего места Ми-6 подп-ка А.В. Костенко. 9 мая 1986 г.


На этом работа вертолётов не закончилась, однако теперь их переключили на дезактивацию. Лишь отдельные машины теперь летали непосредственно над реактором, в основном с исследовательской целью. Дело в том, что вплотную не то что к реактору, к зданию энергоблока до сих пор подойти было нельзя, даже бронетехника с трудом могла справиться с этим, потому для исследования состояния реактора, анализа исходящих из него газов требовались вертолёты, которые смогли бы ювелирно опустить необходимые датчики в жерло, зависнуть на время сбора данных, а затем увезти их оттуда. Идею высказал академик Легасов. Первые тренировки начались 6 мая, когда стало понятно, что самая страшная — активная — фаза аварии пройдена. Теперь столь высокой интенсивности забросов не требовалось, а значит можно произвести первые научные исследования, что называется, вживую.


Однако это был риск. Дело в том, что вертолёт может безопасно висеть либо на высоте 10 метров (это называется висением на безопасной высоте), либо на высоте выше 500 метров. Почему? Ну с минимальной высотой всё понятно – если откажет двигатель, машина не наберёт при падении достаточной скорости, чтобы разбиться и убить экипаж. А при отказе двигателя на высоте 500 метров и выше несущий винт успевает перейти в режим авторотации, тем самым позволяя пилоту посадить вертолёт как бы планируя, почти как самолёт. При движении вертолёта проблема почти исчезает, но здесь-то предстояло висеть. Кроме того, плохо понимали температурные характеристики зоны над реактором, а ведь двигатели работают на жаре хуже. Ну и в конце концов, экипаж не видит, что творится под вертолётом. Поэтому для выполнения научных задач взяли опытного пилота Николая Волкозуба, летавшего на всех типах вертолётов вот уже более 25 лет и являвшегося чемпионом СССР по вертолётному спорту.

Николай Волкозуб


Проблемы начались сразу же. Датчик представлял из себя лёгкую термопару на тросе длиной 300 метров. При первой попытке зависнуть выяснилось, что несмотря на точное висение, груз под вертолётом ходил как маятник. Исправили просто: по всему тросу повесили стабилизирующие грузики. После этого датчик болтать перестало. В итоге 9 мая Ми-8 Волкозуба взял курс на ЧАЭС. За ним наблюдал руководитель полётов с гостиницы Полесье, а также Ми-26, висевший в 2 км позади Волкозуба.

Я подошел на высоте триста пятьдесят метров. Надо было узнать - как температура там, как мощность двигателей. Вертолет висел стабильно.


Руководитель полета мне говорил: "До здания пятьдесят метров. Сорок… Двадцать…" По высоте и удалению он мне подсказывал. Но когда я стоял над самим реактором, ни я, ни руководитель уже не видели - попал я или нет. Поэтому послали еще один вертолет Ми-26. Полковник Чичков пилотировал. Он завис на удалении двух-трех километров сзади меня и все видел. Я должен был зависнуть возле трубы…


А Евгений Петрович Рязанцев сам в люк смотрел. И он показывал жестами: "Над реактором". Замеры температуры делали на высоте пятидесяти метров над реактором, сорока, двадцати и в самом реакторе. Евгений Петрович все видел. А аппаратура пишет. Когда все сделали - я отошел.


За Припятью было намечено специальное место, и трос я сбросил в песок. Трос был радиоактивен.


С момента зависания все это заняло шесть минут двадцать секунд. А показалось - вечность.


Это была победа.


Николай Волкозуб, цитируется по документальной повести Юрия Щербака «Чернобыль».

В дальнейшем измерения с помощью термопары были повторены. Кроме того, аналогичную операцию (только не висение, а плавный пролёт) совершали с другим датчиком – контейнером с газоанализатором. Тем не менее, термопара не дала тех данных, которых от неё ожидали – они были слишком противоречивыми, не позволяя сделать выводы.


Во время тампонирования лётчики получали самые разнообразные дозы. Они зависели от целого ряда факторов – и от вертолёта, на котором они летели (Ми-26 был единственным из тампонировавших, кто имел хоть какую-то противоатомную защиту, Ми-6 и Ми-8 не имели даже гермокабины), и от вертолёта, который летел перед ними (Ми-26 из-за своих циклопических размеров поднимал куда больше пыли, а значит, фон повышался), и от времени, проведённого над реактором. Из-за жары (тучи над зоной сразу же начали разгонять, так как был очень высок риск переноса радиации с облаками, да и попадание воды в реактор было чрезмерно опасно) многие лётчики летали легкоодетыми, без респираторов. Поэтому пилотам старались обеспечить максимально тепличные условия – во время погрузок из отправляли в специальные палатки, дабы они не сидели в радиоактивных вертолётах, по ночам машины дезактивировали на аэродромах Малейки и Гончаровское, оставляя лишь один-два дежурных. Один Ми-6 был превращён в летающую столовую, привозившую продукты из-за границы зоны. Личный состав получал специальные медикаменты. Сначала это был йод, затем радиопротекторы, а с 15 мая – лекарства, повышающие сопротивляемость организма воздействию ионизирующего излучения.


К действиям вертолётчиков мы ещё вернёмся.


Источник: https://vk.com/wall-162479647_48920

Автор: Александр Старостин. Альбом автора: https://vk.com/album-162479647_257670646

Личный хештег автора в ВК - #Старостин@catx2, а это наш Архив постов. Январь 2020

Показать полностью 7
513

Чернобыль ч.6.2. Горячий расплав против холодной логики

Автор: Александр Старостин.

Предыдущая часть: Чернобыль ч.6.1. Горячий расплав против холодной логики

На земле и под землёй


Для того, чтобы приступить хоть к каким-то работам на земле, да даже просто для того, чтобы понять, идёт ли реакция, необходимо было понять, насколько сильно заражена поверхность. То есть было понятно, что заражена она жутко, но насколько всё плохо?

Владимир Пикалов


Уже ночью с 26 на 27 апреля начальник химических войск генерал-полковник Владимир Пикалов объехал аварийный блок и произвёл замеры. Выяснилось, что наиболее безопасной стороной подхода к блоку была восточная, прикрытая зданием третьего блока, а вот с юга или с запад был риск очень быстро получить смертельную дозу даже за бронёй. Поэтому всё необходимое подвозили именно с востока. Вообще, войска РХБЗ появились в районе почти сразу, не уступив лётчикам в оперативности. Решением министра обороны уже 27 апреля 1986 г. была поднята по тревоге и переброшена военно-транспортными самолетами оперативная группа мобильного отряда ликвидации последствий радиационных аварий химических войск в составе 272 военнослужащих и 65 ед. военной техники. Уже в середине мая в зоне находилось 30 тысяч военных, почти половину из которых (44%) составляли бойцы частей и соединений РХБЗ. Вообще на плечи химиков лёг целый ряд задач. Они занимались радиационной разведкой и мониторингом, дезактивацией техники и местности, сбором и захоронением радиоактивных отходов, они, в конце концов, обеспечивали остальных оборудованием.


Вести наземную разведку начали уже 27 апреля, начав с территории АЭС, а затем распространив свою деятельность на всю зону, а также районы, расположенные за её пределами. Количество контролируемых точек только на АЭС увеличилось с 29 до 750 три раза в сутки. В 86 и 87 годах выделялось в среднем от 80 до 180 дозоров для контроля на машинах БРДМ-1РХ и БРДМ-2РХ (для тех, кто хочет чуть подробнее познакомиться с БРДМ — проходите сюда). Машины выезжали из лагеря, расположенного за пределами десятикилометровой зоны и следовали к точке начала маршрута разведки. От точки начала они следовали по точкам, заданным в маршруте. По прибытии на точку из БРДМа высаживались дозиметрист и командир машины. Они производили замер около земли (он так и назывался «земля»), а также на высоте в метр (это называлось «фон»). После этого машина двигалась к следующей точке. В зонах с очень высоким загрязнением обычно мерили из машины, либо замеряли с одной стороны следа, а потом подъезжали и замеряли с другой стороны.

БРДМ-2РХБ. Такое ощущение, что снято вооружение и одно из выдвигаемых колёс. На второй фотке на его фоне фотографируются разведчики в Припяти

Маршруты часто накладывались друг на друга, особенно летом, когда в силу общего снижения радиационного фона стали доступны новые области. После завершения маршрута БРДМ отправлялся на ПуСО – пункт специальной обработки, там машины мыли, дезактивировали и отправляли на базу либо, в случае невозможности дезактивации до должного уровня (обычно на каждом ПуСО, в зависимости от удаления от реактора, был свой уровень допуска) машина сначала отправлялась на площадку отстоя техники, где её радиоактивность постепенно снижалась, а потом либо на базу, либо на могильник. Точнее, так должно было быть. Сергей Мирный, химик-разведчик, в своих воспоминаниях писал, что обычно разведчики ПуСО избегали. Был риск остаться без машин, а пешком на такую разведку ходить, да по таким обширным территориям… Зона отчуждения ведь большая – радиус 30 км, а значит диаметр – все 60. А ведь следы выходили далеко за пределы этого круга, их тоже надо разведать и мониторить, чернобыльской радиацией загрязнило территорию Украины, Белоруссии (практически 1/5 территории) и РФ, а что-то дошло даже до США.

ПуСО


Но это будет позже, а пока после первичной разведки нужно было выяснить, идёт ли реакция? Эта информация была необходима для принятия дальнейших решений – ведь если реакция идёт, то она неуправляема, а значит её нужно срочно прекращать. Занялись выяснением военные. Они отправились к блоку на бронемашине, оснащённой датчиком присутствия нейтронных полей. Их результаты оказались неутешительными – поля есть, а значит, реакция активно идёт. Это требовало проверки, и к блоку на той же машине отправился академик Легасов. Он пришёл к выводу, что те потоки, которые уловили датчики военных – это не нейтронные излучения от работающего реактора, а гамма-излучение от обломков здания, реактора, да даже от земли. Учёные решили тогда оттолкнуться от другого – о ходе реакции могли свидетельствовать не только нейтронные потоки, но и наличие в воздухе короткоживущих изотопов йода – йод-181 и йод-184 в соотношении не в пользу долгоживущих элементов. Довольно быстро стало ясно, что это не так, количество короткоживущих изотопов быстро снижается, а значит, реакция не идёт. Тем не менее, учёные не исключали сохранения части кладки, достаточной для того, чтобы в нём шла самоподдерживающаяся цепная реакция. Впрочем, такая часть кладки долго существовать не могла. Она бы очень быстро разрушилась из-за перегрева.


Но где же, чёрт его подери, топливо?! Сколько его выбросило, а сколько осталось внутри? Что происходит шахте реактора, да и существует ли реактор вообще? Эти сверхважные вопросы волновали всех, так как без достоверных ответов на них нормально проводить ликвидацию невозможно. Теоретический ответ на второй вопрос подготовили уже к лету. Для этого произвели целый ряд различных анализов. По предварительным прикидкам, за пределы блока выбросило всего около 4%, причём из этих 4% некоторая заметная часть дальше станции не улетела. Внутри же осталось 96%. Позже эти расчёты были подтверждены экспериментально.


Поиск топлива в итоге отложили на более поздний срок, а пока были куда более насущные задачи. Предполагая, что на месте бывшего реактора сейчас нечто расплавленное и неохлаждаемое, учёные пришли к выводу, что если конструкции реакторного помещения в силу тех или иных причин разрушатся (не выдержат новой нагрузки или же проплавятся), то расплавленная масса упадёт в заполненные водой бассейны-барботёры, что приведёт к мощному взрыву и новому заражению местности. Кроме того, существовали опасения, что расплав может попасть вообще на фундаментную плиту, которая такой температуры могла не выдержать. В этом случае существовал риск попадания сверхрадиоактивной массы в грунтовые воды – это совсем нехорошо, ведь тогда всё это попадёт в реку Припять, а через неё – в Днепр. Работа с обеими проблемами началась в первой половине мая. И вот здесь между разными источниками начинаются разночтения в точных датах.

На схеме обозначениями ББ-1 и ББ-2 маркируются оба бассейна-барботёра, а 305/2 — это подреакторное помещение. Эта схема ещё появится позже, можете не запоминать особо. На следующих двух фото — внутренности обоих бассейнов с находящимися в них топливосодержащими материалами. Они тоже появятся попозже. Цифры: 1 - пемзообразные ЛТСМ, 2 - бетон 1986 г, 3 - паросбросные трубы, 4 - пароотводные трубы.

Просто так откачать воду из бассейнов-барботёров было нельзя, так как их задвижки опорожнения в последний раз открывались при монтаже. Была идея расстрелять бассейны, находившиеся на уровне земли, расстрелять из самоходки ИСУ-152, даже проверяли на недостроенном пятом энергоблоке, однако пробитие стен достигнуто не было, так что отказались и вернулись к мысли открыть задвижки опорожнения. По данным “Союза Чернобыль” выполнить эту задачу поручили трём сотрудникам ЧАЭС - начальнику смены станции Борису Баранову и старшим инженерам Алексею Ананенко и Валерию Беспалову. Их снабдили гидрокостюмами, освещением (ибо света в этих помещениях, конечно, не было), приборами для измерения уровня радиации под водой, а также резервной группой. Баранов вывел группу на место, а Ананенко и Беспалов открыли задвижки. Убедившись, что вода пошла, все трое вернулись обратно. Через пару дней начальник смены блока Игорь Казачков с помощью измерительных приборов убедился в том, что бассейны-барботёры пусты.

Борис Баранов


Однако вода ушла в служебные соединительные помещения 3-4 блоков, которые представляли собой по сути единое здание. Жидкость откачивали военные, пожарная рота. Их было 11 человек под руководством капитанов Акимова и Зборовского. Ночью они в течение 24 минут проложили полтора километра труб, установили насосную станцию и начали откачку воды. И сразу же проблема – трубу передавила какая-то гусеничная машина, выполнявшая той же ночью какие-то замеры. Разрыв необходимо было немедленно заткнуть, бойцы снимали ОЗК, ремни, чтобы пережать течи и не допустить разлива радиоактивной воды. При этом насосная станция, которую расположили в закрытом помещении со сверхвысокой радиацией, постоянно глохла, и необходимо было её заново запускать. Спустя сутки её заменили. Основную массу воды за эти сутки откачали, бойцы получили высокие дозы, однако опасность взрыва и увода образовавшихся газов на Киев была ликвидирована.


По одним данным (в частности по документальной повести Ю.Щербака “Чернобыль”), работа группы Акимова и Зборовского продолжалась в течение ночи с 6 на 7 мая, следовательно группа Баранова работала раньше. По другим (в частности, так говорит ресурс “СоюзЧернобыль”), группа Баранова выполнила свою миссию 15 мая, а значит сдвигается и дата работы группы Акимова и Зборовского. Однако если вспомнить, что к 10 мая завершились операции по тампонированию реактора, к 1 мая, как считается, горящий графит наконец потух, а также принимая во внимание нижеописанные факты, я склонен считать более реальной версию с ранним завершением истории с водой из бассейнов-барботёров, то есть к 7 мая.


Что же касается охлаждения реактора снизу, то сначала решили заморозить грунт под фундаментом, создать там сплошной ледогрунтный массив. Специалистами в этой области были киевские метростроевцы. Им и поставили задачу пробурить несколько горизонтальных скважин под блоком, дабы эту заморозку осуществить. Сказано-сделано. Хотя тут надо отметить, что опыта горизонтальной заморозки метростроевцы не имели.


Пятого-шестого мая в район аварии начали прибывать метростроевцы и их оборудование. Сначала нужен был котлован, дабы под защитой третьего блока, где уровни радиации были относительно низкими, начать бурение. И уже при выкапывании котлована начались проблемы. Наткнулись на плиты, оставшиеся со времён строительства блоков – они были опорой кранов. Кое-как их вытолкали бульдозером. Приступили к бурению – и опять плита. Бур сломан. Плиты эти на схемах отмечены не были, их после строительства загнали в грунт да и забыли. В дело пошёл второй станок. Он наткнулся на щебень под плитой и сломался. Приняли решение бурить на метр глубже. Здесь уже пошло лучше. Пробурили 108 метров, однако дальше бур пошёл тяжело. Работы остановили, так как грунт отличался, а значит, равномерной заморозки не выйдет. Что делать?


Фото 1: Метростроители. Хорошо видны элементы колец туннеля. Фото 2: Шахтёры. Фото 3: В шахте, снова видны те самые кольца. Фото 4. Примерная схема строительства плиты.

На помощь призвали шахтёров. Пришла мысль – сделать ещё одну железобетонную плиту под уже существующей. В чём особенность? В плите были предусмотрены туннели и трубы, через которые предполагалось подавать жидкий азот, дабы охлаждать реактор. Что ж, метростроевцы достаточно быстро свернулись, на месте до 15 числа остались лишь их руководители – старшие инженеры, маркшейдеры. Они должны были объяснить прибывающим с Донбасса, Кривбасса, Мосбасса шахтёрам, где, что и как бурить. Работу выполняли активно, однако к июлю реактор начал затухать и охлаждаться, а потому его охлаждение уже не требовалось. Уже готовые туннели и скважины начали заливать бетоном, так как новая фундаментная плита всё же требовалась. Условия в тех шахтах и котловане были адскими: жара, забирающая и так мизерное количество свежего воздуха, высокий общий радиационный фон с отдельными очагами с мощностью дозы в 400-800 Р/ч.


А пока велись эти работы, над шахтёрами уже ходили люди. Да. Внутри аварийного блока. И не просто ходили, а работали. Их задачей было выяснение температуры расплавившегося реактора, ведь без этой информации нельзя было начать работу по строительству укрытия блока, да и работа шахтёров была не то чтобы бессмысленной, но слепой. Для температурных экспериментов необходимо проделать отверстия в стене бассейна-барботёра, дабы туда могли попасть работники ИАЭ и Института физики АН УССР. Делали эти отверстия с помощью специальных резаков, прожигавших бетонную стену толщиной с рост невысокого человека (1.6 м). К концу мая отверстия были сделаны. Замеры назначили на 29 мая, к этому времени приготовили уже оборудование для проведения эксперимента. Основной задачей было протянуть от БЩУ-3 до бассейна-барботёра через коридоры с огромным загрязнением, сложную систему люков, проходов и лазов тяжёлый толстый кабель. Фактически, путь через два энергоблока. К тому моменту, как провод и датчики были доставлены на третий блок, сварщики завершали резку труб, находившихся в соседнем с бассейном помещением. Из этого помещения предполагалось через отверстие ставить штанги с датчиками таким образом, что они упирались в потолок бассейна-барботёра. В само помещение бассейна залезать было категорически нельзя, там слишком высокий фон из-за находившихся внутри радиоактивных материалов.

…когда мы начали разгружать кабель, оказалось, что катушку нельзя пронести через дозиметрические стойки коридора, идущего вдоль первого и второго блоков. Черт знает что. Возник легкий переполох, но потом был найден довольно изящный выход: решили кабель размотать на шесть-семь бухт, катушку выбросить, каждому человеку надеть на себя эту бухту - как альпинисту в связке - и тащить ее. Кабель толщиной миллиметров 25, страшно тяжелый.


И потащили мы его, как бурлаки на Волге. На каждого приходилось килограммов по 40. Процессия была - обхохочешься. Первым шел Виктор Гаврилюк. Он бывший десантник, физически сильный, тренированный, очень большой юморист и весельчак. Потом шел Алик Никонов, а я замыкал. Расстояние между нами было метров десять. Кабель волочился по полу. Ну а самый был смех, когда мы побежали по тому коридору, где высокий уровень. Это картина! Сначала решали, как бежать: в ногу или не в ногу. Потом Витя Гаврилюк говорит: "Пошли вы… туда-то и туда-то. Главное, чтобы никто не упал, а в ногу или не в ногу - не имеет значения". Пробежали мы там совсем немного… невозможно… Тяжело очень. Пришлось просто быстро идти.


На БЩУ-3 отрубили прямо топором кусок двери и втащили кабель.


Когда вниз тащили кабель, к барботёру, - это была дьявольски тяжелая работа. Проложить вверх-вниз по такой пересеченке 360 метров кабеля, нигде его не порвать, не перегнуть - это… Замучились мы страшно с этим кабелем. А тянули мы сразу не один, а три кабеля. И когда мы наконец подошли к помещению перед барботером, откуда вышли эти ребята-сварщики, замученные, страшно злые, и сказали: "Все. Мы свое дело сделали. Теперь вы…"


Валентин Шаховцев, замдиректора института физики АН УССР, цитируется по документальной повести Юрия Щербака «Чернобыль»

Температуру необходимо было узнать к 19:00 29 мая. Однако сначала надо было замерить температуру потолка бассейна-барботёра, а затем рассчитать реальную температуру по ту сторону потолка. Исходя из этих данных можно было понять, проплавит ли кориум (от английского слова core – ядро, здесь - расплавленная активная зона) бетон или нет. В 16:00 приступили к установке непосредственно датчиков. Достаточно быстро завершили установку, проверили, вернулись назад, запустили… И тут сработал общий закон Мёрфи: если что-то может пойти не так – обязательно пойдёт. Система-то заработала, да только температуру не давала – оказался неисправен цифровой вольтметр. Его быстро заменили и получили данные. Затем сотрудники ИАЭ во главе с академиком АН СССР Евгением Павловичем Велиховым, руководившим оперативной группой Курчатовского института, провели расчёты, пока приблизительные. Результаты обнадёживали – самого страшного произойти не должно, температура кориума слишком мала для проплавления бетона.


Охота на слоновью ногу


Само топливо ещё предстояло найти. В первые несколько недель думали, что основную массу выбросило в машзал. В пользу этого свидетельствовало, например, высочайшее его загрязнение. Однако это необходимо было проверить. В ИАЭ быстро изготовили специальные детекторы для «топографической» съёмки с вертолётов. Измерения быстро показали, что топлива там нет, а если и есть, то это мельчайшие частицы, то есть всё же не то, что искала Оперативная группа курчатовцев. Проводилсь и другие эксперименты, направленные, в том числе, на поиск топлива, например, эксперимент с опусканием с вертолёта термопары в развал реактора, о котором я уже рассказывал. Однако результаты этих экспериментов не удовлетворяли учёных. Что делать?


Внутрь блока пошли люди. Они искали и топливосодержащие материалы, и следы закидывавшихся с вертолётов мешков. И вот в какой-то момент, в июне исследователи в одном из помещений наткнулись на очень мощный источник излучения – свыше 3000 Р/ч (реальное число прибор показать не мог, это был предел его измерения, а стрелка ушла в зашкал). Возможно, это топливо? Пока понять это было нельзя – попасть в это помещение (оно имело индекс 217/2 и являлось коридором обслуживания) было пока невозможно.


Однако учёные не отчаивались и перешли к другим насущным задачам. Поход, в ходе которого обнаружили «светящее» помещение, был не первым и не последним. Постепенно на планах блока стали появляться отметки об уровнях загрязнения в различных помещениях. Одновременно с этим через каналы бывшей СУЗ предлагалось провести диагностику радиационного состояния блока. Эта диагностика помогла найти самое грязное место – подреакторное помещение 305/2, которое, как выяснится позже, после взрыва объединилось с шахтой реактора, так как нижняя биологическая защита взрывом была проломлена. Похоже, что основная масса топлива оказалась именно там.


Но требовалось контролировать и состояние шахты реактора. Для этого была начата программа «Буй». Символичное название, как, впрочем, и множество других, связанных с ЧАЭС. Суть состояла в том, чтобы вокруг развала реактора с вертолётов и кранов установить специальные буи в форме усечённого конуса, оснащённые различными детекторами. Эти комплексы датчиков предполагалось связать кабелями с помещениями, где установлена регистрирующая аппаратура. Изначально установка велась с вертолётов, которые ставили конус весом 300 кг в нужную точку в реакторном зале (одной из таких точек стала вставшая на бок верхняя биологическая защита – Схема «Е»), после чего протянуть кабель до помещения с ЭВМ. Перед ним на улице кабель отцеплялся от вертолёта и вручную заносился внутрь. Спустя какое-то время этим стали заниматься подъёмные краны, что позволило повысить точность установки. Всего в работу было включено 15 буёв со 160 различными детекторами. Эксплуатация большинства приборов длилась до сентября 1986 года, когда их кабели были отрезаны ради строительства Саркофага. Но один буй, стойкий радиационный солдатик за номером 11, проработал до ноября. Данные гласили, что в развале реактора активность и температура снижались монотонно, что прямо свидетельствовало о том, что цепной реакции нет, а значит, дальше всё будет значительно проще.

Один из буев, поставленный на ребро схемы ’Е’. На втором фото — конструкция Буя: 1 – датчики плотности теплового потока; 2 – термометры; 3 – датчики мощности дозы гамма-излучения; 4 – анемометры; 5 – панели коммуникаций

В сентябре 1986 года учёные наконец смогли проникнуть в то самое помещение 217/2. Увидели они там живописную картину. В коридоре застыла большая чёрная капля со стеклообразной поверхностью. Подойти к ней было невозможно, по оценкам МЭД на поверхности составляла 8000 Р/ч. Похожа эта капля была на свинец, а потому именно за него её сначала и приняли. Эта капля получила наименование «Слоновья нога» - больно похожа была. Поначалу взять пробы не удалось. Дело в том, что не хватало мощности дрели, для неё Слоновья нога оказалась слишком твёрдой. Что интересно – дрель была самоходной и управляемой по проводам. Её установили на… детскую игрушку, танчик. В книге «Работы Курчатовского института, по ликвидации последствий аварии», написанной уже известным нам академиком Евгением Велиховым, а также другим работником ИАЭ, доктором физико-математических наук, участником ликвидации аварии Александром Боровым, приведено описание совершенно дикой попытки взять пробу:

Следующая попытка была произведена одним из военных, с неодобрением наблюдавшим за робкими усилиями науки... Никто не успел опомниться, как смелый офицер подбежал к «Слоновьей ноге» и начал бить по ней топором. Результаты оказались минимальными, если не считать его немедленного откомандирования из Чернобыля.

Ага, вот она, нога. Кстати говоря, в качестве пасхалки её реализуют в Сталкере, причём сразу в нескольких местах, в частности, в лаборатории на Агропроме. На фото 2 и 3 показаны кадры ноги с разных углов, она в обоих случаях маркирована цифрой 1. При этом на фото 2 виден её металлический блеск. Эти кадры появятся позже, тогда же расшифруем остальные цифры. На фото 4 снова нога, но спустя 10 лет. Видны следы постепенного изменения её состояния.

Реально пробы смогли взять только в 1988 году, для этого пришлось пойти на нестандартные решения, но об этом позже.


Источник: https://vk.com/wall-162479647_48920

Автор: Александр Старостин. Альбом автора: https://vk.com/album-162479647_257670646

Личный хештег автора в ВК - #Старостин@catx2, а это наш Архив постов. Январь 2020

Показать полностью 18
397

Чернобыль ч.7.1. Война с радиацией

Автор: Александр Старостин.

В предыдущих сериях:

Чернобыль ч.1. РБМК-1000

Чернобыль ч.2. Чернобыльский край

Чернобыль. ч.3. Терминологическая справка

Чернобыль ч.4. Авария

Чернобыль ч.5. Вне АЭС

Чернобыль ч.6.1. Горячий расплав против холодной логики

Чернобыль ч.6.2. Горячий расплав против холодной логики

Саркофаг


Впервые идея накрыть аварийный блок прозвучала из уст академика Велихова ещё в мае, однако в начале месяца было не до того. Проектирование Объекта «Укрытие», как его назвали официально, началось 20 мая. Однако реально его концепцию закончили согласовывать только в июле. Проработали 18 вариантов. ТЗ вообще только 12 августа утвердили. Оно и понятно, необходимо как можно быстрее закрыть висевший у всех бельмом на глазу разлом, источавший из себя радиоактивные материалы. Основным подрядчиком стало минсредмаш СССР, научным руководителем – вездесущий ИАЭ.

Необходимо было закрыть все развалы и провалы, причём неважно чем – бетоном, грунтом или тяжёлыми экранами – лишь бы радиация сидела внутри. Остановились, впрочем, на монолитном бетоне, как на самом удобном материале. Исходя из этого и начали проектные работы. Сложностей была масса, ведь состояния конструкций блока не знал никто. Внутрь ходило множество экспедиций, которые искали топливо, изучали внутреннее загрязнение. Ещё одной их задачей стала разведка состояния конструкций блока.


На фоне будущего Саркофага

Сооружение Саркофага начали с так называемых пионерных стен высотой 5.75 м на северной стороне и 8.4 м на западе и юге. Их задачей было отсечь высокорадиоактивные обломки стен от людей, дабы они могли работать на саркофаге. На севере пионерную стену дополнили каскадными стенами высотой по 12 метров. Всё это позволяло обеспечить биологическую защиту на самой загрязнённой части. Защищался блок и с востока – монолитная защитная стена, отделившая блок №3 от блока №4, была вообще самой первой. Её толщина составляет 2.3 м. Западная стена была закрыта новой стеной и усилена контрфорсами высотой в 50 метров. Стена эта стальная, при этом внутри она должна была быть полностью забетонирована, а потому внутренняя сторона от коррозии защищена не была. В реальности средняя высота бетона – 2 метра, остальная часть открыта и активно подвергается коррозии.

Северная стена не просто так была каскадной. Такая схема позволяла, во-первых, захоронить внутри кучу выброшенного на улицу радиоактивного хлама, служившего ещё и для укрепления этой стены, а во-вторых, она позволяла постепенно подбираться ближе к разлому, уменьшая размеры крыши будущего Укрытия. В верхней части стены расположились пустотелые металлические секции, усиленные контрфорсами.

На фото 2-4 строительство каскадной стены на разных этапах.

Фото 5 — знаменитая западная стена с контрфорсами во всю её высоту, именно на неё открывается вид со смотровой площадки ЧАЭС.

На фото 6 — какая-то балка, судя по всему одна из балок для перекрытия.

На фото 7 — элемент кровли. Его же, полагаю, помогают направить строители на фото 8.

На фото 9 — третья каскадная стена во время её строительства

Отдельная история – строительство перекрытия. Для возведения новой крыши над бывшим реактором необходимо было установить несколько новых балок. Балки эти были огромными и тяжёлыми, а ставить их было нужно на конструкции непонятного состояния. Начнём с ближней к машзалу балки Осьминог. Она на себе держит часть новой стены, закрывающей разрушенную деаэраторную этажерку сбоку. На эту стену опирается и кровля, соединяющая стену со следующей балкой – балкой Мамонт. Балку Осьминог установили на старые строительные конструкции, которые были сильно деформированы, а потому состояние их вызывало вопросы. Вообще всё здание блока по 45 и 46 осям было словно разжато в бок. Это хорошо видно на макете станции, выполненном Вадимом Тупчим. Для укрепления балку Осьминог привязали тросами к другим строительным конструкциям столь же сомнительного состояния.

Тот самый макет. Особое внимание обратите в правую часть — можно увидеть искривление конструкций блока. А вот здесь можно посмотреть часовое видео в никудышном качестве (потому что ещё 2003 года), где академик К.Чечеров рассказывает о разрушении здания 4-го энергоблока на примере этого макета


Одной из таких конструкция стала юго-западная опора балки Мамонт. Эта опора стояла на засыпке из щебня и мешков с водой и цементом и представляла из себя металлическую ферму. На востоке Мамонт опирался на новую опору, которая имела внешнюю металлическую облицовку, а внутри должна была быть полностью забетонирована. В реальности же это не так. Во время строительства в целях экономии решили внутрь засыпать вместе с бетоном поролоновые маты, которые бы частично заполняли конструкцию этой опоры. Всё бы ничего, да только маты начали сыпать ещё до того, как бетон нормально схватился, и они прошли сквозь него, попав в фундамент будущей опоры, а часть вообще вышла за её пределы. Мало того, при заливке пожалели цемента, так что восточная опора балки Мамонт стоит на песчано-поролоновом основании.

Блок балок Б1-Б2, на котором должно было держаться горизонтальное перекрытие развала реактора, тоже опирается на конструкции, которые были выполнены не так, как должны были. На юго-западе изначально планировали опираться на стену по оси 50 (сейчас она прикрыта западной контрфорсной стеной), однако оказалось, что стена эта сильно повреждена и опорой служить не может. Что делать? Построили новую опору. Эта опора должна была быть аналогичной восточной опоре балки Мамонт. Здесь бетона вроде бы не пожалели, однако он через разломы уходил внутрь здания, так что балка опирается на металлические листы, которые частично залиты бетоном. На востоке же блок балок опирается на сохранившиеся оригинальные стены вентиляционных шахт.

Украдено из ЖЖ М.Мировича. 1.Балка Б1 (Балка Б2 находится за ней).

2. Трубный накат кровли.

3. Верхняя часть стены по оси 50, усиленная "корсетом".

4. Выхлопная шахта.

5. Балка "Мамонт".

6. Задняя опора балки "Мамонт".

7. Восточная опора балки "Мамонт".

8. Балка "Осьминог".


Боковое перекрытие (которое не над развалом реактора) – это металлические листы, опирающиеся на вышеназванные балки. А вот по центру крыша слоёная. На балках уложен трубный накат – всего 27 труб длиной 34.5 м и толщиной 1220 мм. На них уютно расположилась металлическая крыша.

Отдельно новой кровлей закрыли повреждённую крышу машзала.


Так ставились бетононасосы при строительстве Саркофага.

На фото 2 — процесс бетонирования.

Фото 3 и 4 — немецкие бетононасосы Putzmeister и Schwing

К слову о бетоне. В Зоне до взрыва работал один цементный завод, но после аварии пришлось срочно возвести ещё три. Саркофаг требовал на себя его несметное количество, а значит нужно было также найти и огромное количество транспорта. Поскольку техника изнутри Зоны наружу выезжать не могла, то были оборудованы спецплощадки для перегрузки бетона, завозимого с Большой земли.


Фото 1 — станция переливания бетона из самосвалов в КамАЗы-мешалки.

Фото 2 — КамАЗ с мизерным количеством свинца.

Фото 3 — специально переоборудованные КрАЗы со свинцовыми кабинами

Бетонные стены строились методом дистанционного бетонирования. На место будущих стен устанавливались специальные блоки, в которые с расстояния 150-200 метров подавался бетон. Строительные конструкции ставились зарубежными кранами Демаг и Либхер, некоторые из которых оборудовались телевизионным управлением. К работе привлекались работники большинства строительных предприятий минсредмаша, а также военные. На строительство столь сложной и необычной конструкции в столь сложных условиях ушло всего 5.5 месяцев (конец мая – ноябрь 1986 года). Это, несомненно, не имеющие аналогов показатели. Несмотря на все свои проблемы, Саркофаг – это уникальное сооружение.

Увы, со строительством Саркофага, точнее, с его завершением связан трагический эпизод. 2 октября в 17:30 один из Ми-8, пролетая над Укрытием и митингом в честь завершения строительства одной из его стен с целью рассеивания дезактивирующего раствора, зацепил хвостовым винтом трос одного из кранов. На глазах у ликвидаторов машина рухнула прямо рядом с машзалом. На борту находилось четыре человека — капитан Владимир Воробьёв (командир экипажа), старлеи Александр Юнгкинд и Леонид Христич (штурман и борттехник соответственно) и старший прапорщик Николай Ганжук (по одним данным находился на борту по просьбе атомщиков, по другой версии, решивший «подскочить на попутке» на оперативный аэродром). Все они погибли. Вдвойне трагично, что Воробьёв вернулся из Афганистана, где выполнил 646 боевых вылетов с налетом 417 часов, был сбит, единственный из всего экипажа выжил, хотя и с тяжёлыми травмами, после чего добился восстановления в лётной работе. В декабре 2017 года на кровле машзала нашли крупный обломок хвоста машины.

Момент крушения вертолета

Источник: https://vk.com/wall-162479647_50415

Автор: Александр Старостин. Альбом автора: https://vk.com/album-162479647_257670646

Личный хештег автора в ВК - #Старостин@catx2, а это наш Архив публикаций за февраль 2020

Показать полностью 21 1
Отличная работа, все прочитано!