
От винтов!
Нормальная вибрация
Время прочтения одна минута
Подобная вибрация, особенно незначительная вибрация во время зависания или на низких скоростях, считается нормальной для вертолетов с системой управления на серво-закрылках, таких как Kaman K-MAX.
У него отсутствует гидравлическая система и ручка циклического шага напрямую механически связана через гибкие стержни внутри лопастей с серво-закрылками на концах лопастей.
Поэтому все усилия и вибрации передаются непосредственно на органы управления.
Ослабление натяжения и/или крепления стержней является одной из причин усиления вибрации. Кроме того, ослабление и износ узлов крепления серво-закрылков, а также дисбаланс самих лопастей приводят к повышению уровня вибраций.
Продолжение поста «Что не так с Робинсонами?»1
Время прочтения четыре минуты







Завершено расследование уголовного дела в отношении пилота вертолета, чьи действия привели к авиационному происшествию. Мужчина обвиняется в совершении преступления, предусмотренного ч. 1.1 ст. 263 УК РФ (нарушение правил безопасности движения и эксплуатации воздушного транспорта, повлекшее по неосторожности причинение тяжкого вреда здоровью человека либо причинение крупного ущерба).
12.06.2024, в 19:15 местного времени (14:15 UTC)1, днем, при выполнении «обзорного» полета над рекой Билимбаевка (Свердловская область, г. о. Первоуральск, п. Билимбай) произошло АП с вертолетом R44 II RA-07358. На борту ВС находились КВС и пассажир (граждане России). В результате АП КВС и пассажир получили серьезные телесные повреждения, ВС существенно повреждено.
КВС при планировании полетов в воздушном пространстве класса G, в нарушение требований п. 124 ФП ИВП, уведомление на ИВП не подавал и выполнял полеты в воздушном пространстве класса G без уведомления органов обслуживания воздушного движения что, в соответствии п. 172 ФП ИВП, является нарушением порядка использования воздушного пространства..
Достоверно установить порядок проведения предполетной подготовки КВС и ВС не представляется возможным. История полета приводится из объяснений КВС и очевидцев. Перед полетом КВС самостоятельно оценил метеоусловия.
Согласно объяснениям КВС: «управлению вертолетом обучился самостоятельно на компьютерном симуляторе, с инструктором не занимался, документов на летную эксплуатацию не получал, с 2017 г. имею опыт управления вертолетом R44 II, практиковался самостоятельно». КВС профессиональную подготовку установленным порядком не проходил, соответствующего свидетельства специалиста авиационного персонала, выданного уполномоченным органом в области гражданской авиации, не имел.
При осмотре клиноременной передачи установлено, что два первых по полету ремня смещены на один паз шкива вперед, третий ремень разрушен.
На подшипниках МСХ обнаружены посторонние частицы.
На роликах МСХ также имеются механические повреждения в виде деформации и вырывов.
Комиссия также установила, что на подшипниках МСХ имеются коррозионные повреждения, полученные в нерабочем состоянии, что может свидетельствовать о нарушении правил хранения вертолета.
Согласно записям, в формуляре вертолета, последние работы на МСХ выполнялись 13.09.2012 специалистами компании Aircraft maintenance service в Федеративной Республике Германии.
Техническое обслуживание вертолета, после его сборки в Российской Федерации, выполнялось КВС самостоятельно.
КВС выполнял функции специалиста по техническому обслуживанию гражданского воздушного судна без прохождения подготовки.
Заключение
Причиной авиационного происшествия с вертолетом R44 II RA-07358 явился отказ трансмиссии, приведший к нарушению передачи мощности от двигателя на НВ и РВ, снижению вертолета и последующему столкновению его с деревьями и земной поверхностью. Отказ трансмиссии обусловлен нарушением в работе муфты свободного хода в результате выработки вала трансмиссии в зоне контакта с роликами муфты из-за попадания постороннего предмета. Наиболее вероятно, попадание постороннего предмета обусловлено недостатками в техническом обслуживании вертолета лицом, не имеющим соответствующей подготовки.
Источник - окончательный отчет МАК
Пуме - 60!



Aerospatiale SA 330 Puma
15 апреля 1965 года первый из двух прототипов «Пумы» поднялся в воздух.
Первая серийная «Пума» совершила свой первый полёт в сентябре 1968 года. И уже в начале 1969 года начались поставки во французскую армию.
Всего было выпущено около 700 вертолётов различных модификаций.
На сегодня 100 вертолётов еще находятся в эксплуатации.
На конец 2024 года суммарный налёт парка составил более 4 миллионов часов.
Оторвавшийся винт с редуктором
Время прочтения чуть более одной минуты
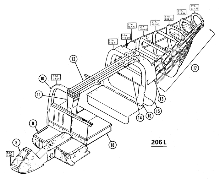
Из Гудзона достали винт с редуктором вертолета Bell 206L-4 LongRanger IV, потерпевшего катастрофу 10 апреля 2025г. в Нью-Йорке.
Из фото становится ясно, что при катастрофе несущий винт отделился в воздухе вместе с редуктором и подредукторной рамой.
На втором фото более чётко идентифицируется потолочная балка, номер 12 на схеме ниже, элемент силового набора фюзеляжа, который передним концом крепится к шпангоуту 10 и центральной колонне 11, а задним к шпангоутам 15 и 16.
Ниже фото редукторного отсека этой модели вертолета для наглядности.
Подобный характер разрушений является экстраординарным случаем и потребует тщательного расследования.
Косплей Тома Круза
Bell 407GXP.
Парень остался жив и был арестован.
Индия отказывается от восьмерок и будет делать Ейрбасы
Время прочтения около двух минут
Airbus Helicopters подписала контракт с Mahindra Aerostructures — дочерней компанией индийского промышленного гиганта Mahindra & Mahindra на производство фюзеляжей для лёгкого одномоторного вертолёта H130.
Таким образом Mahindra Aerostructures продолжает укрепление своих позиций в мировой аэрокосмической индустрии. В портфеле компании уже есть заказы от Boeing и Dassault Aviation, а теперь и Airbus Helicopters.
Источник
Индусы были одними из крупнейших покупателей российских вертолётов, а теперь сделали очередной шаг по дистанцированию от российский вертолётной техники.
Не так давно они уже отморозились от громкой сделки по производству у себя вертолётов Ка-226 на $1 млрд. Как собственно и от самих вертолётов Ка-226.
Подробнее в сообществе:
Производство Ка-226Т - всё?
В Индии уже производили фюзеляжи AS550/AS350 и нынешний контракт является логическим продолжением полувекового сотрудничества с Eurocopter.
А еще раньше индусы отказались от продолжения поставок Ми-17В-5,. Контракт на $1,3 млрд был заключен в 2008 в году, а потом был расширен еще на полсотню машин на сумму $1,1 млрд.
С начала контракта был поставлен 121 вертолёт Ми-17В5.
Всего Индия эксплуатирует более 300 вертолётов Ми-17 различных модификаций.
Уверяется что отказ от продолжения поставок не связан с войной или санкциями и отмена тендера произошла в рамках поддержки национальной программы по производству вертолётов средней грузоподъемности «Делай в Индии» (Make in India).
HAL уже достаточно давно ведёт разработку собственного вертолёта IMRH взлетным весом 13 тонн для замены индийских Ми-17, начало вывода из эксплуатации которых запланировано на 2028 год.
Белка на острие
Eurocopter AS350 B3e Ecureuil (фр. белка).














