
Блог электрика
Снова про Святое Пятно
Противники клемм Wago и прочих зажимных клемм говорят про «Малое пятно контакта». Пояснить, каким это пятно должно быть, и дать нужное по их мнению значение в мм2, противники Wago не могут. Это аргумент разбивается при просьбе сравнить это «пятно» с аналогичным «пятном» в автоматах.
"Секрет" в том, что небольшая площадь компенсируется силой прижатия и материалом покрытия контакта.
Но секта свидетелей пятна контакта никогда не сдаст своих позиций. Это религия, которая к знанию не имеет никакого отношения. Сектанты не понимают, что место соприкосновения двух цилиндров (круглые проводники) - это точка. Место соприкосновения цилиндра (проводника) с плоскостью (поверхность любого плоского зажима) - точка. Площадь такой точки исчисляется микрометрами. Количество таких точек ни рассчитать заранее, ни посчитать позже невозможно.
Возможно ли реализовать некое контактное соединение, где площадь святого пятна будет равна, как минимум, площади поперечного сечения проводника? Нет, но у адептов получается.
Глубина контактного гнезда зажима Ваго - 10 мм. Глубина контактного гнезда модульного автоматического выключателя - 12 мм. Вы вставляете в гнездо проводник любого допустимого сечения и, о чудо!, площадь святого пятна во всех случаях будет условно одинакова (!). И ведь всё работает.
Скрутка - другое дело! Почему? Потому что скрутка! И не спорьте. :) Ведь существуют строго охраняемые скрижали, на которых "первый электрик" (не Адам, конечно) начертал правила монтажа скруток. Там написано (цитирую): "пятно будет огого". Осталось перевести несистемную единицу измерения "огого" в удобоваримые единицы площади поверхности.
Возьмём другой пример. Болтовой наконечник имеет широкую лопатку. Святое пятно, надо полагать, просто огромное ("огого"), что не может не радовать адептов секты. Что происходит в случае ослабления силы прижима наконечника к шине, например. Нагрев, конечно, от которого никакое пятно любого размера не спасёт. Но это сложное размышление...
Wago. «Температурная усталость» прижимной пружины
Те, кто не верит в немецкую инженерную мысль, говорят так: "Пружинный контакт ваго ни когда не создаст постоянного-плотного прижимания поверхности проводника к токоведущей жиле, и со временем качество контакта будет только хуже, а если присутствует небольшой перекос или мех.напряжение в контакте-то тем более."
Я не могу понять. Мне одному единственному доступны каталоги и технические описания на изделия WAGO? Я уверен, немецкие инженеры не только читали учебники, но и провели эксперименты, чтобы найти нужный термостойкий термонезависимый материал для клеммы.
Пожелание: отличайте немецкий оригинал Wago от СМК, купленного в Леруа.
Борн. Просто Борн
"Идентификация БОРНА"
"Саныч, тут шильдик закрашен! Какие обороты были у этой развалюхи?!
- В Борне глянь, вдруг написано!" -сыматриде гудожездвенный вильм "идентификация БОРНА" 🤣
"Превосходство БОРНА"
"Михалыч, тут провод перебит, может скрутку по- быстрому, движок-то мелкий?
-Какая скрутка? Делай по- человечески! Заводи в Борно!"
"Ультиматум БОРНА"
"Саныч, на клеммник вода капает...
-Не клеммник, а Борно!
-Но ведь нет такого в стандарте...
-В стандарте нет, а на заводе есть! Щас резиной закроем."
"Уничтожение БОРНА"
"Михалыч, тут на Борно лом уронили...
-Эх... Помянем. Давай на скрутках пока что ли..."
"Воскрешение БОРНА"
"Саныч, я на тот двигатель Борно сварил из пятёрки, клеммник текстолитовый нашёл, пошли ставить?
-Непременно, с Борном завсегда лучше!"
Прислал Константин Чистяков.
А вы как называете это - Барно, борно, клеммная коробка, или как-то по другому?
100% безопасность обеспечена!
Предлагаю радикальное решение. Опасность возгорания здания - несёт ЛЮБАЯ электропроводка. Просто по факту своего существования.
Выход - прост: сделайте дом без электропроводки!
То есть: все светильники - снаружи (сами знаете, как фонари в окна светить умеют), вся бытовая техника - на улице (телевизор можно и в окошко посмотреть!... опять же: на подоконнике - отлично пиво или семечки разместиться могут), электрочайник - и на улице отлично вскипит... зато
ВАШ ДОМ НИКОГДА НЕ СГОРИТ ПО ВИНЕ НЕИСПРАВНОЙ ЭЛЕКТРОПРОВОДКИ -
ЕСЛИ В НЁМ НЕ БУДЕТ ЭЛЕКТРОПРОВОДКИ!
Ну и ещё ПЕЧЬ на улице поставить (лучше - за забором): ваще риск пожара снизится до нуля!
А ведь котельная сделана отдельным зданием - это давно уже никого не удивляет... да и отдельное строение-кухня - тоже.
А ещё - отдельные гараж, конюшня, баня... горничная , конюх и кочегар.
Все лампы (даже керосиновые) - строго вне дома.
Слово "световод" - вам, надеюсь, уже известно?
Думаете, лучше пользоваться лучиной? На редкость глупая идея: "лучина" = "открытый огонь в жилом помещении"! Чего бы не "газовой горелкой" тогда? Или про "газовый свет" - забыли?
И ведь я перечислил далеко не все проблемы, которые могут прийти в жилище "с дальнего конца кабеля"... поэтому надёжнее всего (с точки зрения всех пожаро- и электробезопасностей) - не иметь электропроводки в жилом доме вообще. Разве не логично?
В конце концов: человеку требуется не "электричество" само по себе - а свет, тепло/холод, вакуум/давление... а проводка - это всего лишь "способ подвести энергию к преобразователям из электричества в нужное физическое явление"!
Грубо говоря: если человек сможет окно открыть в нужную ему точку пространства (где требуемая освещённость и необходимая температура нужной по составу атмосферы) - то электрогенерация с ЛЭП и проводкой (со всеми трансформаторами, подстанциями, УЗО, дифавтоматами, ) этому человеку вообще не потребуются...
А если серьезно: Если проводку сделать правильно ни каких пожаров и проблем, проблемы начинаются там где
1;начинают экономить ,
2; работу доверяют не компетентным "электрикам" , типа а всегда так делал и всё работает,
3; не соблюдают правила эксплуатации, превышают установленную мощность.
Но проблемы со "сделать правильно и никаких проблем" - всё те же:
1. "коротнуть" может даже самая-самая дорогая из всех возможных кабельная продукция - производственный брак никто отменить не может;
2. "компетентность электриков" ВСЕГДА И ВЕЗДЕ выясняется только задним числом (гарантий на будущее в стиле "а если вдруг проведённая нами проводка загорится - то мы умрём в огне и дыме вместо вас и ваших домочадцев!" - никто не даст);
3. и даже "соблюдать правила эксплуатации" со своей стороны кабеля - вам ничем не поможет: у кабеля есть ДРУГОЙ КОНЕЦ - и "с той стороны" могут накосячить так, что никакие автоматы (даже самые-самые дорогие, качественные и быстродействующие) вас не спасут. От слова "совсем".
===
Зато: если в доме вообще нет электропроводки (всё электрическое - "свет", "вакуум", "холод", "тепло" - в отдельном нежилом строении) - никаких проблем с электропроводкой у вашего жилища ГАРАНТИРОВАННО никогда не случится!.
А свет ("телевизор" - тоже к "свету" относится) - можно поставлять в жилые помещения по совершенно безопасным (с точки зрения пожаро- взрыво- электро- безопасности) световодам, вакуум (пылесос) и тепло (отопление) с холодом (кондиционирование) - по трубам...
КАК ГОВОРИТСЯ - ЕСЛИ У ВАС НЕТУ ТЁТИ ТО ВАМ ЕЁ И НЕ ПОТЕРЯТЬ...
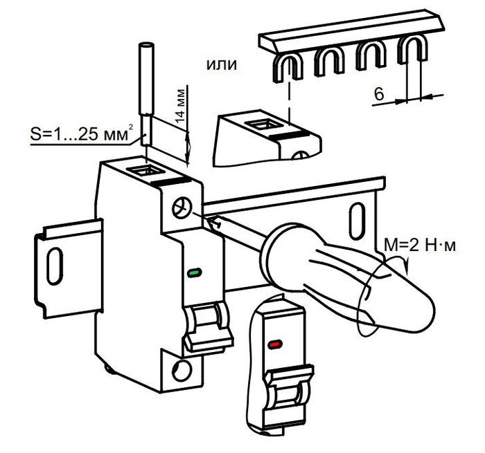
Правильно подключаем PIN гребёнку к автоматам
В электрощитах часто используется схема, когда после одного ВДТ (УЗО) фазный провод идёт на несколько автоматов. Что делать, подключать перемычками с наконечниками? Долго, трудоемко, и часто неэстетично. Поэтому прекрасный выход – гребенчатая PIN шина (так называемая «гребёнка»). Многие мастера это знают.
Но не многие знают, что такую шину нельзя подключать обычным проводом, даже с наконечником. Прямого запрета, конечно, нет, но подключение будет «кривым» во всех смыслах, поскольку наконечник будет изгибаться и подламываться.
Можно, конечно, срезать колпачок (юбку) НШВИ, но это не наш метод.
Чтоб всё было правильно и красиво, профи используют специально изогнутую вводную клемму для PIN шин.
Как правильно и как неправильно – на фото.
UPD. Дополнение про вилочную шину FORK
Большинство модульных автоматических выключателей, которые сейчас выпускает промышленность имеют возможность соединения шиной FORK. Это неплохой вариант.
При соединении автоматических выключателей этой шиной контактное гнездо остаётся полностью свободным для подключения проводников с любым типом наконечника.
Тип ВДТ. Что лучше выбрать – А или АС?
Если хотите сделать современный и максимально безопасный электрощит – при выборе ВДТ (УЗО) на групповые линии выбирайте тип А. Не нужно экономить и ставить устаревший и запрещенный в некоторых странах тип АС, который срабатывает только на переменную составляющую.
Тип А реагирует не только на переменный дифференциальный ток, но и на импульсный ток с постоянной составляющей, который может появиться при неполадках в блоке питания бытовых электронных устройств. А значит, с ВДТ типа А ваша безопасность будет выше.
Поэтому рекомендую не экономить, и для защиты групповых линий устанавливать только ВТД либо АВДТ типа А. Примеры на фото.
Поделитесь в комментариях, вы уже перешли на тип А?














